Скачать ГОСТ 17601-90 Сепараторы центробежные судовые. Приемка и методы испытаний

Дата актуализации: 01.01.2021

ГОСТ 17601-90

Сепараторы центробежные судовые. Приемка и методы испытаний

Обозначение: ГОСТ 17601-90
Обозначение англ: GOST 17601-90
Статус:взамен
Название рус.:Сепараторы центробежные судовые. Приемка и методы испытаний
Название англ.:Marine centrifugal separators. Acceptance and methods of tests
Дата добавления в базу:01.09.2013
Дата актуализации:01.01.2021
Дата введения:01.01.1991
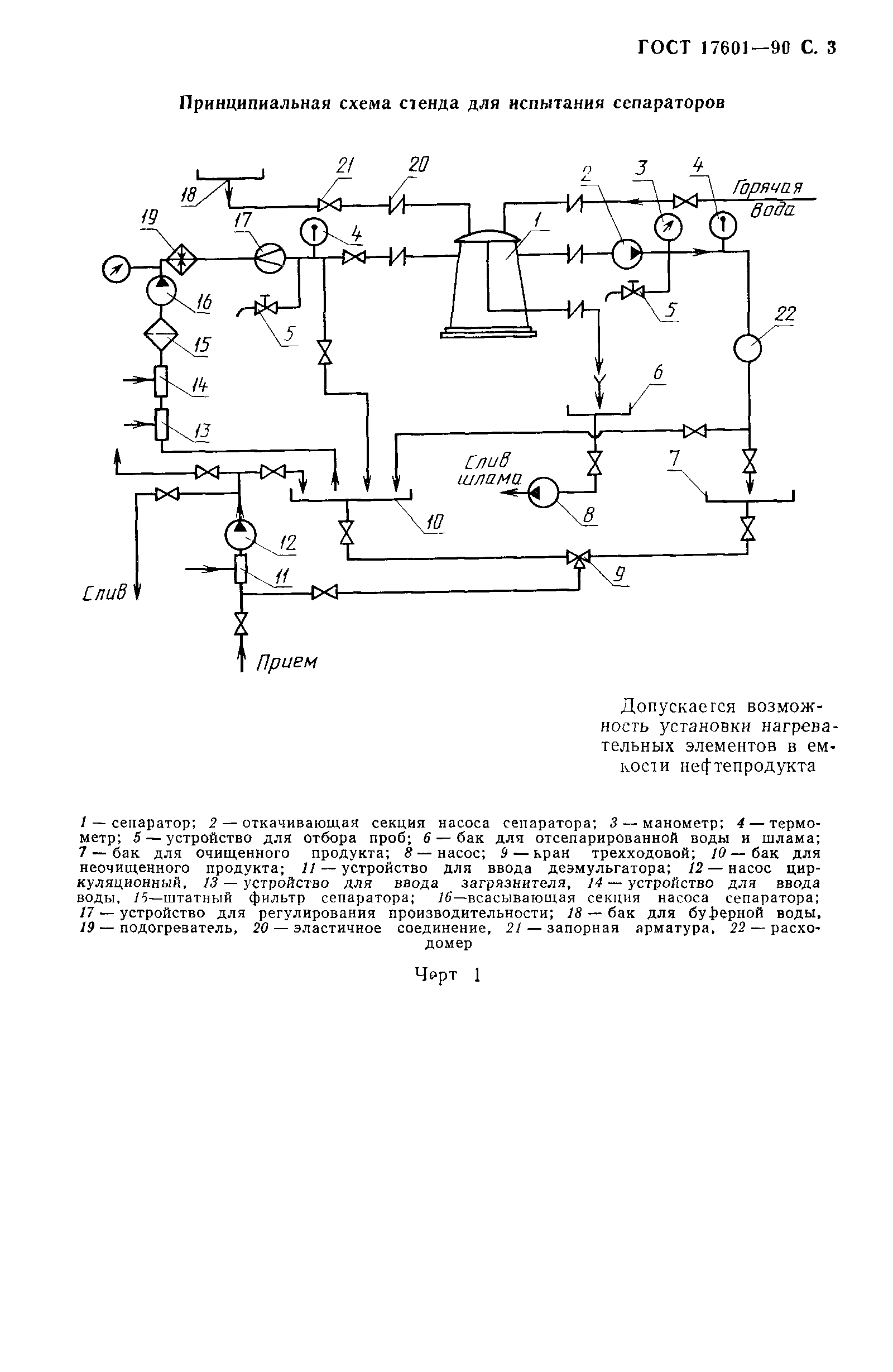
Область применения:Стандарт устанавливает порядок приемки и методы контрольных стендовых испытаний центробежных сепараторов топлива и масла, предназначенных для установки на кораблях, судах и плавсредствах.
Оглавление:1 Методы отбора образцов и виды испытаний
2 Требования к средствам испытаний
3 Требования к подготовке испытаний
4 Требования к проведению испытаний
5 Требования к обработке, оформлению и оценке результатов испытаний
Приложение 1 (обязательное) Устройство для отбора проб
Приложение 2 (обязательное) Устройство для ввода загрязнителя и воды в нефтепродукт
Приложение 3 (обязательное) Приготовление загрязнителя
Приложение 4 (обязательное) Физико-химические показатели нефтепродуктов, определяемые перед испытаниями
Приложение 5 (обязательное) Номограмма вязкость - температура
Приложение 6 (рекомендуемое) Номограмма для определения производительности судового центробежного сепаратора
Приложение 7 (рекомендуемое) Номограмма для определения производительности дозерного насоса
Приложение 8 (обязательное) Определение содержания общих механических примесей
Приложение 9 (обязательное) Определение содержания органических и неорганических примесей
Приложение 10 (обязательное) Колориметрический метод определения содержания нефтепродуктов в отсепарированной воде
Приложение 11 (обязательное) Весовой метод определения содержания нефтепродуктов в отсепарированной воде
Приложение 12 (обязательное) Определение размеров частиц механических примесей
Утверждён:28.02.1990 Государственный комитет СССР по управлению качеством продукции и стандартам (USSR National Committee on Standards and Product Quality Management 307)
Издан: Издательство стандартов (1990 г. )
Заменяет собой:
  • ГОСТ 17601-72 «Сепараторы центробежные судовые. Методы стендовых технологических испытаний»
  • ГОСТ 17602-72 «Сепараторы центробежные судовые. Методы стендовых механических испытаний»
Нормативные ссылки:
ГОСТ 17601-90ГОСТ 17601-90ГОСТ 17601-90ГОСТ 17601-90ГОСТ 17601-90ГОСТ 17601-90ГОСТ 17601-90ГОСТ 17601-90ГОСТ 17601-90ГОСТ 17601-90ГОСТ 17601-90ГОСТ 17601-90ГОСТ 17601-90ГОСТ 17601-90ГОСТ 17601-90ГОСТ 17601-90ГОСТ 17601-90ГОСТ 17601-90ГОСТ 17601-90ГОСТ 17601-90ГОСТ 17601-90ГОСТ 17601-90ГОСТ 17601-90ГОСТ 17601-90ГОСТ 17601-90ГОСТ 17601-90ГОСТ 17601-90ГОСТ 17601-90ГОСТ 17601-90ГОСТ 17601-90ГОСТ 17601-90ГОСТ 17601-90ГОСТ 17601-90ГОСТ 17601-90ГОСТ 17601-90ГОСТ 17601-90ГОСТ 17601-90ГОСТ 17601-90ГОСТ 17601-90ГОСТ 17601-90ГОСТ 17601-90ГОСТ 17601-90ГОСТ 17601-90