Скачать ГОСТ 24679-81 Гидрораспределители золотниковые четырехлинейные на Рном до 32 МПа. Технические условияДата актуализации: 01.01.2021 ГОСТ 24679-81
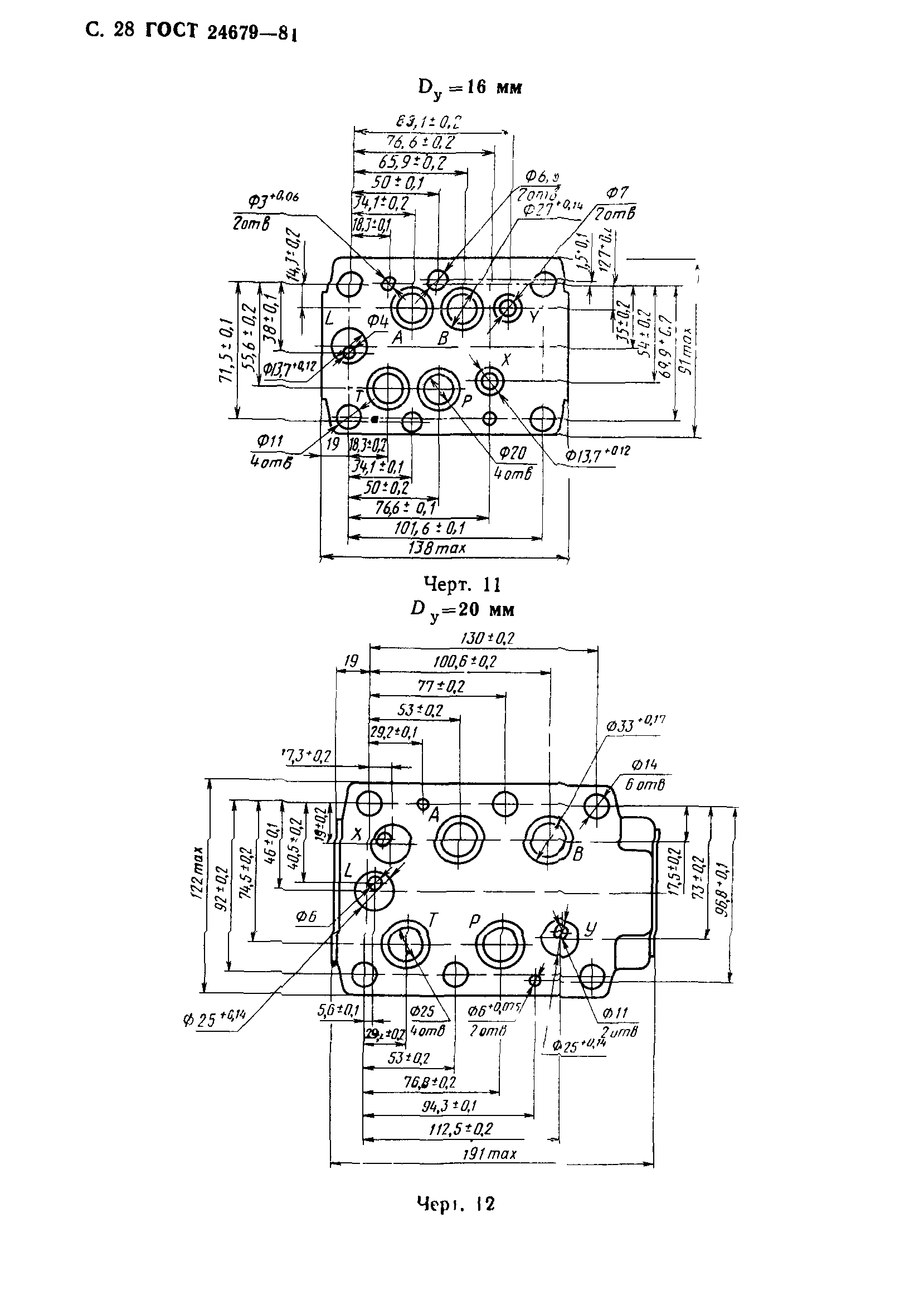
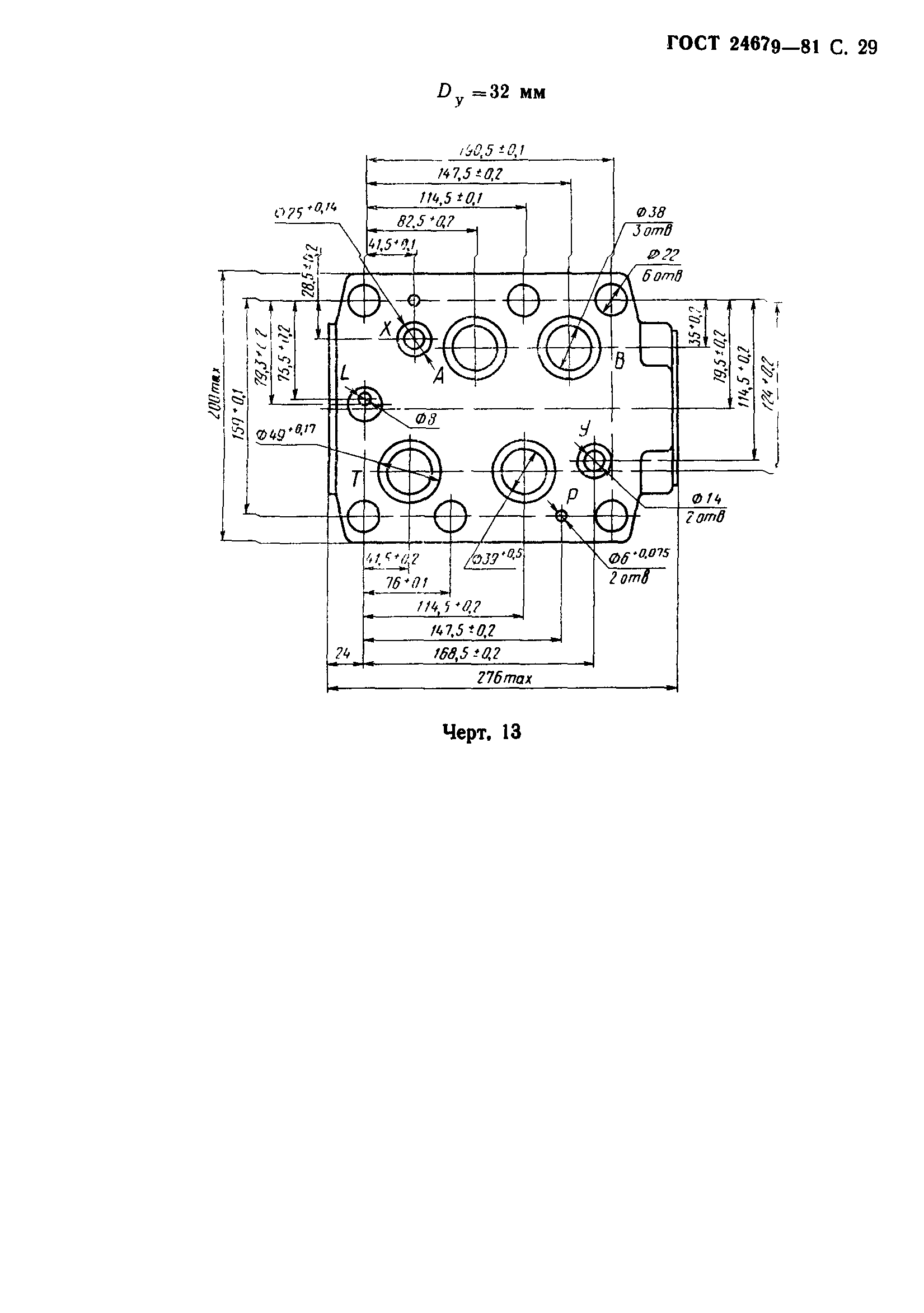
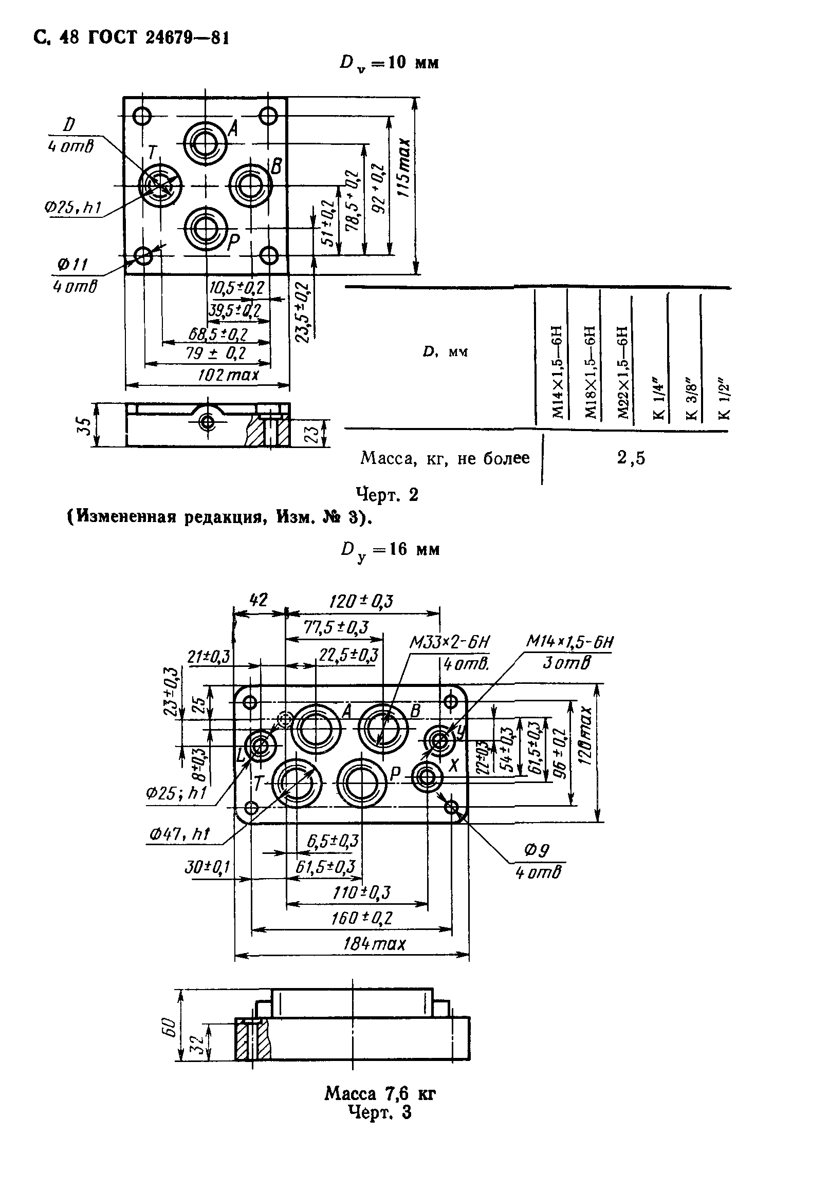
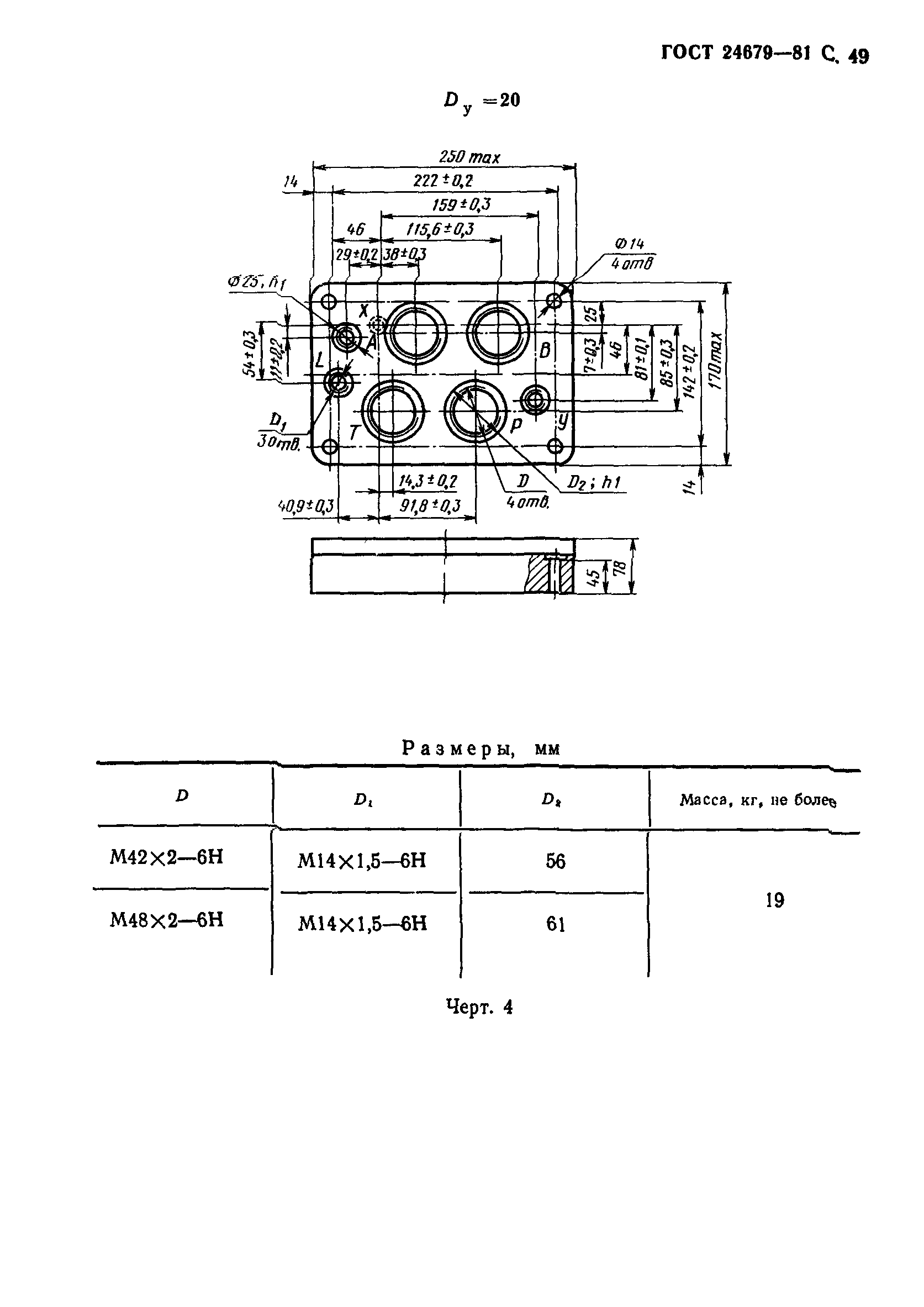
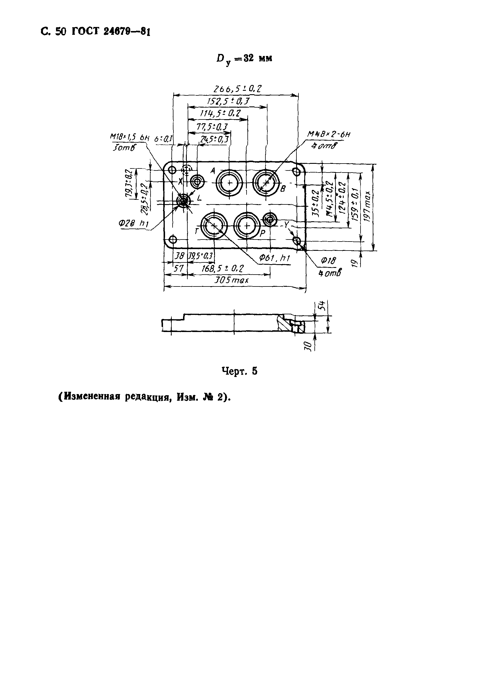
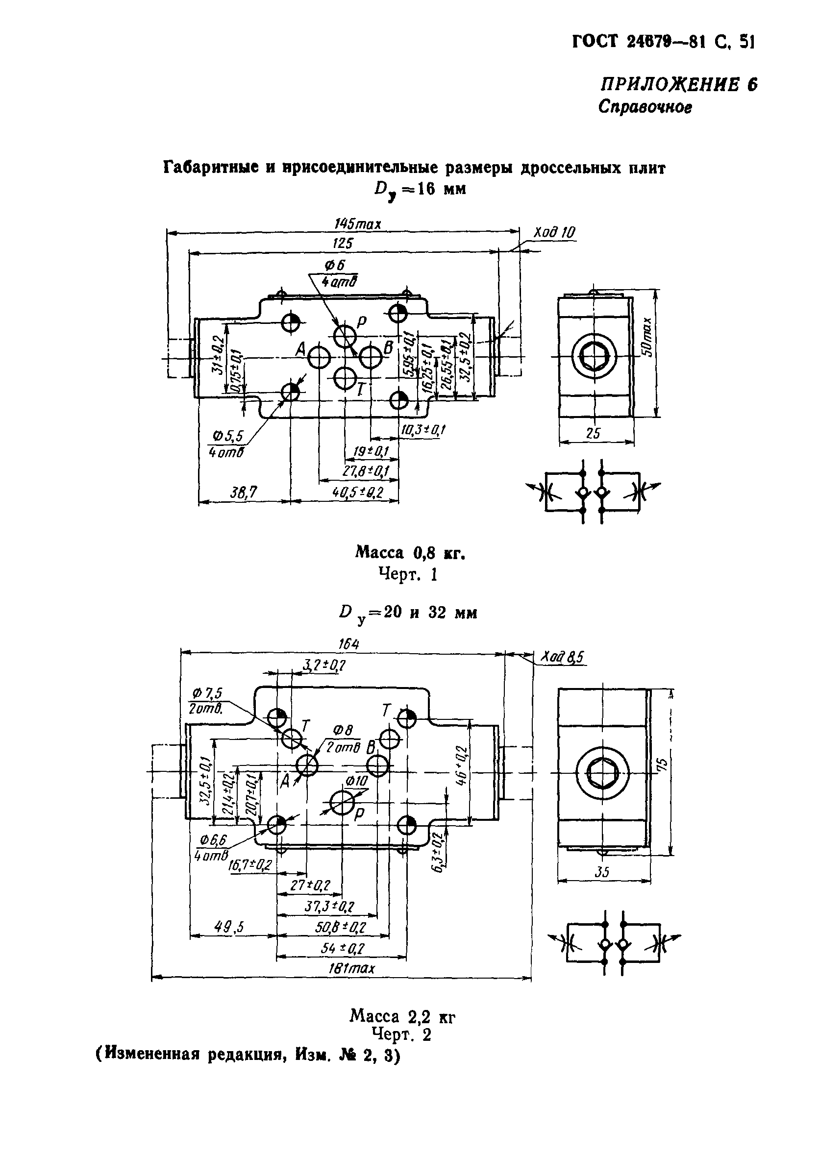
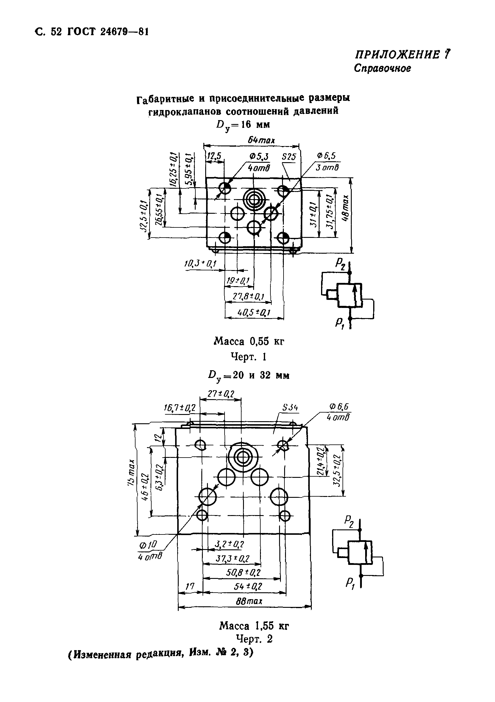
Гидрораспределители золотниковые четырехлинейные на Рном до 32 МПа. Технические условия| Обозначение: | ГОСТ 24679-81 | | Обозначение англ: | GOST 24679-81 | | Статус: | введен впервые | | Название рус.: | Гидрораспределители золотниковые четырехлинейные на Рном до 32 МПа. Технические условия | | Название англ.: | Hydraulic four-way distributers for nominal pressure 32 Mpa. Specifications | | Дата добавления в базу: | 01.09.2013 | | Дата актуализации: | 01.01.2021 | | Дата введения: | 01.01.1984 | | Область применения: | Стандарт распространяется на золотниковые четырехлинейные гидрораспределители типа В на Рном до 32 МПа (320 кгс/см кв.) со стыковым присоединением, предназначенные для гидроприводов станков, прессов и других стационарных машин, работающих при температуре окружающей среды от +1 до +55 град. С на минеральных маслах с кинематической вязкостью от 10 до 400 мм кв./с (сСт) и температурой от 0 до +70 град. С, изготовляемые для нужд народного хозяйства и для экспорта. Допускается работа гидрораспределителей на рабочей жидкости промгидрол при температуре от 1 до 60 град. С | | Оглавление: | 1 Исполнения, основные параметры и размеры 2 Технические требования 3 Требования безопасности 4 Комплектность 5 Правила приемки 6 Методы испытаний 7 Маркировка, упаковка, транспортирование и хранение 8 Указания по эксплуатации 9 Гарантии изготовителя Приложение 1 Графики зависимости перепада давлений от расхода рабочей жидкости гидрораспределителей Приложение 2 Характеристика отечественных электромагнитов для гидрораспределителей с электромагнитным управлением Приложение 3 Структура условного обозначения исполнений гидрораспределителей Приложение 4 Приложение 5 Габаритные и присоединительные размеры присоединительных плит Dy=6 мм Приложение 6 Габаритные и присоединительные размеры дроссельных плит Dy=16 мм Приложение 7 Габаритные и присоединительные размеры гидроклапанов соотношений давлений Приложение 7а Удельная масса гидрораспределителей | | Разработан: | Министерство станкостроительной и инструментальной промышленности СССР
| | Утверждён: | 06.04.1981 Государственный комитет СССР по стандартам (USSR National Committee on Standards 1811)
| | Издан: | Издательство стандартов (1981 г. ) Издательство стандартов (1991 г. )
| | Нормативные ссылки: |   ГОСТ 15150-69 «Машины, приборы и другие технические изделия. Исполнения для различных климатических районов. Категории, условия эксплуатации, хранения и транспортирования в части воздействия климатических факторов внешней среды»  ГОСТ 15151-69 «Машины, приборы и другие технические изделия для районов с тропическим климатом. Общие технические условия»  ГОСТ 9.032-74 «Единая система защиты от коррозии и старения. Покрытия лакокрасочные. Группы, технические требования и обозначения»  ГОСТ 20245-74 «Гидроаппаратура. Правила приемки и методы испытаний»  ГОСТ 22976-78 «Гидроприводы, пневмоприводы и смазочные системы. Правила приемки»  ГОСТ 12.2.040-79 «Система стандартов безопасности труда. Гидроприводы объемные и системы смазочные. Общие требования безопасности к конструкции»  ГОСТ 12.2.086-83 «Система стандартов безопасности труда. Гидроприводы объемные и системы смазочные. Общие требования безопасности к монтажу, испытаниям и эксплуатации» ГОСТ 14254-80 «Изделия электротехнические. Оболочки. Степень защиты. Обозначения. Методы испытаний»  ГОСТ 15108-80 «Гидроприводы объемные, пневмоприводы и смазочные системы. Маркировка, упаковка, транспортирование и хранение»  ГОСТ 15841-88 «Ящики деревянные для продукции сельскохозяйственного и тракторного машиностроения. Технические условия»  ГОСТ 16517-82 «Гидроаппаратура. Общие технические требования» ГОСТ 16536-90 «Ящики деревянные для продукции автомобильной промышленности. Технические условия»  ГОСТ 16962.1-89 «Изделия электротехнические. Методы испытаний на устойчивость к климатическим внешним воздействующим факторам» ГОСТ 16962.2-90 «Изделия электротехнические. Методы испытаний на стойкость к механическим внешним воздействующим факторам» ГОСТ 17216-71 «Промышленная чистота. Классы чистоты жидкостей» ГОСТ 2.781-68 «Единая система конструкторской документации. Обозначения условные графические. Аппараты гидравлические и пневматические направляющие и регулирующие, приборы контрольно-измерительные»  ГОСТ 2991-85 «Ящики дощатые неразборные для грузов массой до 500 кг. Общие технические условия» ГОСТ 9833-73 «Кольца резиновые уплотнительные круглого сечения для гидравлических и пневматических устройств. Конструкция и размеры»
|
                                                       
|