Скачать ГОСТ 25531-82 Маслораспылители. Технические условия

Дата актуализации: 01.01.2021

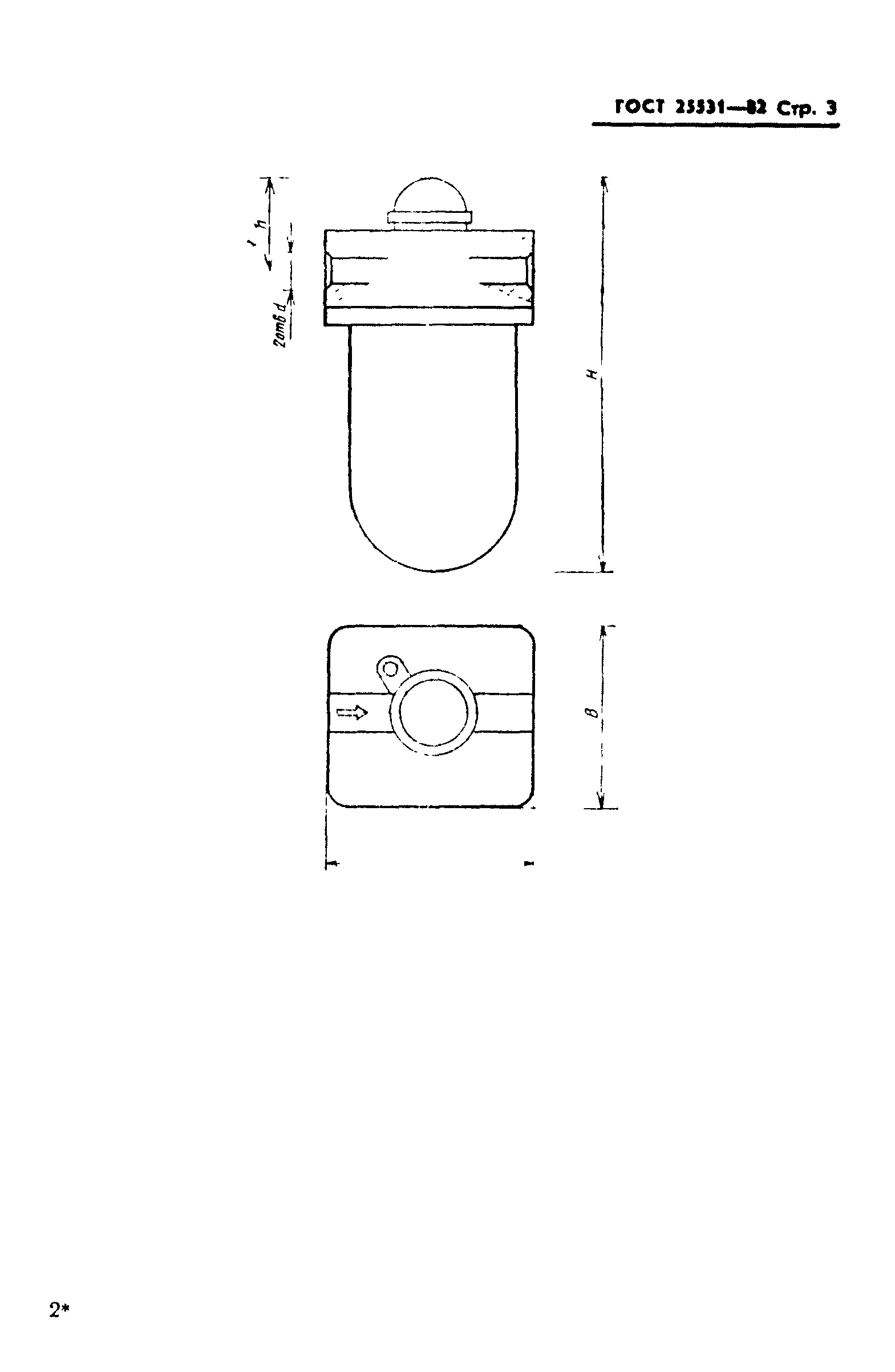
ГОСТ 25531-82

Маслораспылители. Технические условия

Обозначение: ГОСТ 25531-82
Обозначение англ: GOST 25531-82
Статус:только на территории рф
Название рус.:Маслораспылители. Технические условия
Название англ.:Lubricators. Specifications
Дата добавления в базу:01.09.2013
Дата актуализации:01.01.2021
Дата введения:01.01.1984
Область применения:Стандарт распространяется на маслораспылители, работаюшие при номинальном давлении 1,0 МПа, предназначенные для впрыскивания в сжатый воздух распыленного масла, смазывающего трущиеся поверхности пневматических устройств. Стандарт устанавливает требования к маслораспылителям, изготовляемым для нужд народного хозяйства и экспорта.
Оглавление:1 Типы, основные параметры и размеры
2 Технические требования
3 Требования безопасности
4 Комплектность
5 Правила приемки
6 Методы испытаний
7 Маркировка, упаковка, транспортирование и хранение
8 Указания по эксплуатации
9 Гарантии изготовителя
Приложение 1 (справочное) Определение расхода воздуха маслораспылителями в зависимости от давления
Приложение 2 (рекомендуемое) Схема стенда для определения перепада давления и подачи масла
Приложение 3 (рекомендуемое) Характеристики минеральных масел
Разработан: Министерство станкостроительной и инструментальной промышленности СССР
Утверждён:30.11.1982 Государственный комитет СССР по стандартам (USSR National Committee on Standards 4514)
Издан: Издательство стандартов (1983 г. )
Список изменений:
Нормативные ссылки:
ГОСТ 25531-82ГОСТ 25531-82ГОСТ 25531-82ГОСТ 25531-82ГОСТ 25531-82ГОСТ 25531-82ГОСТ 25531-82ГОСТ 25531-82ГОСТ 25531-82ГОСТ 25531-82ГОСТ 25531-82ГОСТ 25531-82ГОСТ 25531-82ГОСТ 25531-82ГОСТ 25531-82ГОСТ 25531-82ГОСТ 25531-82