Скачать ГОСТ 27120-86 Печи химических производств с вращающимися барабанами общего назначения. Основные параметры и размеры

Дата актуализации: 01.01.2021

ГОСТ 27120-86

Печи химических производств с вращающимися барабанами общего назначения. Основные параметры и размеры

Обозначение: ГОСТ 27120-86
Обозначение англ: GOST 27120-86
Статус:взамен
Название рус.:Печи химических производств с вращающимися барабанами общего назначения. Основные параметры и размеры
Название англ.:General purpose rotary drum furnaces for chemical plants. Basic parameters and dimensions
Дата добавления в базу:01.09.2013
Дата актуализации:01.01.2021
Дата введения:01.01.1988
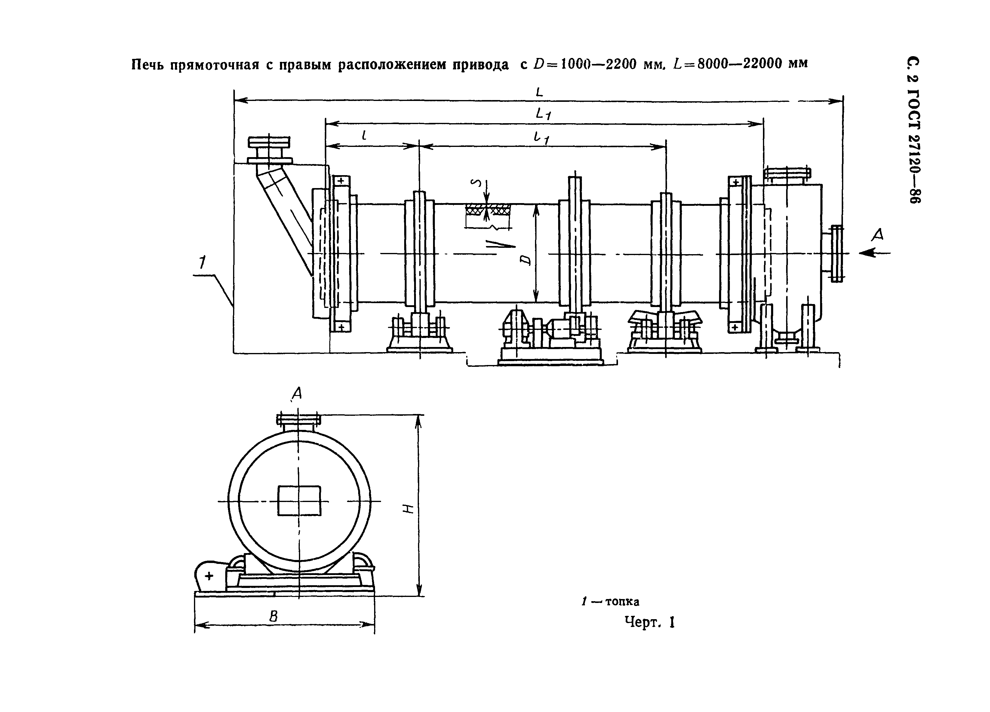
Область применения:Стандарт распространяется на прямоточные и противоточные печи химических производств с вращающимися барабанами общего назначения, предназначенные для обработки взрывобезопасных материалов, изготовляемые для нужд народного хозяйства и экспорта. Стандарт не распространяется на печи для цементной промышленности, печи с наружным обогревом и муфельные (в том числе с металлическим муфелем).
Разработан: Министерство химического и нефтяного машиностроения
Утверждён:27.11.1986 Государственный комитет СССР по стандартам (USSR National Committee on Standards 3575)
Издан: Издательство стандартов (1992 г. )
Заменяет собой:
  • ГОСТ 11875-79 «Аппараты с вращающимися барабанами общего назначения. Основные параметры и размеры» (в части печей)
Нормативные ссылки:
ГОСТ 27120-86ГОСТ 27120-86ГОСТ 27120-86ГОСТ 27120-86ГОСТ 27120-86ГОСТ 27120-86ГОСТ 27120-86ГОСТ 27120-86ГОСТ 27120-86ГОСТ 27120-86ГОСТ 27120-86ГОСТ 27120-86ГОСТ 27120-86ГОСТ 27120-86ГОСТ 27120-86ГОСТ 27120-86ГОСТ 27120-86ГОСТ 27120-86