Скачать ГОСТ 27381-87 Микропереключатели и микровыключатели. Общие технические условия

Дата актуализации: 01.01.2021

ГОСТ 27381-87

Микропереключатели и микровыключатели. Общие технические условия

Обозначение: ГОСТ 27381-87
Обозначение англ: GOST 27381-87
Статус:введен впервые
Название рус.:Микропереключатели и микровыключатели. Общие технические условия
Название англ.:Sensitive switches. General specification
Дата добавления в базу:01.09.2013
Дата актуализации:01.01.2021
Дата введения:01.07.1988
Область применения:Стандарт распространяется на контактные микропереключатели и микровыключатели, предназначенные для коммутации электрических цепей постоянного и переменного тока от 1*10 в ст. минус 6 до 10 А и напряжения постоянного тока от 1*10 в ст. минус 4 до 36 В мощностью 325 Вт и переменного от 1*10 в ст. минус 4 до 250 В мощностью 1000 В*А в радиоэлектронной аппаратуре, изготовляемые для нужд народного хозяйства и экспорта.
Оглавление:1 Основные параметры
2 Технические требования
3 Правила приемки
4 Методы контроля
5 Маркировка, упаковка, транспортирование и хранение
6 Указания по эксплуатации
7 Гарантии изготовителя
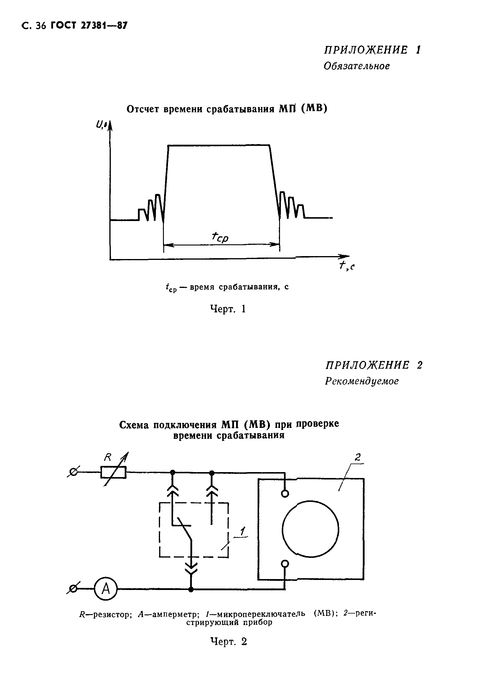
Приложение 1 (обязательное) Отсчет времени срабатывания МП (МВ)
Приложение 2 (рекомендуемое) Схема подключения МП (МВ) при проверке времени срабатывания
Приложение 3 (обязательное) Отсчет неодновременности срабатывания МП (МВ)
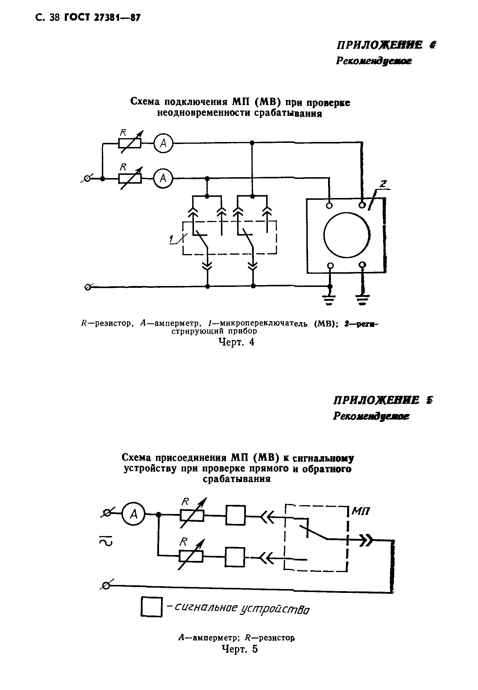
Приложение 4 (рекомендуемое) Схема подключения МП (МВ) при проверке неодновременности срабатывания
Приложение 5 (рекомендуемое) Схема присоединения МП (МВ) к сигнальному устройству при проверке прямого и обратного срабатывания
Приложение 6 (обязательное) Положения МП (МВ) при испытаниях на механические воздействия
Приложение 7 (обязательное) Схема подключения МП (МВ) при проверке электрического контакта при механических испытаниях на отсутствие замыкания замыкающих контактов
Приложение 8 (рекомендуемое) Рекомендуемая схема включения МП (МВ) в электрическую цепь при испытании на износоустойчивость
Утверждён:28.08.1987 Государственный комитет СССР по стандартам (USSR National Committee on Standards 3424)
Издан: Издательство стандартов (1988 г. )
Список изменений:
Нормативные ссылки:
ГОСТ 27381-87ГОСТ 27381-87ГОСТ 27381-87ГОСТ 27381-87ГОСТ 27381-87ГОСТ 27381-87ГОСТ 27381-87ГОСТ 27381-87ГОСТ 27381-87ГОСТ 27381-87ГОСТ 27381-87ГОСТ 27381-87ГОСТ 27381-87ГОСТ 27381-87ГОСТ 27381-87ГОСТ 27381-87ГОСТ 27381-87ГОСТ 27381-87ГОСТ 27381-87ГОСТ 27381-87ГОСТ 27381-87ГОСТ 27381-87ГОСТ 27381-87ГОСТ 27381-87ГОСТ 27381-87ГОСТ 27381-87ГОСТ 27381-87ГОСТ 27381-87ГОСТ 27381-87ГОСТ 27381-87ГОСТ 27381-87ГОСТ 27381-87ГОСТ 27381-87ГОСТ 27381-87ГОСТ 27381-87ГОСТ 27381-87ГОСТ 27381-87ГОСТ 27381-87ГОСТ 27381-87ГОСТ 27381-87ГОСТ 27381-87ГОСТ 27381-87ГОСТ 27381-87ГОСТ 27381-87ГОСТ 27381-87ГОСТ 27381-87ГОСТ 27381-87

Текстовое изменение № 1 от 01.06.2001

№ 1№ 1

Текстовое изменение Поправка от 01.11.1988

Поправка