Скачать РД 34.37.512-90 Методические указания по организации водно-химического режима энергоблоков СКД при аммиачно-гидразинном методе коррекционной обработки питательной водыДата актуализации: 01.01.2021
|
| Обозначение: | РД 34.37.512-90 |
| Обозначение англ: | RD 34.37.512-90 |
| Статус: | действует |
| Название рус.: | Методические указания по организации водно-химического режима энергоблоков СКД при аммиачно-гидразинном методе коррекционной обработки питательной воды |
| Название англ.: | Procedural Guidelines for Water Chemistry Management of Supercritical-Pressure Reactors Using Ammonia-Hydrazine Method for Correctional Treatment of Feed Water |
| Дата добавления в базу: | 01.09.2013 |
| Дата актуализации: | 01.01.2021 |
| Дата введения: | 01.01.1991 |
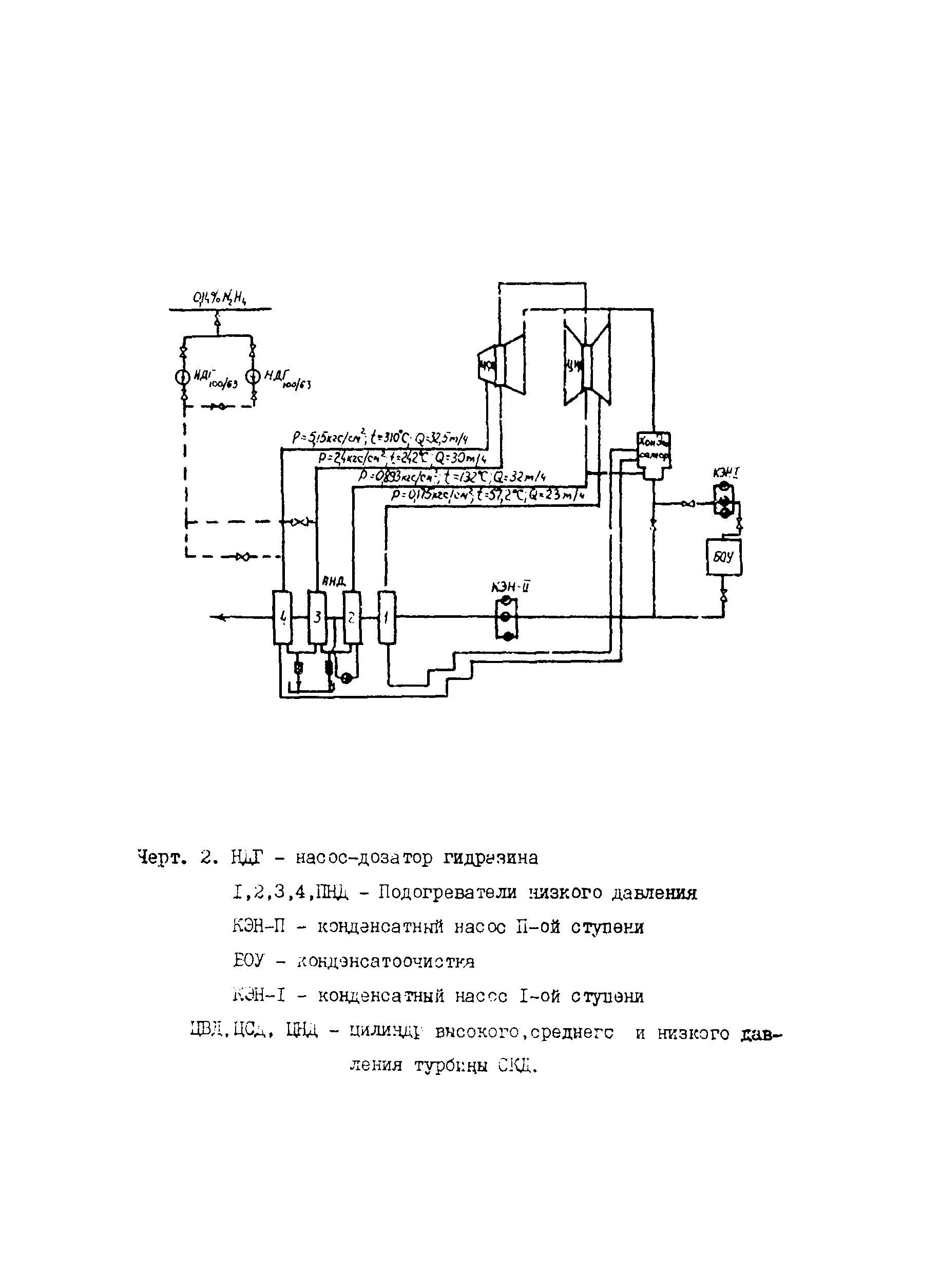
| Область применения: | Методические указания распространяются на энергоблоки сверхкритического давления, оборудованные подогревателями низкого давления с трубками из медесодержащих сплавов и устанавливают требования к ведению водно-химического режима при регулировании его с помощью аммиака и гидразин-гидрата. |
| Оглавление: | 1 Общие положения 2 Мероприятия по обеспечению надежного водно-химического режима 3 Организация водно-химического режима при пуске блока 4 Определение аварийных нарушений водно-химического режима энергоблока 5 Требования к проектированию средств обеспечения ВХР Приложение 1 Суточная ведомость химического контроля водно-химического режима при ведении его по автоматическим приборам Приложение 2 Перечень нормативно-технических документов, на которые сделаны ссылки |
| Разработан: | ВТИ |
| Утверждён: | 09.10.1990 Минэнерго СССР (USSR Minenergo ) |
| Издан: | ВТИ (1990 г. ) |
| Список изменений: | |
| Заменяет собой: |
|
| Нормативные ссылки: |
|







































Текстовое изменение № 1 от 01.01.2001

