МИНИСТЕРСТВО ЭНЕРГЕТИКИ И ЭЛЕКТРИФИКАЦИИ СССР
Главтехуправление
МЕТОДИЧЕСКИЕ УКАЗАНИЯ
ПО ОПРЕДЕЛЕНИЮ рН ПИТАТЕЛЬНОЙ ВОДЫ
прямоточных
котлов скд
В ПРЕДЕЛАХ ОТ 8,0 ДО 10,0
ЛАБОРАТОРНЫМИ рН-МЕТРАМИ
РД 34.37.308-90
Москва 1990
РУКОВОДЯЩИЙ ДОКУМЕНТ
|
МЕТОДИЧЕСКИЕ УКАЗАНИЯ |
РД 34.37.308-90 |
Срок действия с 01.07.91
до 01.07.2001
Настоящие Методические указания устанавливают правила отбора проб и измерения значения рН питательной воды прямоточных котлов сверхкритического давления в пределах от 8,0 до 10,0 лабораторными рН-метрами.
Измерение рН лабораторными приборами проводят при отказе в работе промышленных рН-метров на линиях питательной воды, а также в случае производственной необходимости измерений рН в водах, близких по химическому составу к питательной воде прямоточных котлов СКД, величины рН которых лежат в пределах от 8,0 до 10,0.
С момента ввода в действие настоящих Методических указаний утрачивает силу эксплуатационный циркуляр № Т-1/77 «О порядке определения рН в пределах от 8,0 до 10,0 питательной воды прямоточных парогенераторов сверхкритического давления (СКД) лабораторными рН-метрами» (М.: СПО Cоюзтехэнерго, 1977).
Иономер лабораторный типа И-130 или любой другой, имеющий в комплекте проточный электрод сравнения и метрологические характеристики не хуже И-130 (ГУ 25-0511.044-84);
проточная герметизированная ячейка измерительная (черт. 1);
термометр лабораторный TЛ-44А (В) со шкалой 0 - 50 °С и ценой деления 0,1 °С, диаметром не более 12 мм или аналогичный;
полиэтиленовые сосуды вместимостью не менее 2 дм3 для отбора проб. Они должны быть оборудованы так, чтобы предупредить контакт содержащейся в них жидкости с атмосферой (черт. 2);
склянка CНT по ГОСТ 25336-82, которая должна быть использована для очистки воздуха, необходимого для вытеснения пробы в измерительную ячейку (черт. 3);
лабораторный кондуктометр типа КЭЛ-1м по ТУ 25-0519.010-82 или любой другой, имеющий в комплекте проточную ячейку и аналогичные метрологические характеристики;
капельница (черт. 4);
аммиак водный по ГОСТ 3760-79.

1 - корпус (органическое стекло); 2 - уплотняющие штуцера (органическое стекло, 3 шт.); 3 - пробка воздушника (органическое стекло, 1 шт.); 4 - прокладки (резина, 3 шт.); 5 - прокладка (резина, 1 шт.); 6 - экраны (сталь 1Х18Н9Т, 2 шт.); 7 - заглушка (органическое стекло, 1 шт.); 8 - штуцера (органическое стекло, 2 шт.); 9 - винты М1´10 (8 шт.).
Примечания: 1. Внутренний диаметр (d) прокладки 4 выбирают в зависимости от диаметра электродов и термометра.
2. Заглушку 7 вклеить после сверления отверстия диаметром 5 мм.
3. Штуцер 8 вклеить в корпус.
Черт. 1
Сосуд для отбора пробы
1 - полиэтиленовый сосуд; 2 - трубка для подвода анализируемой воды; 3 - трубка для отвода анализируемой воды; 4 - пробка; 5 - зажимы.
Черт. 2
Прибор для поглощения углекислоты
1 - склянка СПТ; 2 - зажим; 3 - патронная известь
Черт. 3
Капельница
1 - корпус; 2 - штуцер верхний; 3 - штуцер нижний.
Черт. 4
Поскольку питательная вода котлов СКД обладает высокой степенью чистоты и буферные свойства у нее практически отсутствуют, пробу отбирают в полиэтиленовый сосуд в объеме не менее 2 дм3, исключающий контакт с воздухом в процессе транспортировки пробы к месту измерения (черт. 2).
Для отбора пробы необходимо установить сосуд вблизи отборной точки, открыть зажимы и подсоединить трубку 2 к отборному патрубку, трубку 3 поместить в дренажное корыто. Пропустить через сосуд примерно 5 - 6 объемов отбираемой пробы, снять трубку 2 с патрубка и закрыть обе трубки зажимами.
Если отборные точки расположены в лаборатории, то отбор пробы в сосуд не ведут, а на отборной линии ставится капельница, как показано на черт. 5.
Установка для измерения рН в точке отбора
1 - вентиль; 2 - капельница; 3 - измерительная ячейка; 4 - рН-метр; 5 - слив.
Черт. 5
Скорость отбора устанавливают такой, чтобы в капельнице вода шла отдельными каплями, а не сплошной струей, что исключит электрический контакт между ячейкой и трубопроводом через отбираемую жидкость.
Подготовку к измерению, настройку и проверку рН-метра по стандартным буферным растворам ведут в соответствии с инструкцией завода-изготовителя.
Стеклянные электроды со временем теряют способность давать воспроизводимые результаты при измерении рН в жидкостях с разной температурой, поэтому их необходимо периодически проверять по методике, изложенной в обязательном приложении 1.
При настройке рН-метра и в дальнейшем при измерении рН пробы следует использовать только ручной термокомпенсатор, устанавливая ручку термокомпенсатора на давление, соответствующее температуре среды (буферного раствора или пробы). Когда настройка и проверка по заводской инструкции проведены, электроды и термометр устанавливают в проточной ячейке и еще раз проверяют их по буферным растворам. Для этого к проточной измерительной ячейке с помощью резиновой трубки присоединяют воронку, закрывают зажим на трубке слива, открывают пробку и заливают буферный раствор через воронку в ячейку, предварительно промытую этим же раствором (черт. 6). Уровень буферного раствора не должен быть выше уровня внутриэлектродной жидкости в измерительном электроде. Если нужно проверить прибор по нескольким буферным растворам, ячейку следует промыть обессоленной водой, очередным буферным раствором, затем измерить рН данного буферного раствора.
Проверка электродов по буферным растворам
1 - проточная ячейка; 2 - термометр; 3 - стеклянный электрод; 4 - электролитический ключ; 5 - рН-метр; 6 - пробка; 7 - воронка.
Примечание. «Экраны ячейки при работе должны быть заземлены.
Черт. 6
После проверки прибора по буферным растворам можно вести измерения.
Чтобы избежать ошибок, возникающих из-за загрязнения пробы за счет протока электролита через ключ и изменения рН раствора в приэлектродном слое за счет растворения мембраны электрода, все измерения ведут на протоке.
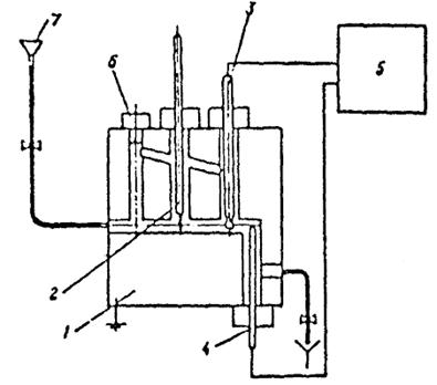
Для измерения рН питательной воды сосуд с пробой присоединяют к склянке СПТ и измерительной ячейке (черт. 7). Тщательно промывают ячейку пробой при открытой пробке 6 (черт. 6), пропуская не менее 0,2 дм3 пробы. Затем заполняют ячейку пробой так, чтобы закрываемая пробкой 6 узкая трубка была полностью заполнена жидкостью. Плотно завинчивают пробку и устанавливают скорость протекания пробы через ячейку примерно 20 см3/мин. После того, как через ячейку пройдет 0,5 дм3 пробы, не прекращая протока, фиксируют температуру пробы. При этом ручку термокомпенсатора устанавливают на деление, соответствующее этой температуре, и фиксируют значение рН на шкале прибора. Скорость протока пробы все время должна оставаться постоянной.
Установка для измерения рН
1 - поглотительная колонка; 2 - резиновая трубка, присоединенная к ячейке; 3 - резиновая трубка, присоединяемая к поглотительной колонке; 4 - сосуд с пробой; 5 - измерительная ячейка; 6 - рН-метр; 7 - слив
Черт. 7
При наличии точки отбора пробы в лаборатории измерительную ячейку через капельницу присоединяют непосредственно к точке отбора (черт. 5) и выполняют процедуру, описанную выше.
Питательная вода котлов СКД практически представляет собой сильно разбавленный раствор с преобладанием аммиака и угольной кислоты. При изменении температуры раствора из-за изменения констант диссоциации входящих в него веществ величина рН также будет значительно меняться. Поскольку нормированным является значение pН при 25 °С, все измерения рекомендуется проводить при температуре пробы 25 ± 1 °С. Если эксплуатационные условия не позволяют измерить рН питательной воды при 25 °С (pH25), допускается измерение рН в интервале температур пробы от 15 до 50 °С (pH1). Результаты этих измерений должны быть приведены к температуре 25 °С. Пересчет значения рН на значение рН'25 может быть выполнен с определенной ошибкой, которая, исходя из возможностей рН-метров, для дальнейших расчетов была принята равной 0,05.
Пересчет значения рН на значение рН'25 проводят по формулам
pН'25 = рН1 + К1(t - 25); (1)
pH'25 = pH1 + K2(t - 25); (2)
рН'25 = рH1 + 5К2 + К3(t - 30), (3)
где рН1 - значение рН, измеренное при температуре пробы; t - температура пробы, °С; K1, K2, К3 - коэффициенты пересчета, равные:
Температура пробы, °С Значение
K1 от 20 до 25 0,033
К2 от 25 до 30 0,032
K3 от 30 до 50 0,028
Значения рН, лежащие на кривых и выше (черт. 8), могут быть пересчитаны по формулам 1 - 3 с ошибкой, не превышающей 0,05 ед. рН, а лежащие ниже кривых - с ошибкой более 0,05 ед. рН.
В справочном приложении 2 помещена таблица поправок рН в зависимости от температуры пробы, которые определены по формулам 1 - 3.
Кривые, ограничивающие зону ошибок, не превышающих 0,05 ед. рН
Черт. 8
Зависимость рН питательной воды от температуры, если рН25 = 9,1 ± 0,1
Черт. 9
Для быстрой ориентировочной оценки правильности поддержания значения рН можно использовать кривые на черт. 9, где приведена зависимость рН питательной воды от температуры, если при 25 °С значение рН было равно 9,1. Приведены также ограничивающие кривые, соответствующие ± 0,1рН, т.е. пределам, установленным ПТЭ-89.
Для пользования этими кривыми при измерении рН должна быть точно зафиксирована температура пробы. На оси абсцисс от точки, соответствующей температуре пробы, восстанавливают перпендикуляр до пересечения с кривыми. Если измеренное значение рН находится в границах, отсекаемых кривыми на перпендикуляре, то нормы на рН соблюдены. Если полученное рН лежит выше или ниже кривых, норма не выдержана и необходимо принять соответствующие меры: уменьшить или увеличить дозировку аммиака.
Аналогичные графики можно построить для других значений рН (в пределах 8,0 - 10,0) по формулам 1 - 3.
На черт. 10 представлены прямые, характеризующие связь между значением рН и минимальным значением электропроводности для данного рН при разных температурах. Эти прямые можно использовать при ориентировочной оценке правильности проведенного измерения рН. Для этого следует измерить с помощью кондуктометра электропроводность раствора, в котором контролируется рН, и определить по графику, где будет находиться полученное значение. Если измеренное значение электропроводности для раствора с известным рН лежит ниже прямой, соответствующей температуре пробы, можно сделать вывод, что при измерении значения рН либо при измерении электропроводности была допущена ошибка. Если же измеренное значение электропроводности лежит на соответствующей прямой или выше нее, можно считать, что измерение выполнено правильно.
Минимальные значения электропроводности при заданном рН
Черт. 10
При точном соблюдении настоящих Методических указаний максимальная величина дополнительной погрешности не будет превышать 0,05 ед. рН.
Обязательное
К обессоленной воде примерно 500 см3, находящейся в контакте с воздухом, добавляют аммиак до получения рН 9,0 - 9,2.
Полученную пробу изолируют от контакта с воздухом и выдерживают в течение 1 ч.
После этого в измерительный стакан отбирают часть пробы и измеряют рН. Затем электроды погружают в конденсат, нагретый до 50 - 60 °С, и выдерживают их при температуре 3 - 5 мин. Дают электродам остыть, отбирают в измерительный стакан новую порцию пробы и вновь измеряют ее рН. Если расхождение между первым и вторым показаниями не превышает 0,05 ед. рН, электрод пригоден к работе.
Справочное
Для облегчения пересчета в таблице приведены поправки рН для температур от 20 до 50 °С.
|
Температура пробы, °С |
Поправка ΔрН |
Температура пробы, °С |
Поправка ΔрН |
|
20 |
-0,165 |
36 |
0,328 |
|
21 |
-0,132 |
37 |
0,356 |
|
22 |
-0,099 |
38 |
0,384 |
|
23 |
-0,066 |
39 |
0,412 |
|
24 |
-0,033 |
40 |
0,440 |
|
25 |
0,000 |
41 |
0,468 |
|
26 |
0,032 |
42 |
0,496 |
|
27 |
0,064 |
43 |
0,521 |
|
28 |
0,096 |
44 |
0,552 |
|
29 |
0,128 |
45 |
0,580 |
|
30 |
0,160 |
46 |
0,608 |
|
31 |
0,188 |
47 |
0,636 |
|
32 |
0,216 |
48 |
0,664 |
|
33 |
0,244 |
49 |
0,692 |
|
34 |
0,272 |
50 |
0,720 |
|
35 |
0,300 |
Для получения значения рН питательной воды при 25 °С необходимо к значению рН1, определенному при температуре пробы, прибавить поправку ΔрН, соответствующую температуре пробы:
рН'25 = РН1 + ΔрН. (4)
СОДЕРЖАНИЕ