Скачать РД 34.35.307-79 Инструкция по проверке и наладке реле тока и напряжения серий ЭТ, РТ, ЭН, РНДата актуализации: 01.01.2021
|
| Обозначение: | РД 34.35.307-79 |
| Обозначение англ: | RD 34.35.307-79 |
| Статус: | действует |
| Название рус.: | Инструкция по проверке и наладке реле тока и напряжения серий ЭТ, РТ, ЭН, РН |
| Название англ.: | Guidelines for Testing and Adjusting Current and Voltage Relays Series ET, RT, EN, and RN |
| Дата добавления в базу: | 01.09.2013 |
| Дата актуализации: | 01.01.2021 |
| Область применения: | Инструкция предназначена для персонала электростанций, электрических сетей и наладочных организаций, занимающихся обслуживанием, монтажом и наладкой реле максимального (минимального) тока и напряжения серий ЭТ, РТ, ЭН, РН. |
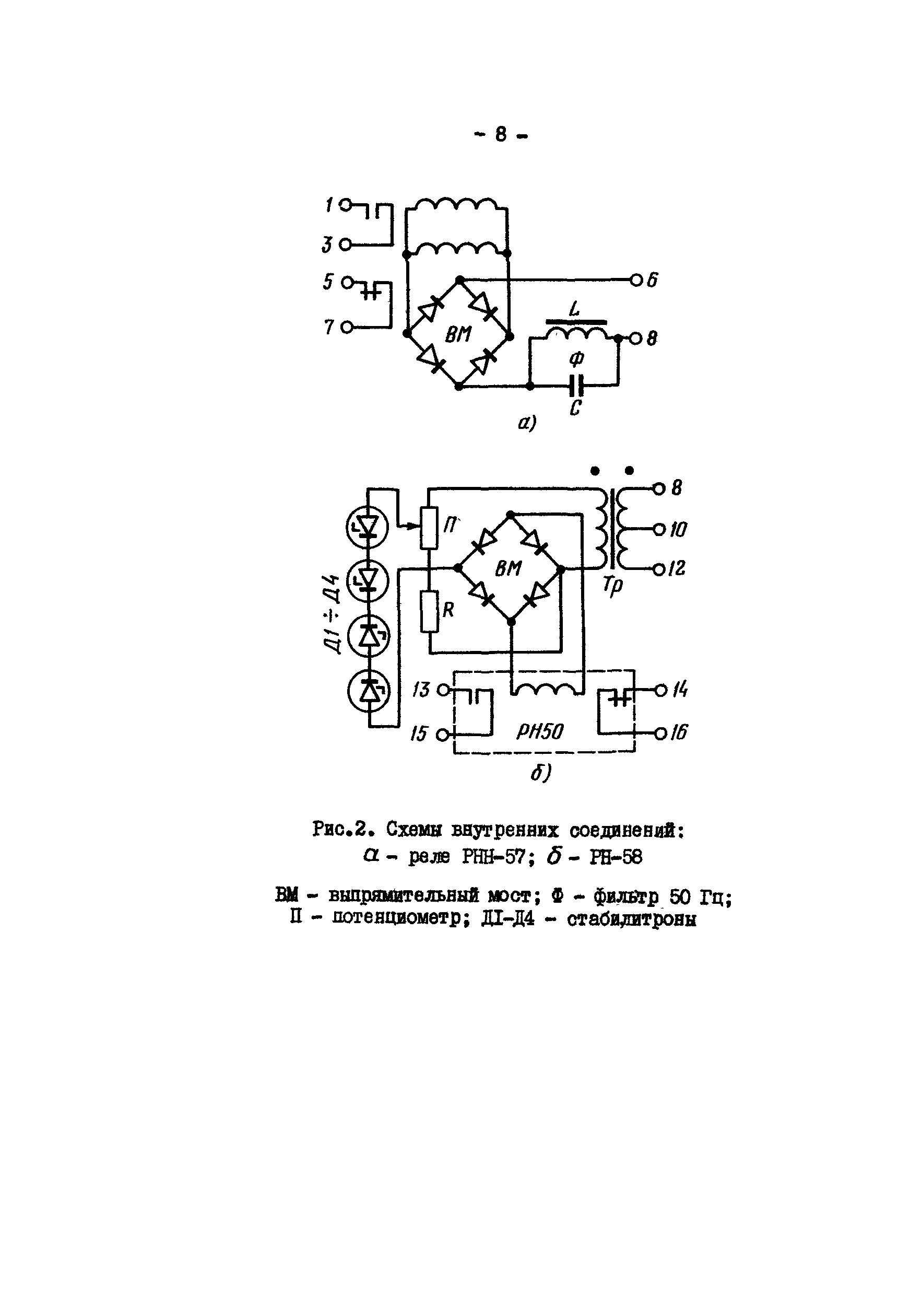
| Оглавление: | Введение 1. Технические требования 2. Наладка и проверка реле 3. Особенности наладки реле РТ-40/Ф, РТ-40Р, РТ-40IД, РНН-57, РН-58 Приложения |
| Разработан: | ПО Союзтехэнерго |
| Утверждён: | 01.02.1979 Минэнерго СССР (USSR Minenergo ) |
| Издан: | СПО Союзтехэнерго (1979 г. ) |
| Нормативные ссылки: |























































































