Скачать РД 153-39.4-044-99 Правила капитального ремонта магистральных нефтепродуктопроводов, проложенных по территории городов, населенных пунктов и заходящих на территории нефтебаз и перекачивающих станцийДата актуализации: 01.01.2021 РД 153-39.4-044-99
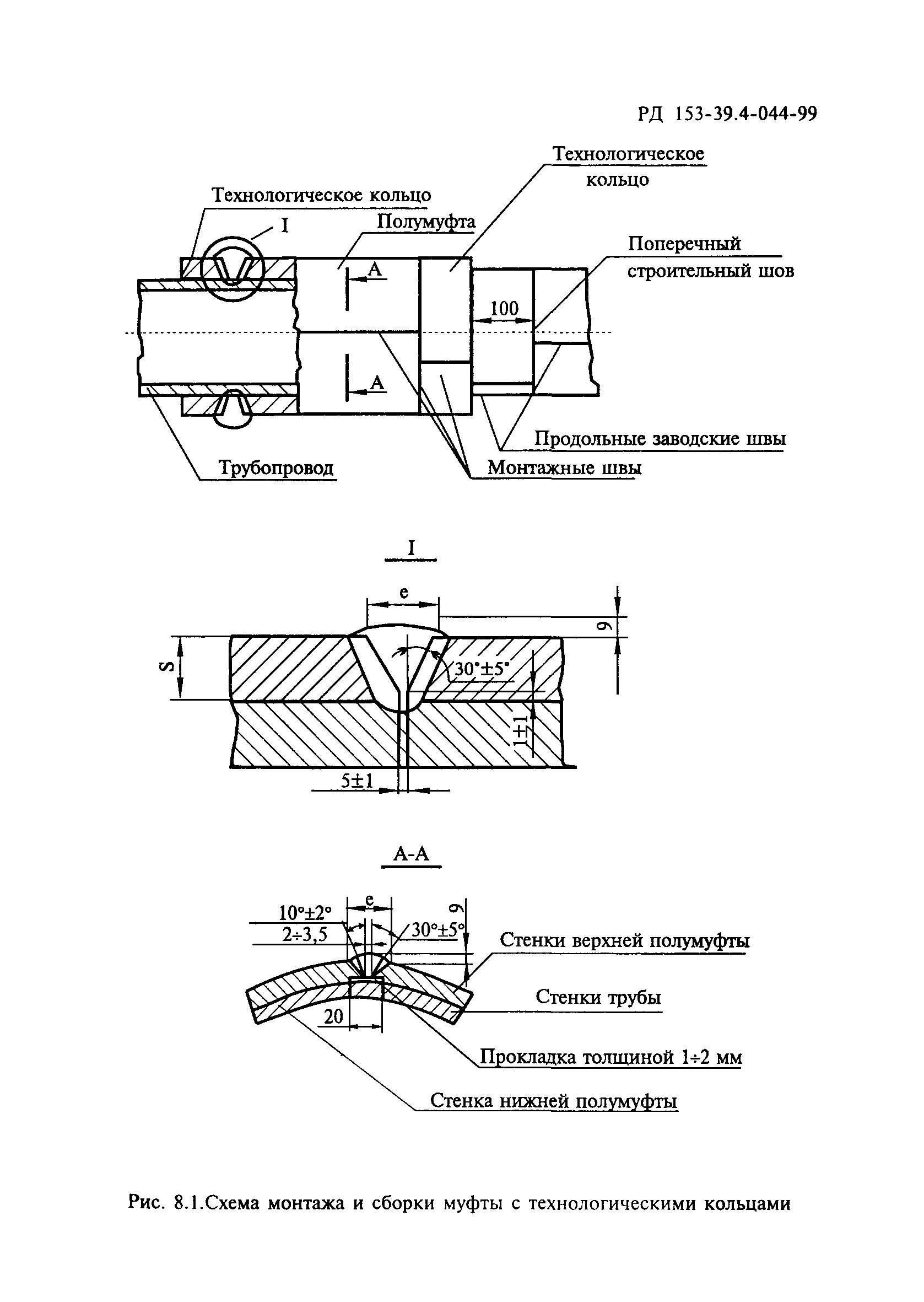
Правила капитального ремонта магистральных нефтепродуктопроводов, проложенных по территории городов, населенных пунктов и заходящих на территории нефтебаз и перекачивающих станций| Обозначение: | РД 153-39.4-044-99 | | Обозначение англ: | RD 153-39.4-044-99 | | Статус: | введен впервые | | Название рус.: | Правила капитального ремонта магистральных нефтепродуктопроводов, проложенных по территории городов, населенных пунктов и заходящих на территории нефтебаз и перекачивающих станций | | Дата добавления в базу: | 01.09.2013 | | Дата актуализации: | 01.01.2021 | | Дата введения: | 01.11.1999 | | Область применения: | Требования Правил распространяются на капитальный ремонт магистральных нефтепродуктопроводов (далее МНПП), проложенных по территории городов, населенных пунктов и заходящих на территории нефтебаз и перекачивающих станций. | | Оглавление: | 1 Общие положения 2 Оценка технического состояния нефтепродуктопровода 3 Виды и способы капитального ремонта нефтепродуктопроводов 4 Организационно-техническая подгтовка капитального ремонта 5 Земляные работы 6 Подъем и укладка трубопроводов 7 Очистка наружной поверхности трубопровода 8 Сварочные работы 9 Противокоррозионная изоляция 10 Монтаж защитного кожуха 11 Испытание отремонтированного участка нефтепродуктопровода 12 Порядок сдачи и ввод отремонтированного участка в эксплуатацию 13 Меры безопасности 14 Пожарная безопасность 15 Охрана окружающей среды Литература Приложение 1 Перечень рекомендуемых машин и механизмов Приложение 2 Передача рекультивированных земель землевладельцам Приложение 3 Исполнительная документация, представляемая при сдаче отремонтированного участка нефтепродуктопровода в эксплуатацию | | Разработан: | ИПТЭР МНПФ Санрето
| | Утверждён: | 13.10.1999 ОАО АК Транснефтепродукт (56)
| | Принят: | 09.08.1999 Госгортехнадзор России (Russian Federation Gosgortekhnadzor 10-03/526)
| | Издан: | Издательство Нефть и газ РГУ нефти и газа им. И.М.Губкина (2000 г. )
| | Нормативные ссылки: | |
                                                                                                        
|