Скачать ОСТ 45.77-97 Станции земные передающие фидерных линий спутниковых систем непосредственного телевизионного вещания. Основные параметры. Методы измерений

Дата актуализации: 01.01.2021

ОСТ 45.77-97

Станции земные передающие фидерных линий спутниковых систем непосредственного телевизионного вещания. Основные параметры. Методы измерений

Обозначение: ОСТ 45.77-97
Обозначение англ: OST 45.77-97
Статус:не определен законодательством
Название рус.:Станции земные передающие фидерных линий спутниковых систем непосредственного телевизионного вещания. Основные параметры. Методы измерений
Дата добавления в базу:01.09.2013
Дата актуализации:01.01.2021
Дата введения:01.01.1998
Дата окончания срока действия:30.06.2003
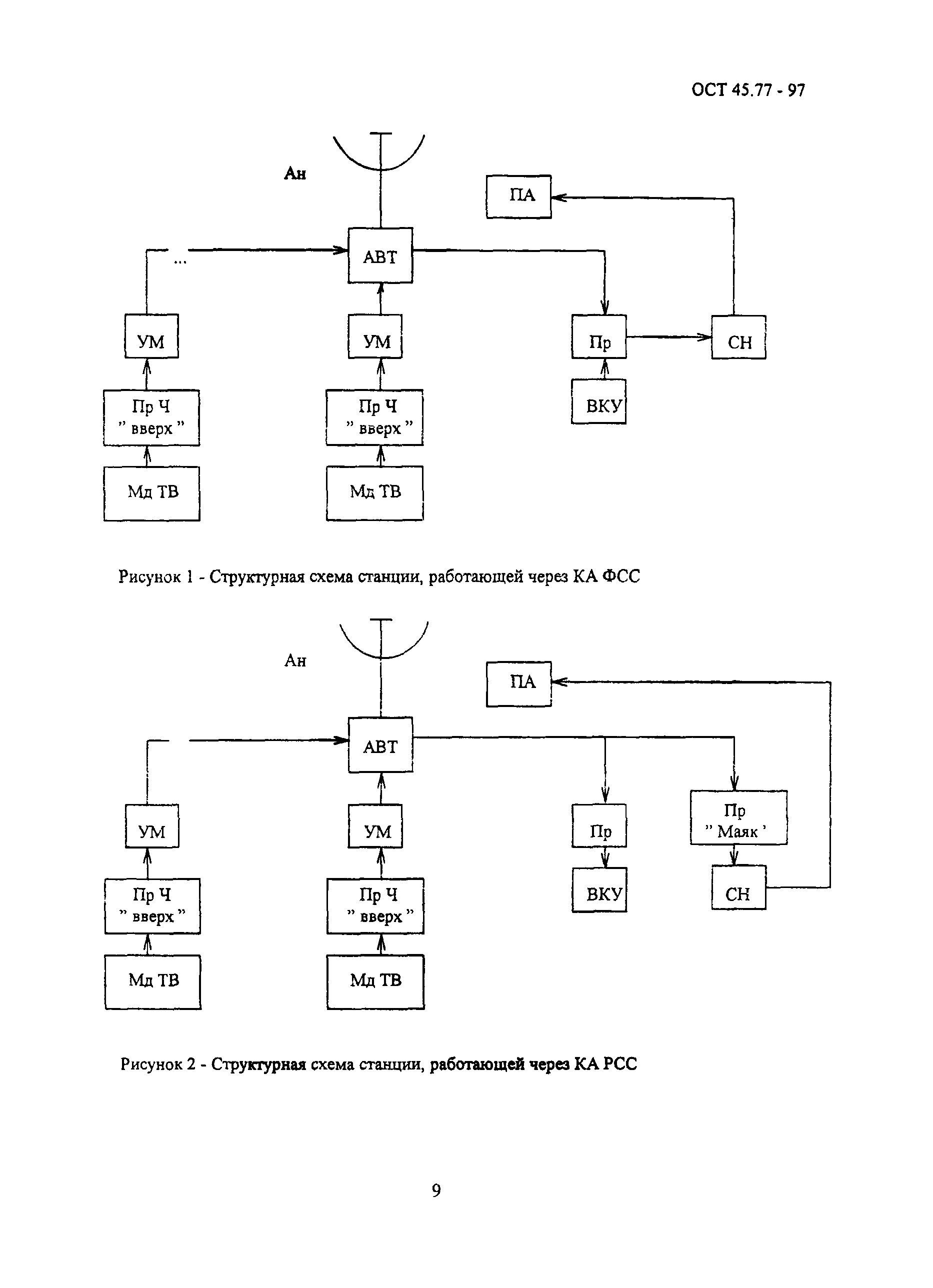
Область применения:Стандарт распространяется на станции земные передающие фидерных линий спутниковых систем непосредственного телевизионного вещания в частотных диапазонах, выделенных для радиовещательной спутниковой службы 17,3-18,1 ГГц и фиксированной спутниковой службы 5,925-6,475 ГГц и 14,0-14,5 ГГц.
Оглавление:1 Область применения
2 Нормативные ссылки
3 Определения, обозначения и сокращения
4 Общие положения
5 Классификация
6 Основные параметры
7 Технические требования
8 Методы измерений
Приложение А Перечень измерительных приборов
Приложение Б Библиография
Разработан: НИИР
Утверждён:10.11.1997 Госкомсвязи РФ (Russian Federation Goskomsvyazy 5923)
Издан: ЦНТИ Информсвязь (1998 г. )
Нормативные ссылки:
ОСТ 45.77-97ОСТ 45.77-97ОСТ 45.77-97ОСТ 45.77-97ОСТ 45.77-97ОСТ 45.77-97ОСТ 45.77-97ОСТ 45.77-97ОСТ 45.77-97ОСТ 45.77-97ОСТ 45.77-97ОСТ 45.77-97ОСТ 45.77-97ОСТ 45.77-97ОСТ 45.77-97ОСТ 45.77-97ОСТ 45.77-97ОСТ 45.77-97ОСТ 45.77-97ОСТ 45.77-97ОСТ 45.77-97ОСТ 45.77-97ОСТ 45.77-97ОСТ 45.77-97ОСТ 45.77-97ОСТ 45.77-97ОСТ 45.77-97ОСТ 45.77-97ОСТ 45.77-97ОСТ 45.77-97ОСТ 45.77-97ОСТ 45.77-97ОСТ 45.77-97