
ГОСУДАРСТВЕННЫЙ КОМИТЕТ РОССИЙСКОЙ
ФЕДЕРАЦИИ ПО СВЯЗИ И ИНФОРМАТИЗАЦИИ
СТАНДАРТ ОТРАСЛИ
СТАНЦИИ ЗЕМНЫЕ ПЕРЕДАЮЩИЕ
ФИДЕРНЫХ ЛИНИЙ СПУТНИКОВЫХ
СИСТЕМ НЕПОСРЕДСТВЕННОГО
ТЕЛЕВИЗИОННОГО ВЕЩАНИЯ
ОСНОВНЫЕ ПАРАМЕТРЫ. МЕТОДЫ ИЗМЕРЕНИЙ
ОСТ 45.77-97
ЦНТИ «ИНФОРМСВЯЗЬ»
Москва - 1998
Предисловие
1 РАЗРАБОТАН Государственным научно-исследовательским институтом радио
ВНЕСЕН Научно-техническим Управлением и охраны труда Госкомсвязи России
2 УТВЕРЖДЕН Госкомсвязи России
3 ВВЕДЕН В ДЕЙСТВИЕ информационным письмом № 5923 от 10.11.97 г.
4 ВВЕДЕН ВПЕРВЫЕ
СОДЕРЖАНИЕ
ОСТ 45.77-97
СТАНДАРТ ОТРАСЛИ
СТАНЦИИ ЗЕМНЫЕ ПЕРЕДАЮЩИЕ ФИДЕРНЫХ ЛИНИЙ СПУТНИКОВЫХ СИСТЕМ НЕПОСРЕДСТВЕННОГО ТЕЛЕВИЗИОННОГО ВЕЩАНИЯ
Основные параметры. Методы измерений
Дата введения 01.01.98 г.
Настоящий стандарт распространяется на станции земные передающие фидерных линий спутниковых систем непосредственного телевизионного вещания (далее по тексту - станции) в частотных диапазонах, выделенных для радиовещательной спутниковой службы 17,3 - 18,1 ГГц и фиксированной спутниковой службы 5,925 - 6,475 ГГц и 14,0 - 14,5 ГГц.
Стандарт устанавливает основные параметры, их величины, методы измерений, требования по электробезопасности, экологии и электромагнитной совместимости.
Раздел 8 «Методы измерений» является рекомендуемым.
В настоящем стандарте отрасли имеются ссылки на следующие стандарты:
ГОСТ 12.1.003-84 ССБТ. Шум. Общие требования безопасности
ГОСТ 12.1.006-84 ССБТ. Электромагнитные поля радиочастот. Допустимые уровни на рабочих местах и требования к проведению контроля
ГОСТ 12.1.030-81 ССБТ. Электробезопасность. Защитное заземление, зануление
ГОСТ 12.2.006-87 Безопасность аппаратуры электронной сетевой и сходных с ней устройств, предназначенных для бытового или аналогичного общего применения. Общие требования и методы испытаний
ГОСТ 12.2.007.0-75 ССБТ. Изделия электротехнические. Общие требования безопасности
ГОСТ 12.4.027-76 ССБТ. Цвета сигнальные и знаки безопасности
ГОСТ 11478-88 Аппаратура радиоэлектронная бытовая. Нормы и методы испытаний на воздействие внешних механических и климатических факторов
ГОСТ 15150-69 Машины, приборы и другие технические изделия. Исполнения для различных климатических районов. Категории, условия эксплуатации, хранения и транспортирования в части воздействия климатических факторов внешней среды
ГОСТ 21130-75 Изделия электротехнические. Зажимы заземляющие и знаки заземления. Конструкция и размеры
ГОСТ 22505-83 Радиопомехи индустриальные от приемников телевизионных и приемников радиовещательных частотно-модулированных сигналов в диапазоне УКВ. Нормы и методы измерений
ГОСТ 23511-79 Радиопомехи индустриальные от электротехнических устройств, эксплуатируемых в жилых домах или подключаемых к их электрическим сетям. Нормы и методы измерений
ГОСТ 28002-88 Аппаратура радиоэлектронная бытовая. Общие требования по защите от электростатических разрядов и методы испытаний
ГОСТ Р 50788-95 Установки непосредственного приема программ спутникового телевизионного вещания. Классификация. Основные параметры. Технические требования. Методы измерений
ОСТ 45.56-96 Станции земные для линий спутниковой связи, работающие с ИСЗ на геостационарной орбите в диапазонах частот 6/4 ГГц и 14/11 - 12 ГГц. Типы, основные параметры, технические требования.
3.1 Определения
3.1.1 Фидерная линия спутниковой системы - радиолиния от земной передающей станции, расположенной в определенном фиксированном пункте, до космической станции (космического аппарата).
3.1.2 Фиксированная спутниковая служба - служба радиосвязи между земными станциями, расположенными в определенных фиксированных пунктах, при использовании одного или нескольких спутников.
3.1.3 Радиовещательная спутниковая служба - служба радиосвязи, в которой сигналы, передаваемые или ретранслируемые космическими станциями (космическими аппаратами), предназначены для непосредственного приема наделением. (В понятие непосредственный прием входит как индивидуальный, так и коллективный прием).
3.1.4 Земная передающая станция фидерной линии спутниковой системы непосредственного телевизионного вещания - один или несколько передатчиков с антенной системой, приемным и вспомогательным оборудованием, устанавливаемых в одном определенном месте для ретрансляции через космическую станцию программ телевидения на сеть земных приемных станций.
3.1.5 Ствол - комплекс приемо-передающей аппаратуры ЗС, работающей в определенной полосе выделенного для данной службы диапазона частот.
3.2 Обозначения и сокращения
3.2.1 В стандарте приняты следующие обозначения и сокращения:
Ан - антенна,
Ан и - антенна измеряемая,
Ан пер - антенна передающая,
Ан пр - антенна приемная,
АВТ - антенно-волноводный тракт,
АРУ - автоматическая регулировка усиления,
АС - анализатор спектра,
Атт - аттенюатор,
АЧХ - амплитудно-частотная характеристика,
БП - блок поляризации,
ВКУ - видеоконтрольное устройство,
Г - генератор,
ГКЧ - генератор качающейся частоты,
ГВЗ - групповое время запаздывания,
ДН - диаграмма направленности,
ИКСВН - измеритель коэффициента стоячей волны по напряжению,
ИМ - измеритель мощности,
ИС - испытываемая станция,
ИСЗ - искусственный спутник Земли,
КА - космический аппарат,
КВП - коаксиально-волноводный переход,
КЗ - короткозамыкатель,
КС - контрольная станция,
Мд - модулятор,
МШУ - малошумящий усилитель.
ОН - ответвитель направленный,
ОНО - ответвитель направленный отраженной волны,
ОНП - ответвитель направленный падающей волны,
ОПУ - опорно-поворотное устройство,
П - поляризатор,
ПА - привод антенны,
Пер - передатчик,
Пр - приемник,
ПрЧ - преобразователь частоты,
ПЧ - промежуточная частота,
РРУ - ручная регулировка усиления,
РСС - радиовещательная спутниковая служба,
С - самописец,
СВЧ - сверхвысокая частота,
СИУ - селективный измеритель уровня,
СН - система наведения,
ТВ - телевизионное вещание,
УКВ - ультракороткие волны,
УМ - усилитель мощности,
УПЧ - усилитель промежуточной частоты,
УУ - устройство управления приводом антенны,
ФСС - фиксированная спутниковая служба,
Ч - частотомер электронносчетный,
ЭИИМ - эквивалентная изотропно излучаемая мощность,
ЭВМ - электронно-вычислительная машина.
4.1 Станции включают в себя антенну с устройством наведения, облучателем, поляризатором, различными соединительными волноводными элементами; передающее оборудование, состоящее из мощного выходного усилителя, преобразователя частоты «вверх», телевизионного модулятора; приемное оборудование для контроля ретранслируемых через КА сигналов, систему наведения антенны на спутник и различное телевизионное и вспомогательное оборудование. Последнее определяется системой передачи телевизионных сигналов.
4.2 Настоящий стандарт устанавливает требования к основным параметрам всей станции в целом и ее составным элементам - антенне, передающему и приемному устройствам и системе наведения.
4.3 В стандарте нормированы параметры станций, работающих в фиксированной и радиовещательной спутниковой службе, использующих спутники, работающие на геостационарной орбите.
4.4 В стандарте устанавливаются требования к станциям, работающим в диапазонах 5,925 - 6,475 ГГц, 14,0 - 14,5 ГГц и 17,3 - 18,1 ГГц, обеспечивающим работу земных приемных сетей соответственно в диапазонах 3,4 - 4,2 ГГц, 10,7 - 11,7 ГГц и 11,7 - 12,5 ГГц.
5.1 Станции по своему назначению подразделяются на станции, работающие через КА ФСС и через КА РСС.
5.2. Как правило, станции, работающие черев КА ФСС, имеют несколько большее значение эквивалентной изотропно излучаемой мощности и в них применяется система наведения антенны по сигналу одного из стволов, так как сама станция находится в зоне приема сигналов с ИСЗ.
5.3 Станции, работающие через КА РСС могут располагаться вне зоны приема сигналов со спутника. Наведение антенны в этом случае производятся по сигналам «Маяка» - передатчика КА, работающего на ненаправленную антенну.
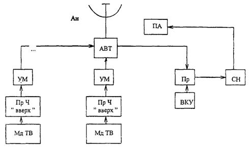
5.4 Структурная схема станции, работающей через КА ФСС, приведена на рисунке 1, а структурная схема станции, работающей через КА РСС, приведена на рисунке 2.
Рисунок 1 - Структурная схема станции, работающей через КА ФСС
Рисунок 2 - Структурная схема станции, работающей через КА РСС
6.1 Нормируемые общие параметры станции:
- диапазон излучаемых частот;
- эквивалентная изотропно излучаемая мощность, которая определяется усилением антенны, потерями в антенно-волноводном тракте и мощностью передатчика. ЭИИМ - произведение коэффициента усиления антенны на мощность сигнала, подводимого к ее облучателю.
6.2 Нормируемые параметры антенны:
- уровень боковых лепестков диаграммы направленности;
- вид поляризации;
- кроссполяризационная развязка.
6.3 Нормируемые параметры передающего устройства:
- ширина полосы пропускания и форма АЧХ;
- неравномерность ГВЗ;
- нестабильность частоты;
- побочные излучения;
- внеполосные излучения;
- дисперсия несущей.
6.4 Нормируемые параметры системы наведения антенны:
- пределы наведения антенны;
- точность наведения антенны;
- дополнительные потери при наведении.
6.5 Значения основных параметров станций приведены в таблице 1.11).
1) Отклонения отдельных параметров от приведенных могут быть согласованы с техническим руководством различных спутниковых систем.
Параметры приемных устройств должны соответствовать требованиям ГОСТ Р 50788 и ОСТ 45.56.
Таблица 1 - Основные параметры станций земных передающих фидерных линий спутниковых систем непосредственного телевизионного вещания
|
ЗС, работающие через КА ФСС |
ЗС, работающие через КА РСС |
|||||||||
|
Горизонт |
Радуга |
Экспресс |
Интелсат |
Евтелсат |
Галс |
Галс-Р |
||||
|
Диапазон рабочих частот, ГГц |
5,975 - 6,275 14,325 |
5,975 - 6,225 |
5,975 - 6,475 14,325; 14,425 |
5,925 - 6,425 |
14,0 - 14,5 |
17,3 - 18,1 |
17,3 - 18,1 |
|||
|
ЭИИМ (на краю зоны обслуживания), дБВт1) |
79 - 84 82 - 88 |
82 - 87 |
80 - 84 75 - 80 |
65 - 88 |
82 - 85 |
81 - 84 |
81 - 84 |
|||
|
Вид поляризации |
круговая |
круговая |
круговая линейная |
круговая |
линейная |
круговая |
круговая |
|||
|
Кроссполяризационная развязка, дБ |
25 - 27 |
25 - 27 |
27 - 28 |
30 |
25 - 35 |
27 - 28 |
27 - 28 |
|||
|
Уровень боковых лепестков антенны, дБ, θ в град. |
29 - 25 log θ 1 < θ < 20 |
29 - 25 log θ |
29 - 25 log θ 1 < θ < 20 |
29 - 25 log θ 1 < θ < 48 |
29 - 25 log θ 2,5 < θ < 7 |
29 - 25 log θ 1 < θ < 20 |
29 - 25 log θ 1 < θ < 20 |
|||
|
Ширина полосы пропускания, МГц |
36 |
36 |
36 |
36 |
27 |
36 |
27 |
27 |
27 |
|
|
Относительная нестабильность частоты |
±1 × 10-6 |
±1 × 10-5 |
±1 × 10-7 |
±1 × 10-6 |
±1,25 × 10-5 |
±1 × 10-6 |
±1 × 10-6 |
|||
|
Неравномерность АЧХ в полосе частот, МГЦ |
||||||||||
|
±13,5 |
±1 |
±1 |
||||||||
|
±25 |
±25 |
±25 |
||||||||
|
±14,4 |
±0,6 |
±0,6 |
||||||||
|
±10 |
+0,3 |
+0,3 |
||||||||
|
±18 |
±1,5 |
±1,5 |
±1 |
-25 |
-25 |
|||||
|
±30 |
-25 |
-25 |
||||||||
|
Неравномерность ГВЗ, нс, в полосе частот, МГц |
||||||||||
|
±12 |
5 |
5 |
5 |
5 |
||||||
|
±13,5 |
15 |
15 |
10 |
10 |
||||||
|
±15 |
5 |
5 |
||||||||
|
±18 |
10 |
10 |
10 |
15 |
15 |
|||||
|
Побочные излучения, дБ2) |
27 |
27 |
50 |
30 |
32 |
50 |
50 |
|||
|
Внеполосные излучения, дБ3) |
27 |
27 |
30 |
30 |
27 |
30 |
30 |
|||
|
Дисперсия, МГц |
0 - 3 |
- |
0 - 3 |
- |
2 - 4 |
- |
- |
|||
|
Пределы наведения антенны, град. |
±7 |
±7 |
±3,5 |
±3,5 |
±3,5 |
±2 |
±2 |
|||
|
Точность наведения антенны, град. |
- |
- |
±0,2 |
±0,2 |
±0,2 |
±0,2 |
±0,2 |
|||
|
Дополнительные потери при наведении, дБ |
0,2 - 0,4 |
- |
0,2 |
- |
- |
0,3 |
0,3 |
|||
1) Конкретное значение ЭИИМ для станции должно быть согласовано с тех. руководством организации, эксплуатирующей КА.
2) Рекомендованное значение для вновь разрабатываемого оборудования 60 дБ.
3) Рекомендованное значение для вновь разрабатываемого оборудования 50 дБ.
7.1 Требования по электробезопасности и экологии
Земные станции всех классов должны удовлетворять требованиям следующих нормативных документов:
- ГОСТ 12.4.027
- Временные санитарные нормы... [1]
7.2 Требования к конструкции антенны
7.2.1 Конструкция антенны должна обеспечить возможность ее фиксации в заданном направлении с точностью, при которой снижение мощности принимаемого сигнала не превышает 0,2 - 0,5 дБ по сравнению с направлением максимального приема при скорости ветра до 25 м/с.
7.2.2 Механическая прочность конструкции антенны должна обеспечиваться при скорости ветра 50 м/с.
7.3 Требования электромагнитной совместимости
7.3.1 По требованиям электромагнитной совместимости передающие станции должны соответствовать ГОСТ 23511, ГОСТ 28002, ГОСТ 22505 и настоящему стандарту отрасли.
8.1. Измерение ЭИИМ1)
1) Перечень приборов, рекомендуемых для измерений, приведен в Приложении А.
8.1.1 Расчет ЭИИМ станции производится по формуле2)
ЭИИМ = Gпер - Lпер + 10lg Pпер, дБВт, (1)
где Gпер - коэффициент усиления антенны на передачу, дБ;
Lпер - затухание в передающем участке АВТ, дБ;
Pпер - мощность передающего устройства, Вт.
2) Допускается расчет ЭИИМ на основе паспортных данных станции.
Передатчик переводится в режим максимальной мощности и измерителем мощности на выходе передатчика измеряется значение излучаемой мощности.
Вычисление ЭИИМ производится для средних частот рабочих стволов станции.
8.2 Измерение коэффициента усиления антенны на передачу и уровней боковых лепестков
8.2.1 Коэффициент усиления антенны на передачу G, дБ, рассчитывается с достаточной точностью по известной ширине диаграммы направленности, отсчитываемой на уровне 3 дБ, по двум координатам, перпендикулярным к оси главного направления:
G = 44,44 - 10lg θ1θ2, (2)
где θ1, θ2 - ширина диаграммы направленности по разным осям при уменьшении мощности на 3 дБ, град.
8.2.2 Измерение диаграммы направленности антенны
Измерение диаграммы направленности антенны производится через ИСЗ на геостационарной орбите с помощью контрольной станции на средней частоте ствола (стволов).
При измерениях через ИСЗ обязательным условием является работа на линейном участке амплитудной характеристики бортового ретранслятора. В связи с этим при работе ретранслятора только в режиме с АРУ ее действие должно быть исключено применением глубокой амплитудно-импульсной модуляции несущей частоты излучаемой мощности импульсами соответствующей длительности и периода повторения.
8.2.3 Более точно коэффициент усиления антенны рассчитывается числовым методом (с помощью ЭВМ) на основании измеренных диаграмм направленности.
Используя вычисленное по п. 8.2.1 значение коэффициента усиления, необходимо рассчитать и нанести на измеренные диаграммы направленности справочную кривую F(θ) огибающей боковых лепестков диаграммы направленности в соответствии с формулой (для антенн с относительным диаметром D/λ больше 150):
F(θ)сгиб = G (дБ) + 29 - 25lg θ, (3)
где 1° < θ < 20°;
D и λ - диаметр антенны и рабочая длина волны даны в одних линейных единицах.
Не менее 90 % боковых лепестков от их общего количества должны располагаться ниже соответствующей справочной кривой (Рекомендация [2]).
8.3 Измерение затухания антенно-волноводного тракта на частотах передачи
8.3.1 Измерение затухания антенно-волноводного тракта на передачу проводится с помощью рефлектометра. Структурная схема измерений приведена на рисунке 3.
Рисунок 3 - Структурная схема измерения затухания антенно-волноводного тракта на передачу
Направленные ответвители падающей и отраженной волны стыкуются между собой и передающим антенно-волноводным трактом присоединительными фланцами. Вместо рупорного облучателя к блоку поляризации присоединяется короткозамыкатель. Блок поляризации на время проведения измерений устанавливается таким образом, чтобы его фазосдвигающая структура была параллельна вектору электрического поля передачи.
Калибровка рефлектометра и отсчет измеренного затухания производится в соответствии с инструкцией по эксплуатации прибора.
Фактическое затухание на какой-либо частоте вычисляется как 1/2 значения, отсчитанного по шкале прибора, в дБ. Отсчеты значений затухания необходимо производить на средних частотах рабочих стволов станции.
8.4 Измерение ЭИИМ с помощью контрольной станции с известной ЭИИМ
8.4.1 В случае невозможности измерения диаграммы направленности антенны на передачу, произвести непосредственное измерение ЭИИМ с помощью контрольной станции с известной ЭИИМ.
Структурная схема измерений представлена на рисунке 4.
Рисунок 4 - Структурная схема измерений ЭИИМ
8.4.2 Контрольная и испытуемая станции по очереди излучают мощность немодулированного или модулированного сигнала в зависимости от режима работы бортового ретранслятора на ИСЗ (режим РРУ или АРУ) с высокой стабильностью по уровню и частоте. Уровень излучаемой мощности станции с большей ЭИИМ должен соответствовать линейному участку амплитудной характеристики бортового ретранслятора (рабочий уровень). Излучения должны производиться на средних частотах рабочих стволов испытуемой станции. Антенны обеих станций должны быть наведены на ИСЗ по максимуму принимаемого сигнала. Координация поочередного выхода станций на ИСЗ осуществляется проводящим измерения персоналом по служебному каналу связи.
8.4.3 Добиться регулировкой уровней и усиления оборудования на испытуемой станции растянутого на экране анализатора спектра отклика принимаемого станцией сигнала и записать его на самописец. На аттенюаторе Атт1 должно быть введено затухание 25 - 30 дБ. Вначале включить передатчик контрольной станции, самописец испытуемой станции запишет соответствующий уровень сигнала. Линия записи должна располагаться примерно в середине рабочего поля ленты самописца. Затем выключить передатчик контрольной станции, а испытуемая станция должна включить свой передатчик и произвести запись на самописец соответствующий уровень принимаемого станцией сигнала в соответствии с рисунком 5.
где β - показания аттенюатора Атт1, дБ; Uис - уровень сигнала испытуемой станции, дБ; Uкс - уровень сигнала контрольной станции, дБ.
Рисунок 5 - Уровни сигналов, принятых от КС и ИС и записанных на ленте самописца
8.4.4 Определить с помощью аттенюатора Атт1 (дБ) уровень принимаемого Uис сигнала. Повторить эти измерения пять раз, вычислить среднее арифметическое значение (дБ) для каждого рабочего ствола.
Вычислить значение ЭИИМ испытуемой станции по формуле
ЭИИМис = ЭИИМкс + β, (4)
где ЭИИМис - ЭИИМ испытуемой станции;
ЭИИМкс - ЭИИМ контрольной станции.
8.5 Измерение кроссполяризационной развязки антенны на передачу
8.5.1 Структурная схема измерений представлена на рисунке 6.
Рисунок 6 - Структурная схема для измерений кроссполяризационной развязки антенны на передачу
8.5.2 Измерение кроссполяризационной развязки производится с помощью контрольной передающей станции.
Антенны испытуемой и контрольной станций должны быть удалены на расстояние не менее 1500 м.
Для проведения измерения к измеряемой антенне подключается МШУ, работающий в диапазоне частот передающей станции.
8.5.3 Установить поляризацию сигнала обеих станций одинаковой.
Установить на генераторе Г среднюю частоту рабочего диапазона на передачу.
Установить затухание аттенюатора Атт2 равным 32 - 35 дБ.
8.5.4 Сориентировать антенны Ан ис и Ан пер друг на друга с помощью опорно-поворотного устройства по максимуму принимаемого сигнала и зафиксировать уровень сигнала на экране анализатора спектра.
8.5.5 Изменить поляризацию сигнала на Ан пер на противоположную и путем уменьшения затухания на Атт2 добиться прежнего уровня на анализаторе спектра.
Разность значений затухания на Атт2 при разных поляризациях соответствует значению кроссполяризационной развязки.
8.6 Измерение побочных излучений
8.6.1 Структурная схема измерений представлена на рисунке 7.
Рисунок 7 - Структурная схема измерений побочных излучений
Измерение уровня побочных излучений проводится в рабочем диапазоне частот (17,3 - 18,1 ГГц) ± 10 %. Мощность передатчика должна быть номинальной.
8.6.2 Анализатор спектра перестраивается в указанном диапазоне частот за пределами рабочей полосы частот.
Фиксируется уровень побочных сигналов в полосе 4 кГц, в дБ.
Ширина полосы пропускания анализатора спектра должна быть 4 кГц. В случае более широкой полосы пропускания прибора, она должна быть пересчитана к полосе 4 кГц.
8.7 Измерение нестабильности частоты передатчика
8.7.1 Структурная схема измерений представлена на рисунке 8.
Рисунок 8 - Структурная схема для измерения нестабильности частоты передатчика
Г - генератор ПЧ с относительной нестабильностью частоты 5 · 10-7 - 1 · 10-6.
8.7.2 Измерения производятся периодически через каждые 2 ч в течение 24-х часов.
Относительная нестабильность частоты
передатчика определяется как отношение
где Δfмакс = (fмакс
- f0) или (fмин - f0) в зависимости от того, какая из величин больше;
fмакс - максимальное значение частоты измеренного сигнала, ГГц;
fмин - минимальное значение частоты измеренного сигнала, ГГц;
f0 - номинальное значение частоты, ГГц.
8.8 Измерение внеполосных излучений
8.8.1 Структурная схема измерения представлена на рисунке 9.
Рисунок 9 - Структурная схема измерения внеполосных излучений
8.8.2 Измерение внеполосных излучений осуществляется двухчастотным методом при подаче на вход преобразователя «вверх» сигналов от двух генераторов. Частота генератора Г1 устанавливается равной 70 МГц, частота второго генератора Г2 изменяется от 56 до 84 МГц. Уровень сигнала каждого генератора устанавливается таким, чтобы мощность на выходе передатчика была бы на 10 дБ ниже мощности насыщения.
8.8.3 Анализатором спектра измеряются уровни внеполосных излучений в полосе, отстоящей от несущей на частоту от ±14 до ±54 МГц и по мере возрастания расстройки частоты между генераторами уровень второго генератора уменьшается на значение 1,25 дБ/МГц.
8.8.4 Определяется отношение А внп мощности одной несущей P1, к мощности внеполосных излучений P2f1 - f2 по формуле
(3)
где А внп - уровень внеполосных излучений, дБ;
P1 - мощность одной несущей, Вт;
P2f1 - f2 - мощность внеполосных излучений, Вт.
8.9 Измерение АЧХ и ГВЗ передающего тракта
8.9.1 Структурная схема измерений представлена на рисунке 10.
Рисунок 10 - Структурная схема измерения АЧХ и ГВЗ передающего тракта
8.9.2 На вход передатчика подается измерительный сигнал с девиацией ±25 МГц. Произвести измерение неравномерности амплитудно-частотной характеристики и ГВЗ передающего тракта относительно центральной частоты ствола. Измерения производятся с помощью измерителя АЧХ и ГВЗ.
8.9.3 АЧХ и ГВЗ преобразователя частоты Пр Ч СВЧ/ПЧ, входящего в состав прибора измерителя АЧХ и ГВЗ, должны быть существенно лучше измеряемых.
8.10 Измерение потерь сигнала за счет неточности системы наведения
8.10.1 Структурная схема измерений представлена на рисунке 11.
Рисунок 11 - Структурная схема для измерения потерь за счет неточности системы наведения
8.10.2 Измерение производится с помощью селективного измерителя уровня сигнала (СИУ) в диапазоне частот, соответствующем промежуточной частоте.
8.10.3 Навести антенну в режиме ручного наведения на ИСЗ по максимуму принимаемого сигнала. Записать максимальный уровень принимаемого сигнала с помощью селективного измерителя уровня.
8.10.4 Изменить положение антенны от направления на ИСЗ. От генератора СВЧ подать сигнал рабочей частоты с уровнем, соответствующим ранее отмеченному максимальному уровню принимаемого сигнала, на направленный ответвитель. Зафиксировать этот уровень. Понижая ступенями через 0,1 дБ уровень сигнала, подаваемого от генератора, записать показания селективного измерителя уровня. Выключить генератор.
8.10.5 Навести антенну на ИСЗ по максимуму сигнала. Перейти в режим автосопровождения. За время поиска регистрировать минимальное значение принимаемого сигнала по показаниям селективного измерителя уровня.
8.10.6 Произвести не менее 10 измерений и определить среднее арифметическое значение потерь принимаемого сигнала за счет системы наведения.
(рекомендуемое)
|
Наименование |
Тип |
|
Анализатор спектра |
С4-60; СК4-85 |
|
Анализатор спектра |
СК4-59; СК4-74; СК4-84 |
|
Анализатор спектра (Spectrum analyzer) |
859D |
|
Генератор сигналов высокочастотный |
Г4-78; Г4-187 |
|
Генератор сигналов высокочастотный |
Г4-180; Г4-187 |
|
Измеритель ГВЗ |
Ф4-15А |
|
Ваттметр поглощаемой мощности |
М3-90 |
|
Измеритель КСВН панорамный |
Р2-84 |
|
Милливольтметр цифровой широкополосный |
В3-59 |
|
Прибор для исследования АЧХ |
X1-54 |
|
Частотомер электронносчетный |
Ч3-63 |
|
Частотомер электронносчетный универсальный |
Ч3-66 |
|
Hewlett Packard |
|
|
Schlumberger |
|
|
Video transmission analyzer |
SI 7760 |
Примечание - Допускается использование других типов приборов, обеспечивающих заданную точность измерений
(информационное)
[1] Временные санитарные нормы и правила защиты населения от воздействия электромагнитных полей, создаваемых радиотехническими объектами. Министерство здравоохранения СССР. Главное санитарно-эпидемиологическое управление. № 2963-84.
[2] Рекомендации МСЭ-Р № 580-4. Диаграммы направленности для использования в качества норм проектирования антенн земных станций, работающих с геостационарными спутниками
Ключевые слова: станции земные передающие, фидерные линии, системы непосредственного спутникового вещания, основные параметры, методы измерений