Скачать Технологическая карта Технологическая карта на возведение монолитных конструкций жилых и общественных зданий в крупнощитовой опалубке

Дата актуализации: 01.01.2021

Технологическая карта

Технологическая карта на возведение монолитных конструкций жилых и общественных зданий в крупнощитовой опалубке

Обозначение: Технологическая карта
Статус:не установлен срок действия
Название рус.:Технологическая карта на возведение монолитных конструкций жилых и общественных зданий в крупнощитовой опалубке
Дата добавления в базу:01.09.2013
Дата актуализации:01.01.2021
Дата введения:01.01.2004
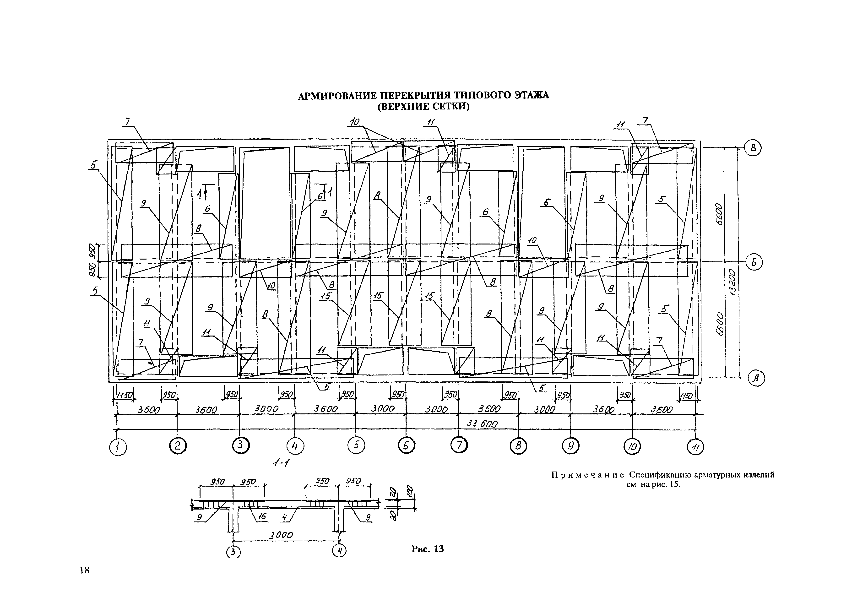
Область применения:Технологическая карта разработана на возведение в крупнощитовой опалубке монолитных железобетонных конструкций (стены, перекрытия) типового этажа четырехэтажного жилого дома.
Оглавление:1. Область применения
2. Технология и организация выполнения работ
   Опалубочные работы
   Арматурные работы
   Бетонирование стен и перекрытий
   Перечень машин и оборудования
   Перечень технологической оснастки, инструмента, инвентаря и приспособлений
3. Требования к качеству и приемке работ
4. Калькуляция затрат труда и машинного времени
5. График производства работ
6. Потребность в материалах, изделиях и конструкциях
7. Техника безопасности и охрана труда. Экологическая и пожарная безопасность
8. Технико-экономические показатели на возведение типового этажа
Разработан: ЦНИИОМТП
Утверждён:01.01.2004 ЦНИИОМТП (TsNIIOMTP )
Нормативные ссылки:
Технологическая карта Технологическая карта Технологическая карта Технологическая карта Технологическая карта Технологическая карта Технологическая карта Технологическая карта Технологическая карта Технологическая карта Технологическая карта Технологическая карта Технологическая карта Технологическая карта Технологическая карта Технологическая карта Технологическая карта Технологическая карта Технологическая карта Технологическая карта Технологическая карта Технологическая карта Технологическая карта Технологическая карта Технологическая карта Технологическая карта Технологическая карта Технологическая карта Технологическая карта Технологическая карта Технологическая карта Технологическая карта Технологическая карта Технологическая карта Технологическая карта Технологическая карта Технологическая карта Технологическая карта Технологическая карта Технологическая карта Технологическая карта Технологическая карта Технологическая карта Технологическая карта Технологическая карта Технологическая карта