Скачать Серия 1.238-1 Выпуск 3. Козырьки длиной 179, 239 и 299 см, шириной 188 см и плиты длиной 47, 59 и 149 см. Рабочие чертежиДата актуализации: 01.01.2021
|
| Обозначение: | Серия 1.238-1 |
| Обозначение англ: | Series 1.238-1 |
| Статус: | не определен законодательством |
| Название рус.: | Выпуск 3. Козырьки длиной 179, 239 и 299 см, шириной 188 см и плиты длиной 47, 59 и 149 см. Рабочие чертежи |
| Дата добавления в базу: | 01.09.2013 |
| Дата актуализации: | 01.01.2021 |
| Дата введения: | 01.01.1992 |
| Дата окончания срока действия: | 30.06.2003 |
| Область применения: | Железобетонные козырьки входов и парапетные плиты предназначены для общественных зданий и зданий административно-бытового назначения со стенами из кирпича или крупных блоков из местных материалов |
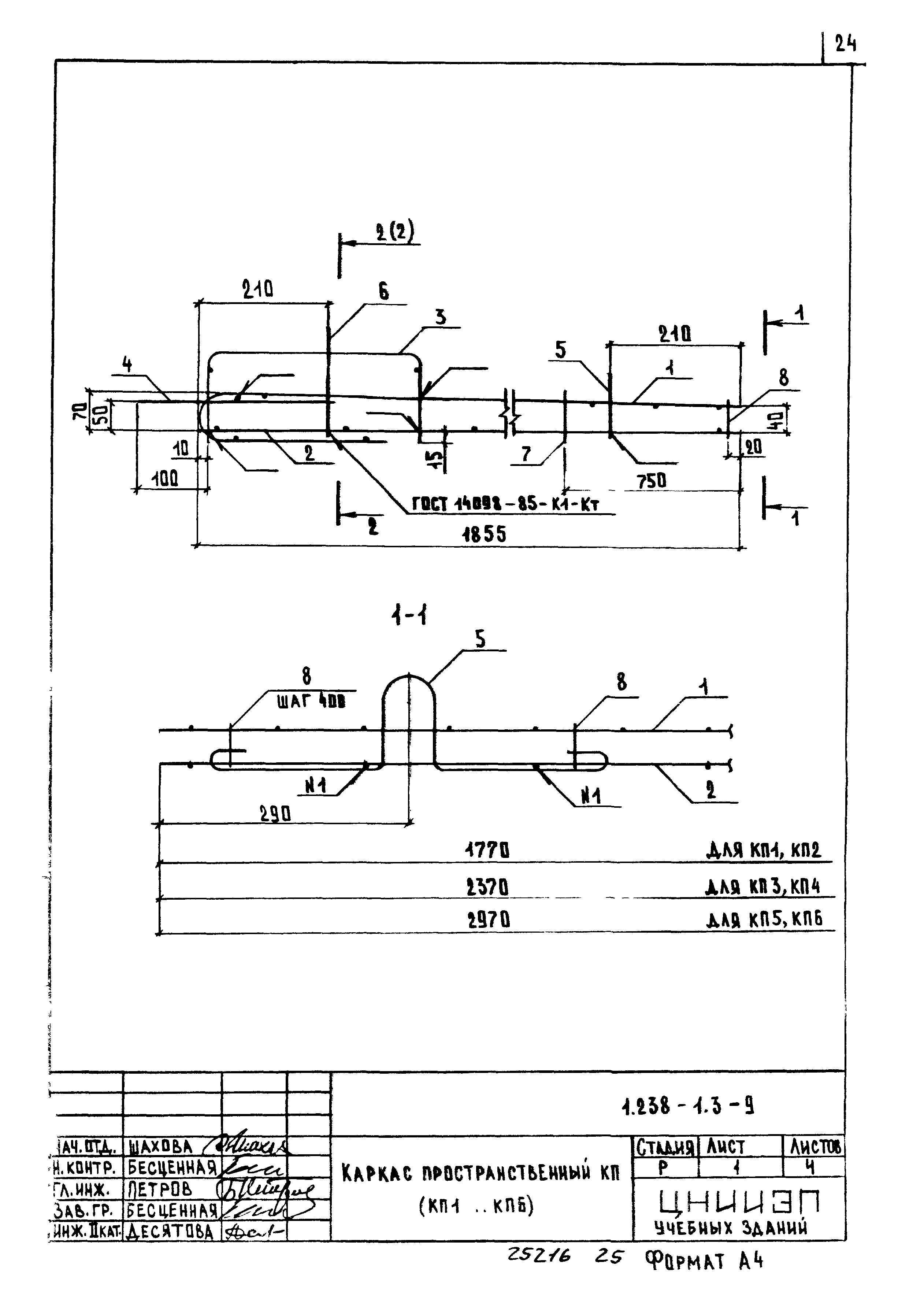
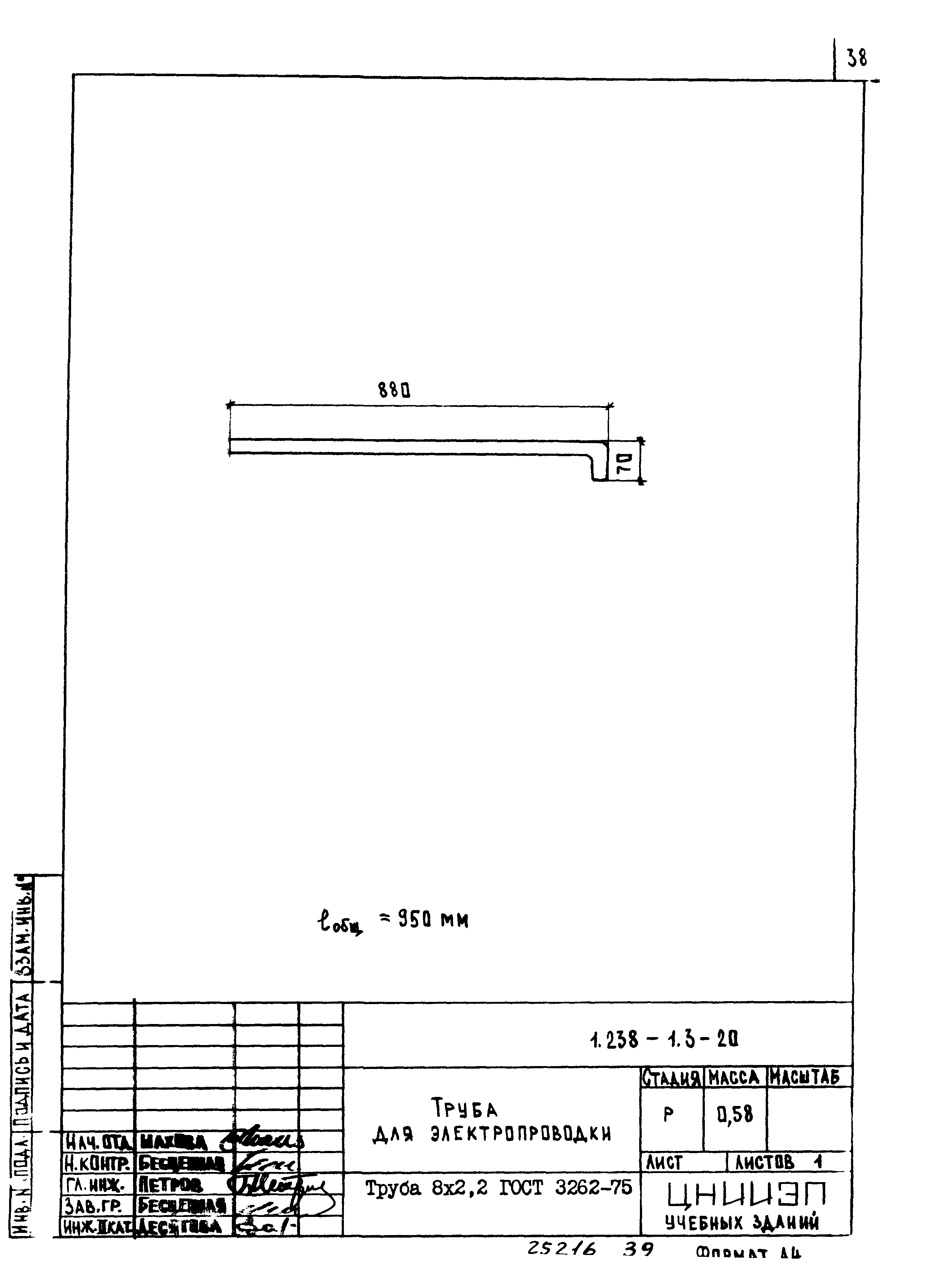
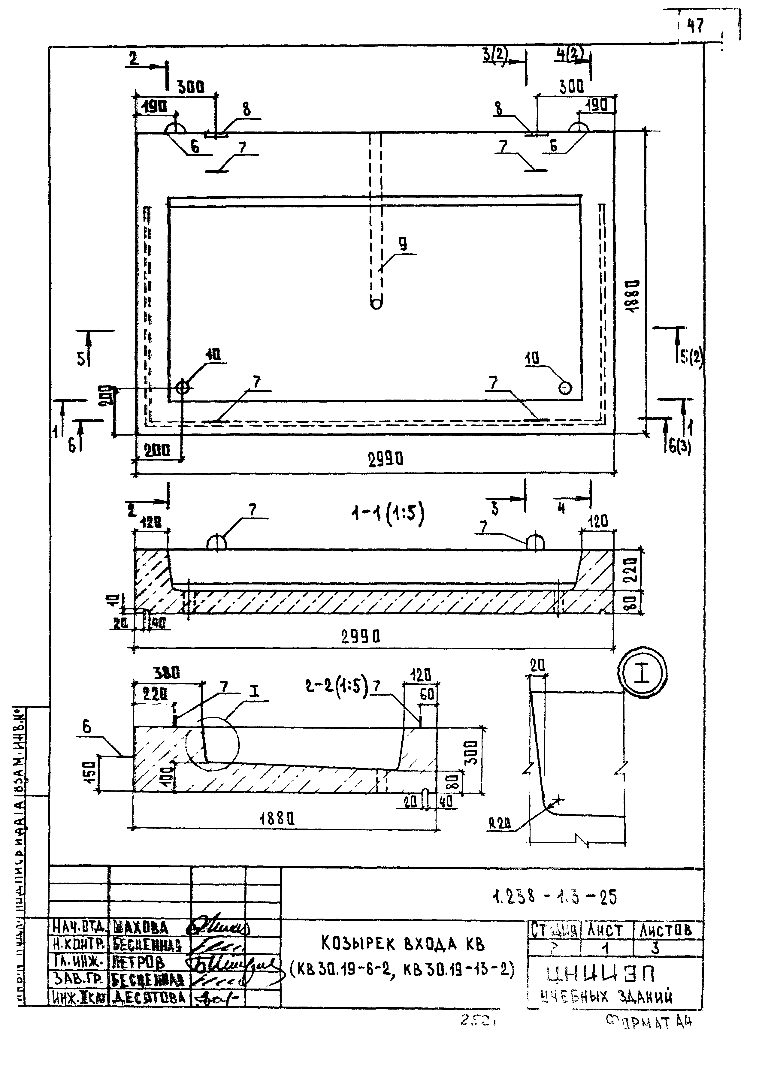
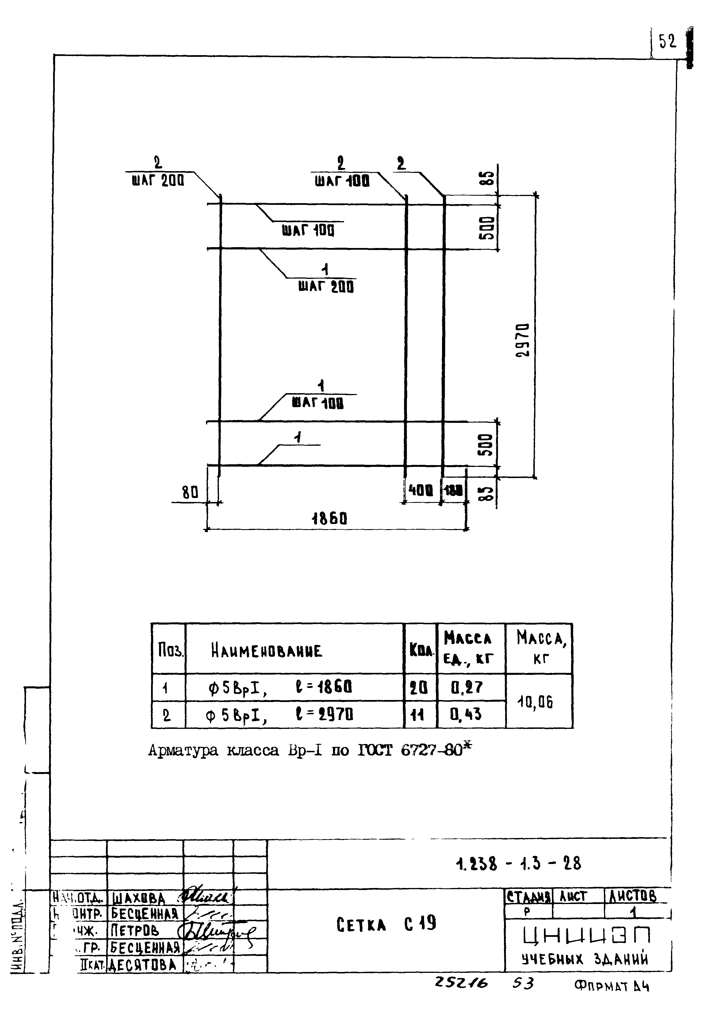
| Оглавление: | 1.238-1.3-ТО Техническое описание 1.238-1.3-1 Плита парапетная ПП (ПП6.5, ПП6.6) 1.238-1.3-2 Плита парапетная ПП (ПП5.5, ПП5.6) 1.238-1.3-3 Плита парапетная ПП (ПП5.5-1, ПП6.6-1) 1.238-1.3-4 Плита парапетная ПП (ПП5.5-2, ПП6.6-2) 1.238-1.3-5 Сетка С (С1, С2) 1.238-1.3-6 Сетка С (С3, С4) 1.238-1.3-7 Сетка С (С5, С6) 1.238-1.3-8 Козырек входа КВ (КВ18.19-6, КВ18.19-13, КВ24.19-6, КВ24.19-13, КВ30.19-6, КВ30.19-13) 1.238-1.3-9 Каркас пространственный КП (КП1… КП6) 1.238-1.3-10 Сетка С (С7… С9) 1.238-1.3-11 Сетка С10 1.238-1.3-12 Сетка С11 1.238-1.3-13 Сетка С12 1.238-1.3-14 Сетка С (С13… С15) 1.238-1.3-15 Сетка С (С16, С17) 1.238-1.3-16 Сетка С 18 1.238-1.3-17 Петля распалубочная РП (РП1, РП2) 1.238-1.3-18 Петля строповочная СП (СП1… СП5) 1.238-1.3-19 Изделие закладное МН1 1.238-1.3-20 Труба для электропроводки 1.238-1.3-21 Козырек входа КВ (КВ24.19-6-1, КВ24.19-13-1, КВ30.19-6-1, КВ30.19-13-1) 1.238-1.3-22 Каркас пространственный КП (КП7… КП10) 1.238-1.3-23 Каркас КР (КР1, КР2) 1.238-1.3-24 Каркас КР3 1.238-1.3-25 Козырек входа КВ (КВ30.19-6-2, КВ30.19-13-2) 1.238-1.3-26 Каркас КП (КП11, КП12) 1.238-1.3-27 Каркас КП (КП13, КП14) 1.238-1.3-28 Сетка С19 1.238-1.3-29 Сетка С20 1.238-1.3-30 Каркас КР (КР4, КР5) 1.238-1.3-31 Каркас КР (КР6, КР7) 1.238-1.3-32 Изделие закладное МН2 1.238-1.3-33 Изделие закладное МН3 1.238-1.3-РС Ведомость расхода стали, кг |
| Разработан: | ЦНИИЭП учебных зданий Госгражданстроя |
| Утверждён: | 14.10.1991 Госкомархитектура (142) |
| Издан: | АПП ЦИТП (1991 г. ) |
| Заменяет собой: | |
| Нормативные ссылки: |
|






























































