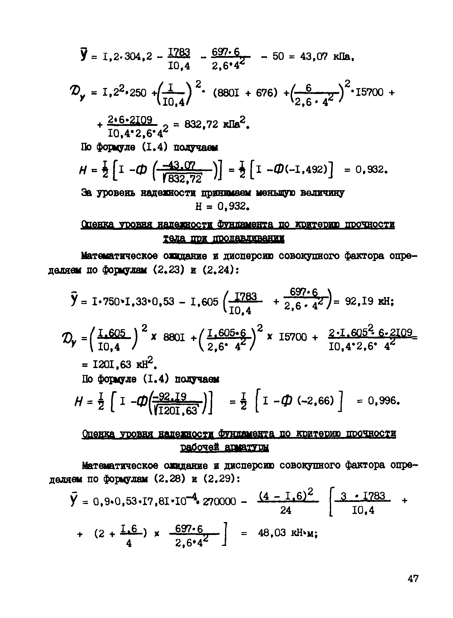
Скачать Рекомендации по вероятностному расчету оснований и фундаментов каркасных зданий. (Методика и алгоритм)Дата актуализации: 01.01.2021 |
| Статус: | действует |
| Название рус.: | Рекомендации по вероятностному расчету оснований и фундаментов каркасных зданий. (Методика и алгоритм) |
| Дата добавления в базу: | 01.09.2013 |
| Дата актуализации: | 01.01.2021 |
| Область применения: | Рекомендации распространяются на проектирование оснований и отдельно стоящих железобетонных фундаментов промышленных каркасных зданий. |
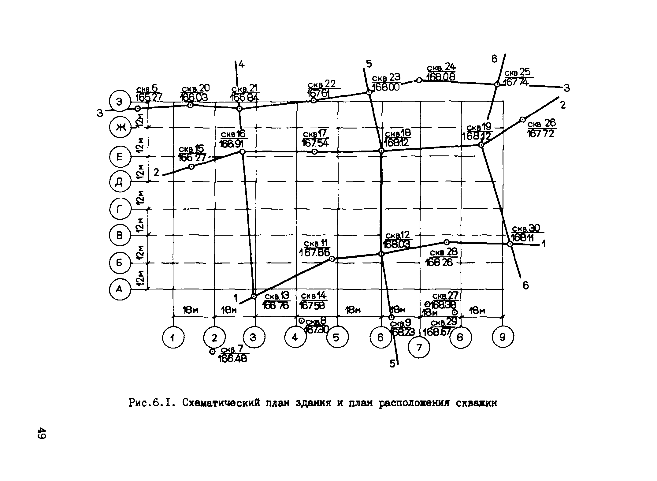
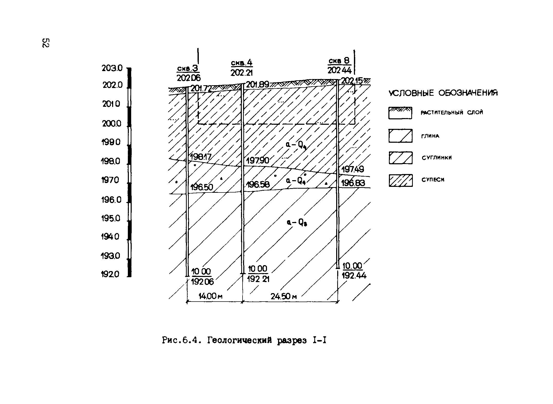
| Оглавление: | Введение 1 Основные положения расчета 2 Методика оценки уровня надежности оснований и фундаментов 3 Получение необходимых для расчета исходных параметров 4 Порядок расчета 5 Оценка статистических характеристик внутренних усилий в системе основание-каркасное здание 6 Примеры расчета Литература |
| Разработан: | НИИОСП им. Герсеванова Госстроя России |
| Издан: | ВНИИС Госстроя СССР (1985 г. ) |
| Нормативные ссылки: |
|

























































