Скачать ОСТ 24.125.55-89 Фланцы приварные встык с впадиной для трубопроводов АЭС. Конструкция и размерыДата актуализации: 01.01.2021 ОСТ 24.125.55-89
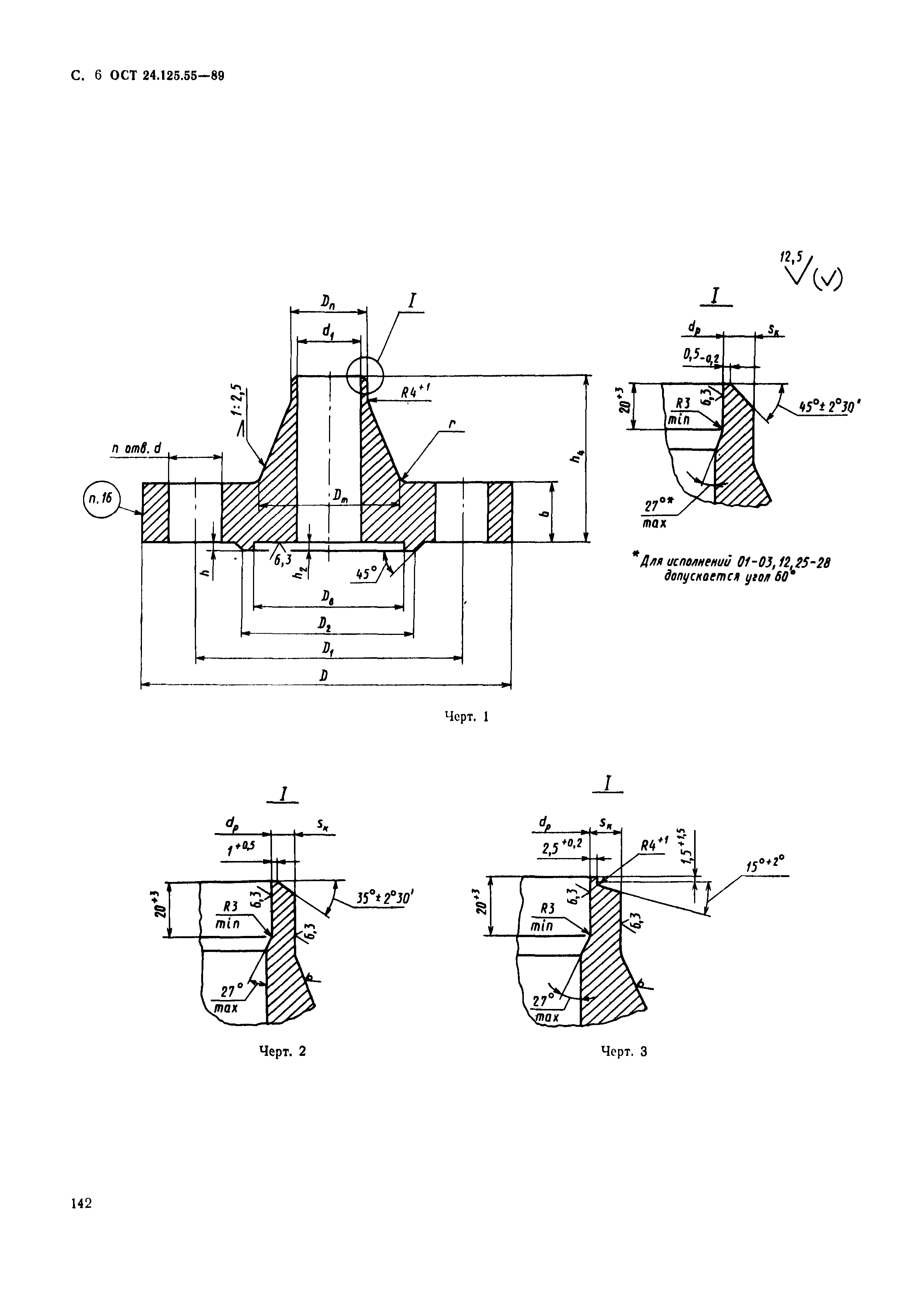
Фланцы приварные встык с впадиной для трубопроводов АЭС. Конструкция и размеры| Обозначение: | ОСТ 24.125.55-89 | | Обозначение англ: | OST 24.125.55-89 | | Статус: | не определен законодательством | | Название рус.: | Фланцы приварные встык с впадиной для трубопроводов АЭС. Конструкция и размеры | | Дата добавления в базу: | 01.09.2013 | | Дата актуализации: | 01.01.2021 | | Дата введения: | 01.01.1990 | | Дата окончания срока действия: | 30.06.2003 | | Область применения: | Стандарт распространяется на приварные встык фланцы с впадиной для трубопроводов АЭС. | | Разработан: | НПО ЦКТИ им. И.И. Ползунова
| | Утверждён: | 26.05.1989 Министерство тяжелого, энергетического и транспортного машиностроения СССР (ВА-002-1/4829)
| | Принят: | Минатомэнерго СССР (USSR Minatomenergo ) Госатомэнергонадзор СССР (USSR Gosatomenergonadzor )
| | Нормативные ссылки: | |
       
|