Скачать Руководство по проектированию, монтажу и эксплуатации светопрозрачных ограждений промышленных зданий с применением стеклопакетовДата актуализации: 01.01.2021 |
| Статус: | действует |
| Название рус.: | Руководство по проектированию, монтажу и эксплуатации светопрозрачных ограждений промышленных зданий с применением стеклопакетов |
| Дата добавления в базу: | 01.09.2013 |
| Дата актуализации: | 01.01.2021 |
| Область применения: | Документ распространяется на проектирование, монтаж и эксплуатацию окон и зенитных фонарей промышленных зданий с применением клееных стеклопакетов. |
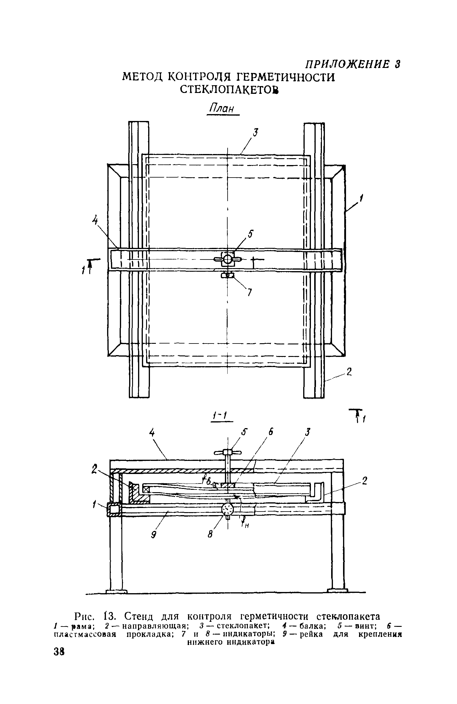
| Оглавление: | 1. Общие положения 2. Конструкции стеклопакетов и их свойства 3. Проектирование светопрозрачных конструкций с применением стеклопакетов 4. Материалы для герметизации светопрозрачных конструкций 5. Транспортирование и хранение стеклопакетов и светопрозрачных конструкций 6. Монтаж светопрозрачных конструкций 7. Эксплуатация и ремонт светопрозрачных конструкций Приложение 1. Заводы-изготовители клееных стеклопакетов Приложение 2. Номенклатура стеклопакетов для окон, балконных дверей, витрин и зенитных фонарей зданий промышленных предприятий, жилых и общественных зданий Приложение 3. Метод контроля герметичности стеклопакетов Приложение 4. Метод контроля точки росы в прослойке стеклопакета Приложение 5. Номенклатура окон производственных зданий Приложение 6. Номенклатура зенитных фонарей производственных зданий Приложение 7. Расчетные значения атмосферного давления и температур наружного воздуха для заводов-изготовителей стеклопакетов и некоторых городов СССР Приложение 8. Рекомендуемые толщины стекол в стеклопакетах, предназначенных для унифицированных конструкций зенитных фонарей Приложение 9. Пример расчета температур на внутренней поверхности окна Приложение 10. Пример расчета стеклопакета в окнах Приложение 11. Пример расчета стеклопакета в зенитных фонарях |
| Разработан: | ЦНИИпромзданий ВНИИтехстройстекло |
| Издан: | Стройиздат (1983 г. ) |
| Нормативные ссылки: |
|


















































