Скачать РД 34.10.059-90 Сварка монтажных соединений трубопроводов атомных энергетических установокДата актуализации: 01.01.2021
|
| Обозначение: | РД 34.10.059-90 |
| Обозначение англ: | RD 34.10.059-90 |
| Статус: | действует |
| Название рус.: | Сварка монтажных соединений трубопроводов атомных энергетических установок |
| Дата добавления в базу: | 01.09.2013 |
| Дата актуализации: | 01.01.2021 |
| Дата введения: | 01.01.1991 |
| Область применения: | Руководящий документ распространяется на сварку в монтажных условиях стыковых и угловых соединений трубопроводов атомных станций, на которые распространяется действие "Правил устройства и безопасной эксплуатации оборудования и трубопроводов атомных энергетических установок", а также "Правил устройства и безопасной эксплуатации трубопроводов пара и горячей воды и СНиП 3.05.05-84 "Технологическое оборудование и технологические трубопроводы". РД не распространяется на сварку соединений трубопроводов главных циркуляционных контуров атомной станции с водоводяными и уран-графитовыми реакторами, выполненных из аустенитной или плакированной стали; на сварку соединений трубопроводов I и II контуров, работающих в контакте с жидкометаллическим теплоносителем и трубопроводы основного парового контура атомной станции (трубопроводы III контура из стали марки 10X2М); на сварку стыковых и угловых соединений труб (патрубков), являющихся частью оборудования (парогенератор, барабан-сепаратор и т.д.). |
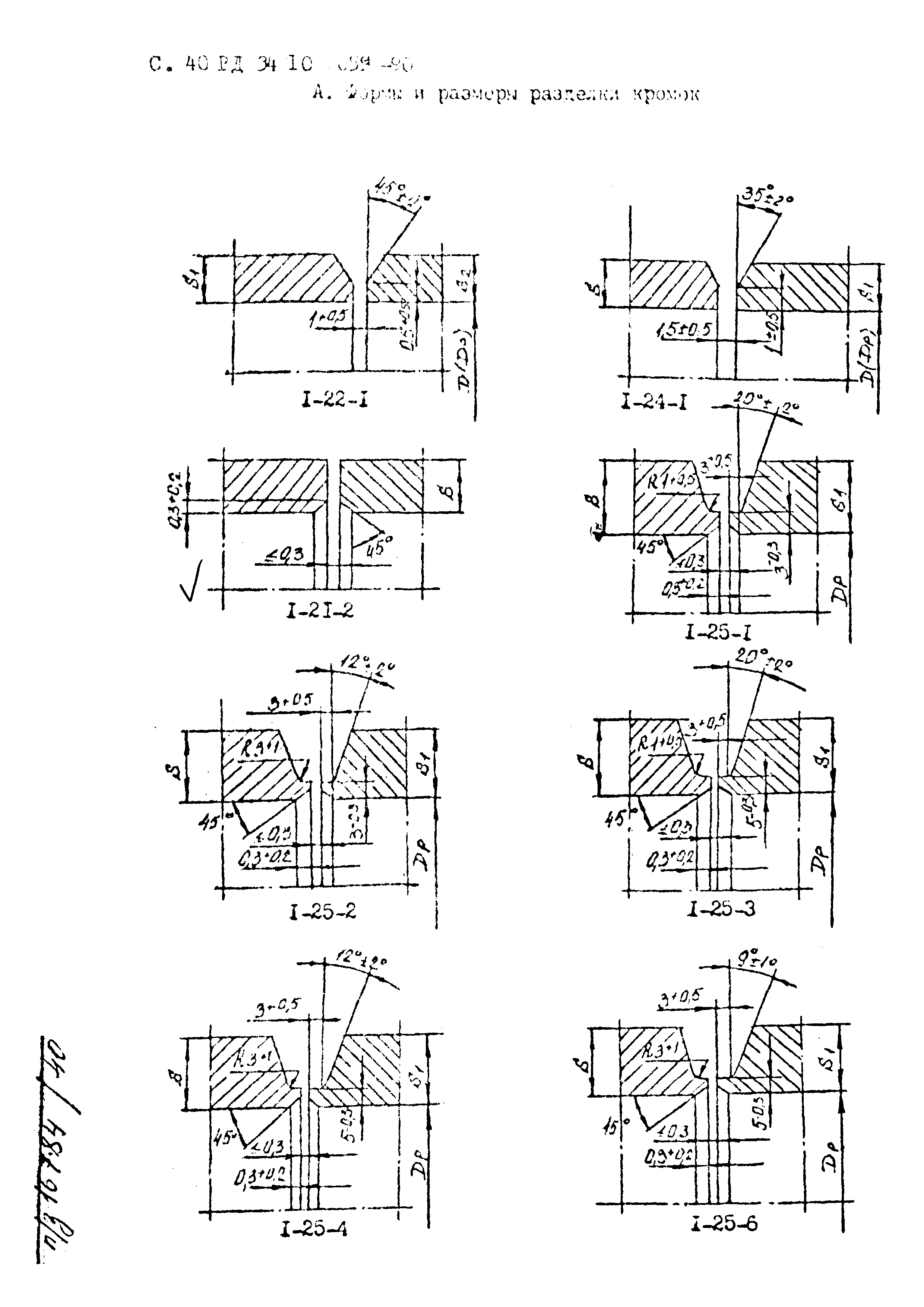
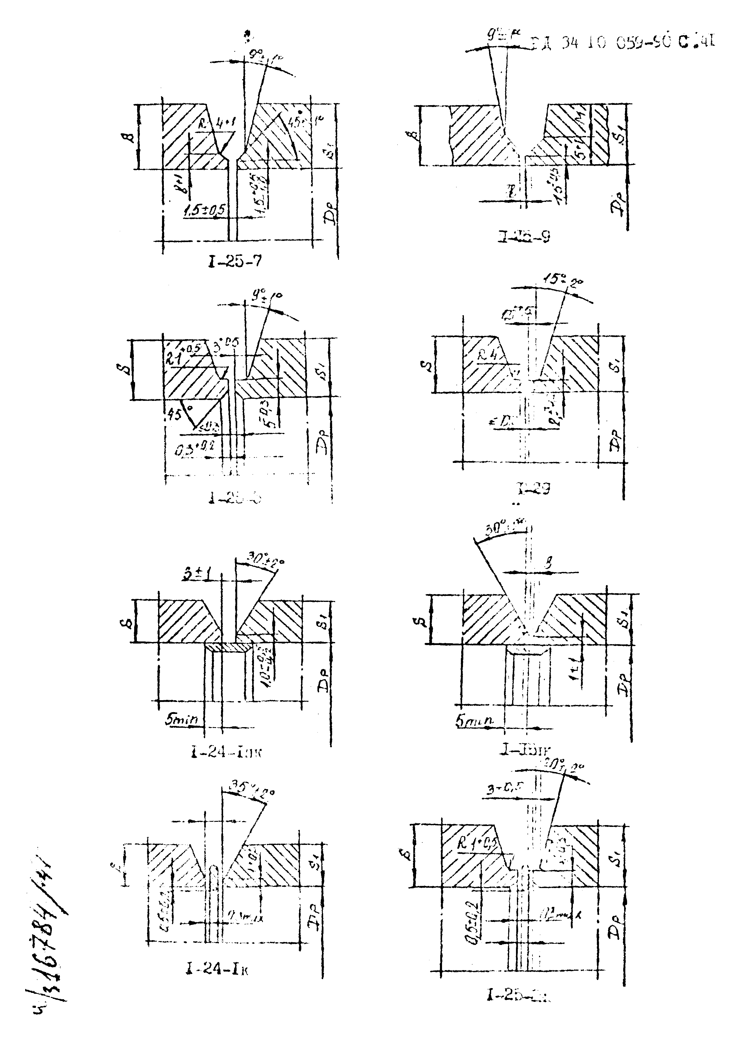
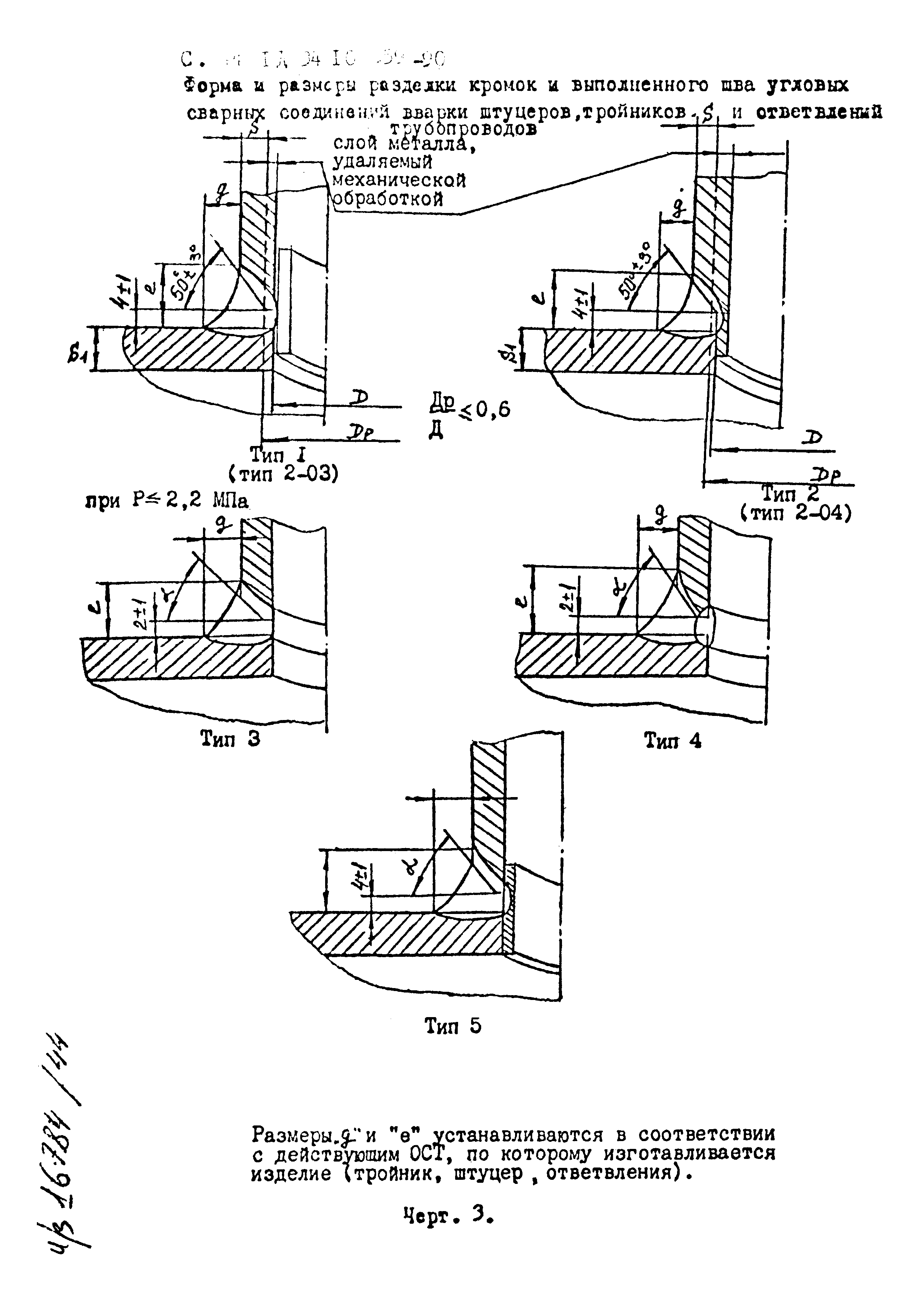
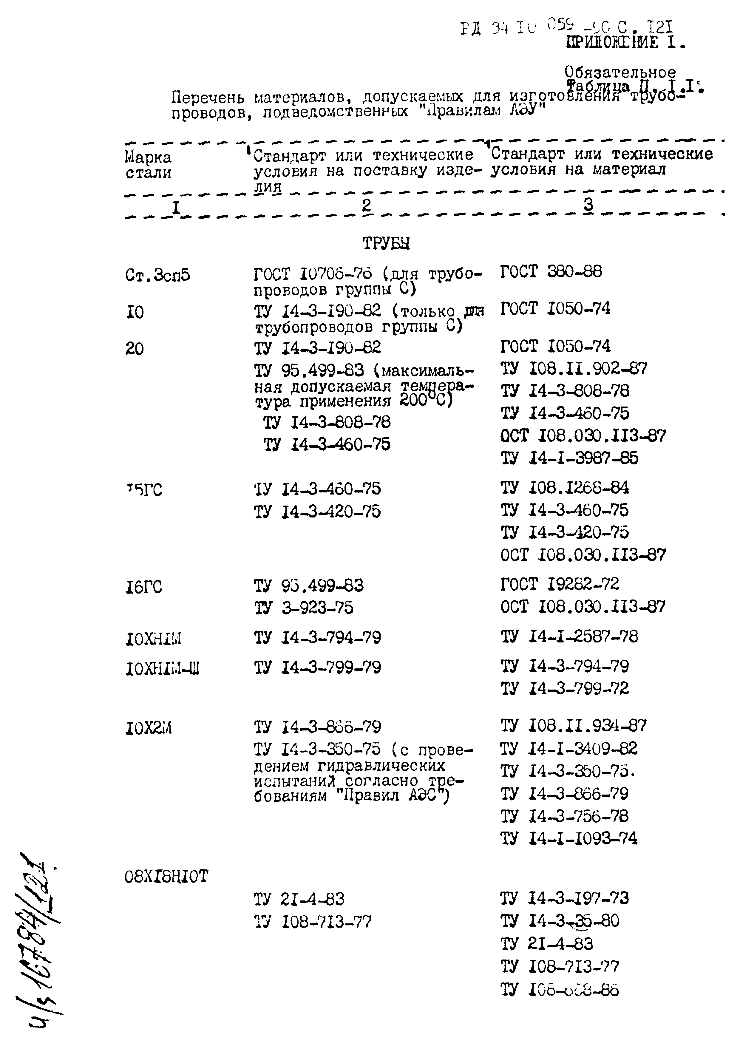
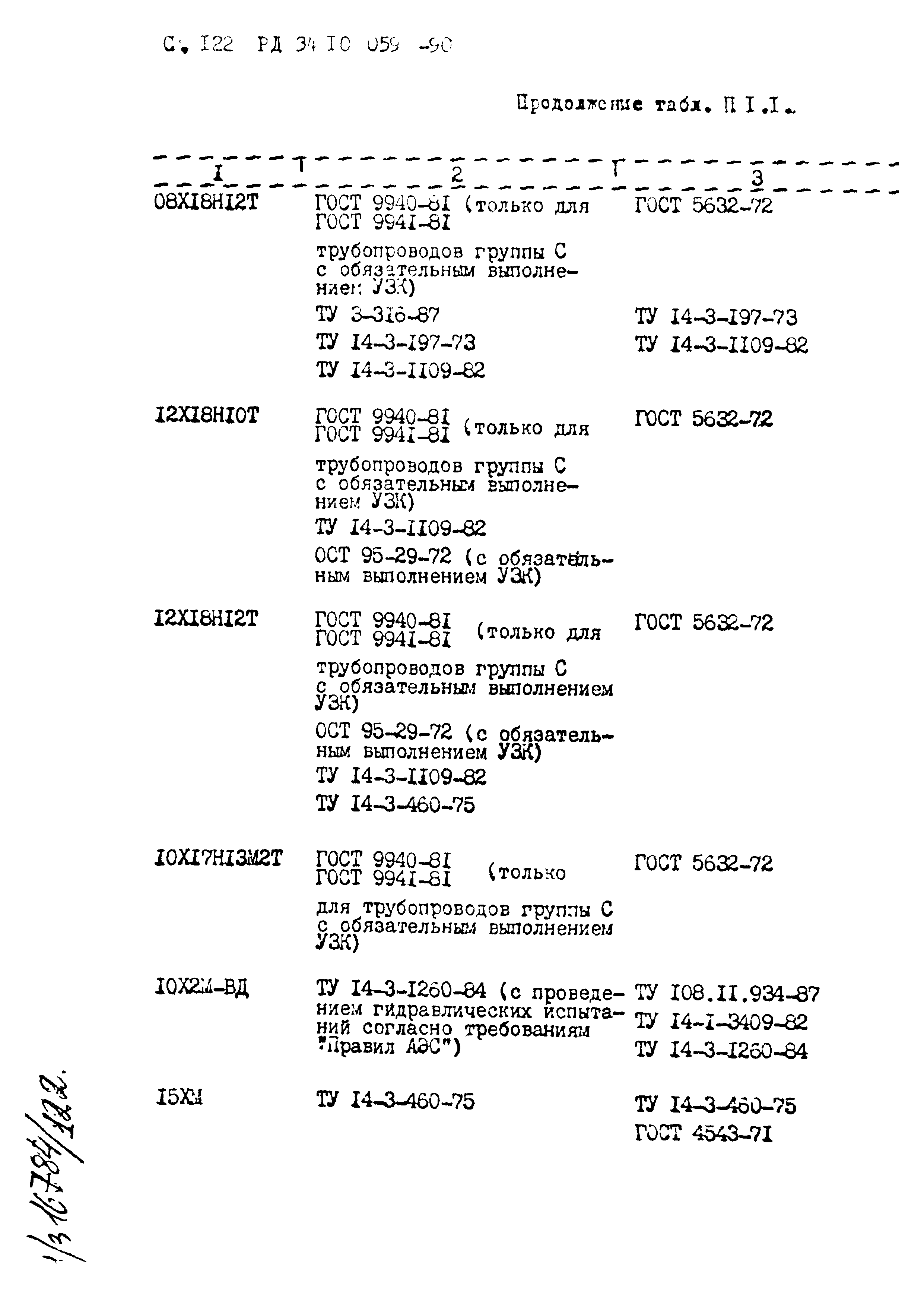
| Оглавление: | 1 Общие положения 2 Требования к квалификации персонала 3 Основные материалы 4 Сварочные материалы 5 Сварочное оборудование 6 Подготовка кромок труб, деталей и арматуры 7 Сборка соединений под сварку 8 Сварка 9 Исправление дефектов 10 Техника безопасности Приложение 1. Перечень материалов, допускаемых для изготовления трубопроводов Приложение 2. Рекомендуемые к применению источники питания для дуговой сварки и их технические характеристики Приложение 3. Горелки для ручной аргонодуговой сварки и их технические характеристики Приложение 4. Автоматы для сварки неповоротных стыков Приложение 5. Размеры швов стыковых сварных соединений Приложение 6. Перечень нормативно-технической документации на сварочные материалы Информационные данные |
| Разработан: | Институт Энергомонтажпроект |
| Утверждён: | 19.10.1990 ССО Энергомонтаж Минэнерго СССР |
| Список изменений: |
|
| Заменяет собой: | |
| Нормативные ссылки: |
|


















































































































































Текстовое изменение № 1




