Скачать ГОСТ Р 51365-2009 Нефтяная и газовая промышленность. Оборудование для бурения и добычи. Оборудование устья скважины и фонтанное устьевое оборудование. Общие технические требования

Дата актуализации: 01.01.2021

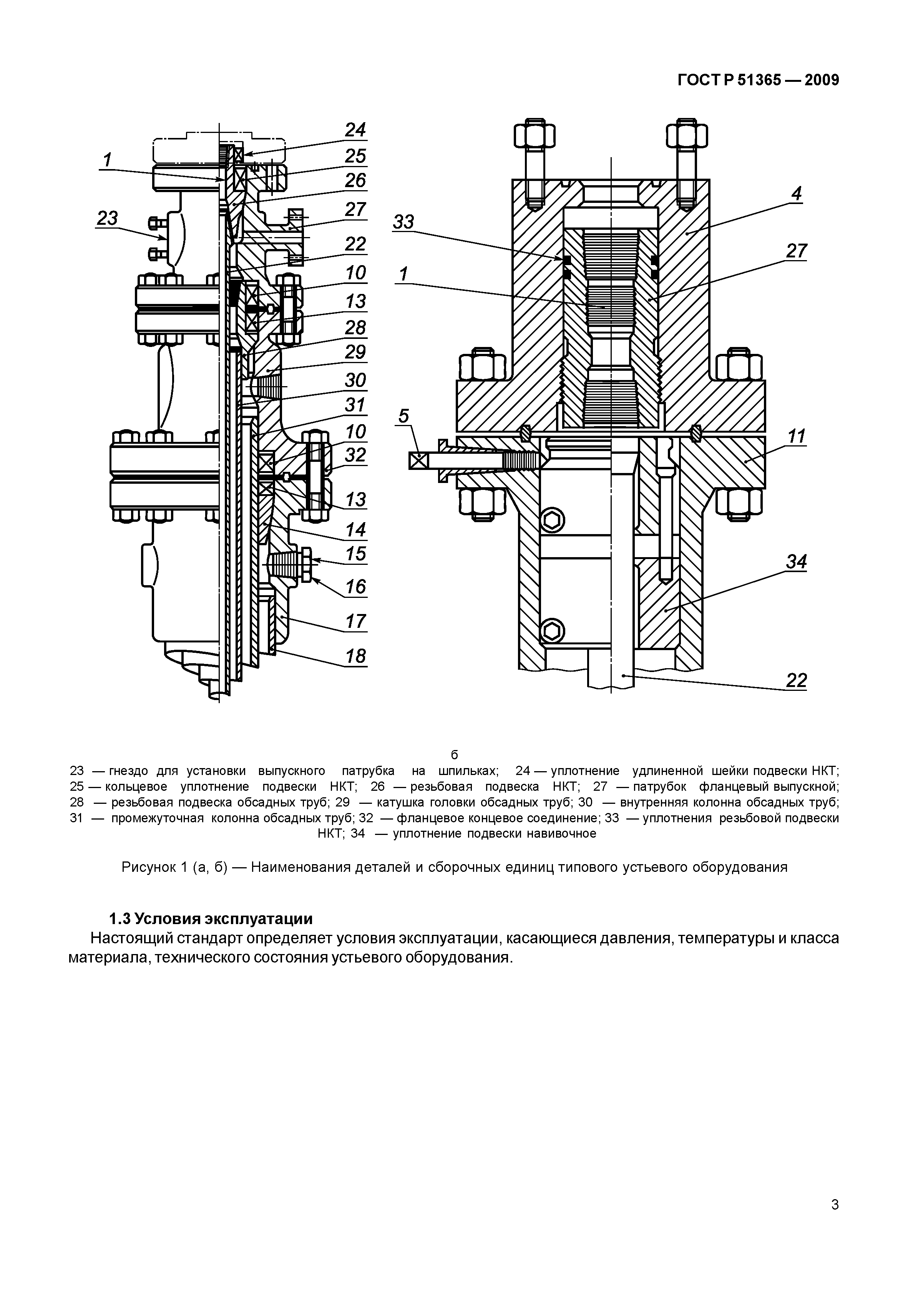
ГОСТ Р 51365-2009

Нефтяная и газовая промышленность. Оборудование для бурения и добычи. Оборудование устья скважины и фонтанное устьевое оборудование. Общие технические требования

Обозначение: ГОСТ Р 51365-2009
Обозначение англ: GOST R 51365-2009
Статус:действует
Название рус.:Нефтяная и газовая промышленность. Оборудование для бурения и добычи. Оборудование устья скважины и фонтанное устьевое оборудование. Общие технические требования
Название англ.:Petroleum and natural gas industries. Drilling and production equipment. Wellhead and christmas tree equipment. General specifications
Дата добавления в базу:01.09.2013
Дата актуализации:01.01.2021
Дата введения:01.01.2011
Область применения:Стандарт распространяется на устьевое оборудование и фонтанную арматуру, применяемые при добыче нефти и газа, и устанавливает основные технические характеристики, требования к размерной и функциональной взаимозаменяемости, требования к проектированию и изготовлению, материалам, испытаниям и контролю, сварке, маркировке, погрузо-разгрузочным операциям, хранению, приобретению, ремонту и модернизации. Стандарт не распространяется на испытания и (или) ремонт устьевого оборудования и фонтанной арматуры в промысловых условиях.
Оглавление:1 Область применения
   1.1 Цель
   1.2 Область применения
   1.3 Условия эксплуатации
2 Нормативные ссылки
3 Термины и определения
4 Общие технические требования
   4.1 Функциональные и рабочие требования
   4.2 Уровень технических требований к изделию
   4.3 Требования взаимозаменяемости
   4.4 Требования к конструированию
   4.5 Требования к климатическому исполнению
   4.6 Требования к конструкции фонтанной арматуры
   4.7 Требования к конструкции колонных обвязок (колонных головок)
   4.8 Требования к конструкции запорной арматуры
   4.9 Требования к конструкции обратных клапанов
   4.10 Требования к конструкции дросселей
   4.11 Требования к конструкции пробоотборника
   4.12 Уровень технических требований (УТР) к рабочим характеристикам
   4.13 Температурные характеристики
   4.14 Требования безопасности, предусмотренные в конструкции при проектировании оборудования
   4.15 Требования к проверке работоспособности конструкции
   4.16 Требования к материалам
   4.17 Требования к сварке
   4.18 Требования к контролю качества
   4.19 Специальные требования к оборудованию
   4.20 Требования к маркировке
   4.21 Требования к хранению и транспортированию
   4.22 Требования к документации
Приложение А (рекомендуемое) Рекомендации по определению уровней технических требований (УТТ) к оборудованию
Приложение Б (справочное) Рекомендации по переводу внесистемных единиц измерений в метрическую систему СИ
Приложение В (рекомендуемое) Основные требования к расчету на прочность узлов и деталей оборудования
Приложение Г (справочное) Шаблон для проверки соосности стволовых проходов
Приложение Д (рекомендуемое) Спецификация процесса сварки (СПдС)
Приложение Е (рекомендуемое) Протокол квалификации процедуры сварки (ПКП)
Приложение Ж (обязательное) Определение понятия однотипных сварных соединений
Приложение З (обязательное) Проектирование и изготовление наземного устьевого оборудования, связанного со спуском, извлечением, испытанием и очисткой инструмента, в том числе и сменных вкладышей
Библиография
Разработан: Фонд Стандарт ТЭК
ЗАО НЕФТЕМАШ
Утверждён:15.12.2009 Федеральное агентство по техническому регулированию и метрологии (1070-ст)
Издан: Стандартинформ (2011 г. )
Заменяет собой:
Нормативные ссылки:
ГОСТ Р 51365-2009ГОСТ Р 51365-2009ГОСТ Р 51365-2009ГОСТ Р 51365-2009ГОСТ Р 51365-2009ГОСТ Р 51365-2009ГОСТ Р 51365-2009ГОСТ Р 51365-2009ГОСТ Р 51365-2009ГОСТ Р 51365-2009ГОСТ Р 51365-2009ГОСТ Р 51365-2009ГОСТ Р 51365-2009ГОСТ Р 51365-2009ГОСТ Р 51365-2009ГОСТ Р 51365-2009ГОСТ Р 51365-2009ГОСТ Р 51365-2009ГОСТ Р 51365-2009ГОСТ Р 51365-2009ГОСТ Р 51365-2009ГОСТ Р 51365-2009ГОСТ Р 51365-2009ГОСТ Р 51365-2009ГОСТ Р 51365-2009ГОСТ Р 51365-2009ГОСТ Р 51365-2009ГОСТ Р 51365-2009ГОСТ Р 51365-2009ГОСТ Р 51365-2009ГОСТ Р 51365-2009ГОСТ Р 51365-2009ГОСТ Р 51365-2009ГОСТ Р 51365-2009ГОСТ Р 51365-2009ГОСТ Р 51365-2009ГОСТ Р 51365-2009ГОСТ Р 51365-2009ГОСТ Р 51365-2009ГОСТ Р 51365-2009ГОСТ Р 51365-2009ГОСТ Р 51365-2009ГОСТ Р 51365-2009ГОСТ Р 51365-2009ГОСТ Р 51365-2009ГОСТ Р 51365-2009ГОСТ Р 51365-2009ГОСТ Р 51365-2009ГОСТ Р 51365-2009ГОСТ Р 51365-2009ГОСТ Р 51365-2009ГОСТ Р 51365-2009ГОСТ Р 51365-2009ГОСТ Р 51365-2009ГОСТ Р 51365-2009ГОСТ Р 51365-2009ГОСТ Р 51365-2009ГОСТ Р 51365-2009ГОСТ Р 51365-2009ГОСТ Р 51365-2009ГОСТ Р 51365-2009ГОСТ Р 51365-2009