Скачать ГОСТ Р 54858-2011 Конструкции фасадные светопрозрачные. Метод определения приведенного сопротивления теплопередачеДата актуализации: 01.01.2021
|
| Обозначение: | ГОСТ Р 54858-2011 |
| Обозначение англ: | GOST R 54858-2011 |
| Статус: | введен впервые |
| Название рус.: | Конструкции фасадные светопрозрачные. Метод определения приведенного сопротивления теплопередаче |
| Название англ.: | Construction facade translucent. Method of determination thermal characteristics calculation |
| Дата добавления в базу: | 01.09.2013 |
| Дата актуализации: | 01.01.2021 |
| Дата введения: | 01.07.2012 |
| Область применения: | Стандарт распространяется на светопрозрачные фасадные конструкции, а также на различные типы оконных и дверных блоков и устанавливает процедуры расчета их теплотехнических характеристик. Установленные стандартом процедуры расчета теплотехнических характеристик предназначены для использования с помощью компьютерных программ на стадии проектирования строительных объектов, сопоставления различных вариантов конструкций и при анализе энергопотребления здания. Отдельные разделы стандарта могут быть использованы для оценки применения различных ограждающих фасадных конструкций в зданиях. Стандарт не предназначен для расчета теплотехнических характеристик светопрозрачных конструкций с целью их сертификации. |
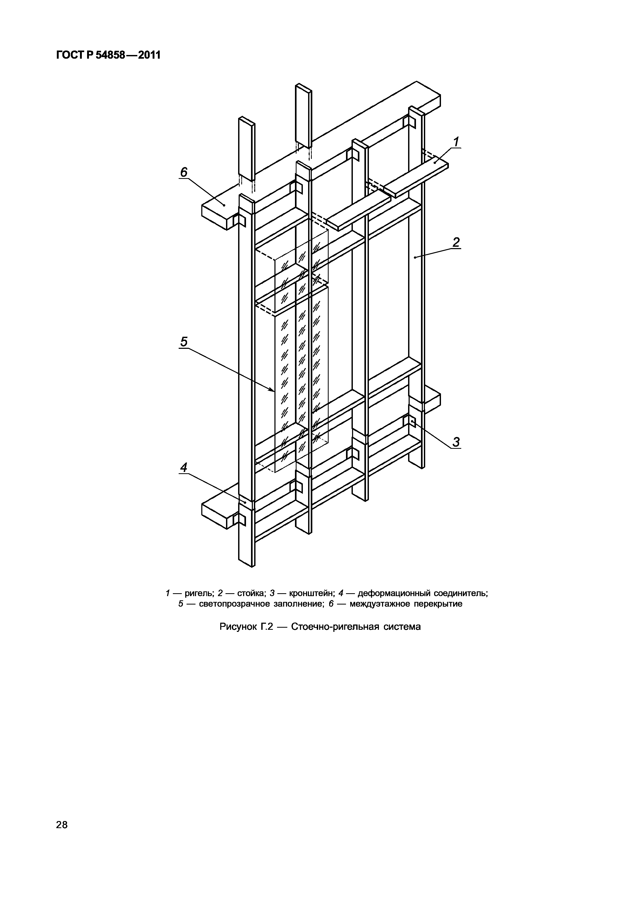
| Оглавление: | 1 Область применения 2 Нормативные ссылки 3 Термины и определения 4 Определение теплотехнических характеристик светопрозрачных ограждающих (фасадных) конструкций, оконных и дверных блоков 5 Теплотехнические характеристики светопрозрачной области 6 Свойства непрозрачных элементов конструкции (рамы) 7 Граничные условия 8 Расчет теплотехнических характеристик фасадных конструкций Приложение А (справочное) Расчетные значения линейного коэффициента теплопередачи остекления в краевых зонах Приложение Б (рекомендуемое) Расчет конвективной составляющей теплообмена Приложение В (рекомендуемое) Расчет лучистой составляющей теплообмена Приложение Г (справочное) Типы светопрозрачных фасадных конструкций Библиография |
| Разработан: | НИИСФ РААСН |
| Утверждён: | 15.12.2011 Федеральное агентство по техническому регулированию и метрологии (1563-ст) |
| Издан: | Стандартинформ (2012 г. ) |
| Нормативные ссылки: |
|








































