Скачать ГОСТ 26602.1-99 Блоки оконные и дверные. Методы определения сопротивления теплопередачеДата актуализации: 01.01.2021
|
| Обозначение: | ГОСТ 26602.1-99 |
| Обозначение англ: | GOST 26602.1-99 |
| Статус: | взамен |
| Название рус.: | Блоки оконные и дверные. Методы определения сопротивления теплопередаче |
| Название англ.: | Windows and doors. Methods of determination of resistance of thermal transmission |
| Дата добавления в базу: | 01.09.2013 |
| Дата актуализации: | 01.01.2021 |
| Дата введения: | 01.01.2000 |
| Область применения: | Стандарт устанавливает методы определения сопротивления теплопередаче оконных и дверных остекленных блоков и их элементов, изготавливаемых из различных материалов, для отапливаемых зданий и сооружений различного назначения. Методы, установленные в стандарте, применяют при проведении типовых, сертификационных и других периодических лабораторных испытаний. Допускается использование методов стандарта для определения сопротивления теплопередаче глухих дверных блоков, зенитных фонарей, витражей и их фрагментов, а также стеклопакетов и профильных систем. |
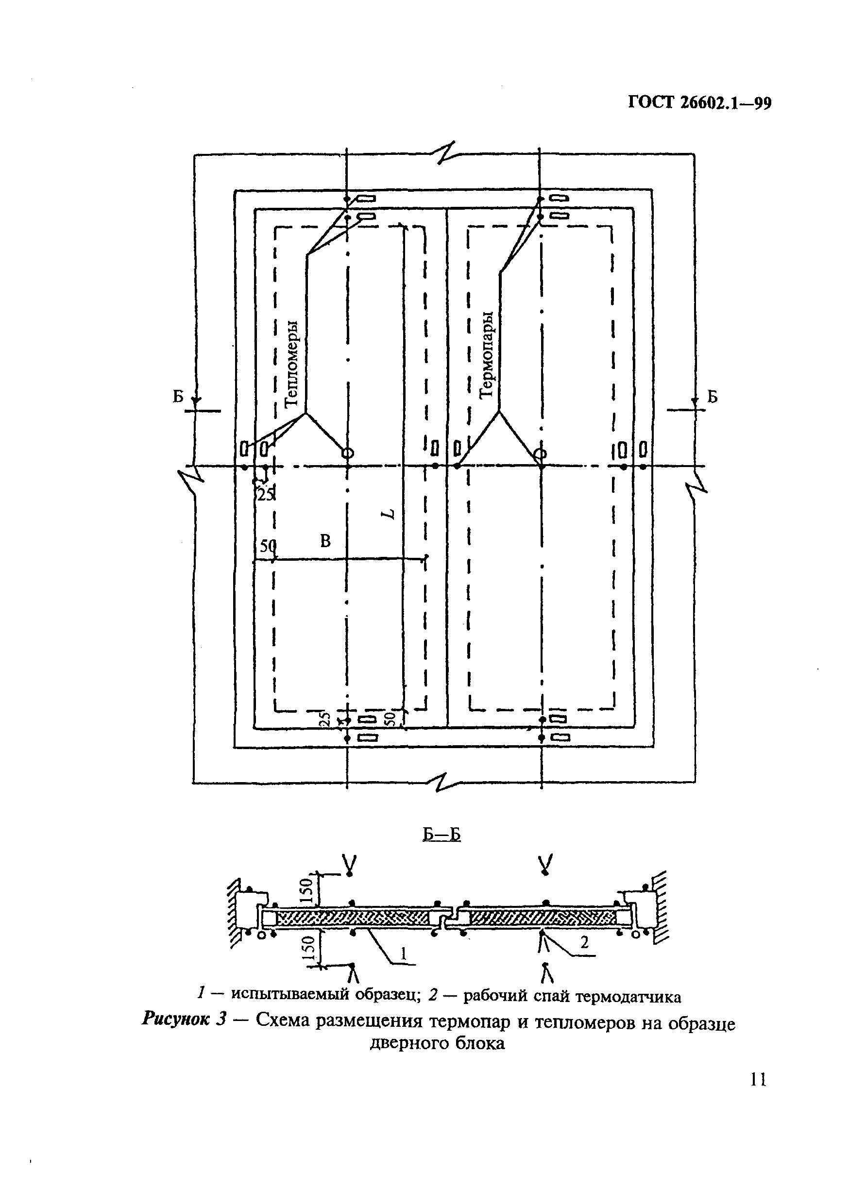
| Оглавление: | 1 Область применения 2 Нормативные ссылки 3 Термины, обозначения и определения 4 Сущность методов 5 Испытательное оборудование и средства контроля 6 Отбор и подготовка образцов 7 Подготовка к испытаниям 8 Проведение испытаний 9 Обработка результатов испытаний 10 Оформление результатов испытаний Приложение А Методика поверки испытательного оборудования Приложение Б Формы записи результатов испытаний Приложение В Расчетный метод определения сопротивления теплопередаче Приложение Г Сведения о разработчиках стандарта |
| Разработан: | Управление стандартизации, технического нормирования и сертификации Госстроя России Федеральный научно-технический центр сертификации в строительстве Ассоциация производителей энергоэффективных окон РФ НИИСФ РААСН |
| Утверждён: | 20.05.1999 МНТКС (MNTKS ) 17.11.1999 Госстрой России (Russian Federation Gosstroy 60) |
| Издан: | ГУП ЦПП (CPP GUP 2000 г. ) |
| Список изменений: |
|
| Заменяет собой: | |
| Нормативные ссылки: |
|

































Текстовое изменение Поправка от 23.10.2018