ГОСТ 30971-2002
МЕЖГОСУДАРСТВЕННЫЙ СТАНДАРТ
ШВЫ МОНТАЖНЫЕ
УЗЛОВ ПРИМЫКАНИЙ
ОКОННЫХ БЛОКОВ
К СТЕНОВЫМ ПРОЕМАМ
Общие технические условия
МЕЖГОСУДАРСТВЕННАЯ НАУЧНО-ТЕХНИЧЕСКАЯ КОМИССИЯ
ПО СТАНДАРТИЗАЦИИ, ТЕХНИЧЕСКОМУ НОРМИРОВАНИЮ
И СЕРТИФИКАЦИИ В СТРОИТЕЛЬСТВЕ
(МНТКС)
Предисловие
1 РАЗРАБОТАН НИУПЦ «Межрегиональный институт окна», Научно-исследовательским институтом строительной физики РААСН с участием компании «illbruck», СибАДИ, ООО «Концепция СПК», фирм «fischer» и «Gealan Werk Fickenscher GmbH»
ВНЕСЕН Госстроем России
2 ПРИНЯТ Межгосударственной научно-технической комиссией по стандартизации, техническому нормированию и сертификации в строительстве (МНТКС) 24 апреля 2002 г.
За принятие проголосовали
|
Наименование государства |
Наименование органа государственного управления строительством |
|
Азербайджанская Республика |
Госстрой Азербайджанской Республики |
|
Республика Армения |
Министерство градостроительства Республики Армения |
|
Республика Казахстан |
Комитет по делам строительства Министерства энергетики, индустрии и торговли Республики Казахстан |
|
Кыргызская Республика |
Государственная инспекция по архитектуре и строительству при Правительстве Кыргызской Республики |
|
Республика Молдова |
Министерство развития территорий, строительства и коммунального хозяйства Республики Молдова |
|
Российская Федерация |
Госстрой России |
|
Республика Узбекистан |
Государственный комитет строительства, архитектуры и жилищной политики Узбекистана |
3 ВВЕДЕН ВПЕРВЫЕ
4 ВВЕДЕН В ДЕЙСТВИЕ с 1 марта 2003 г. в качестве государственного стандарта Российской Федерации постановлением Госстроя России от 2 сентября 2002 г. № 115
СОДЕРЖАНИЕ
МЕЖГОСУДАРСТВЕННЫЙ СТАНДАРТ
ШВЫ МОНТАЖНЫЕ УЗЛОВ ПРИМЫКАНИЙ
ОКОННЫХ БЛОКОВ К СТЕНОВЫМ ПРОЕМАМ
Общие технические условия
ERECTION TO JOINTS OF WINDOW
ASSEMBLIES
ADJOINED TO WALL OPENINGS
General specifications
Дата введения 2003-03-01
Настоящий стандарт распространяется на монтажные швы узлов примыканий оконных и наружных дверных блоков (далее - оконных блоков) к стеновым проемам.
Стандарт применяют при проектировании, разработке конструкторской и технологической документации, а также производстве работ при строительстве, реконструкции и ремонте зданий и сооружений различного назначения с учетом требований действующих строительных норм и правил. Требования стандарта также применяют при замене оконных блоков в эксплуатируемых помещениях.
Требования настоящего стандарта могут быть использованы при проектировании монтажных швов узлов примыканий витражных и других фасадных конструкций, а также монтажных швов сопряжений конструкций между собой.
Стандарт не распространяется на монтажные швы узлов примыканий оконных блоков специального назначения (например, противопожарных, взрывозащитных и др.), а также изделий, предназначенных для применения в неотапливаемых помещениях.
Стандарт может быть использован для целей сертификации.
В настоящем стандарте приведены ссылки на следующие стандарты:
ГОСТ 166-89 Штангенциркули. Технические условия
ГОСТ 427-75 Линейки измерительные металлические. Технические условия
ГОСТ 2678-94 Материалы рулонные кровельные и гидроизоляционные. Методы испытаний
ГОСТ 7076-99 Материалы и изделия строительные. Метод определения теплопроводности и термического сопротивления при стационарном тепловом режиме
ГОСТ 7502-98 Рулетки измерительные металлические. Технические условия
ГОСТ 7912-74 Резина. Метод определения температурного предела хрупкости
ГОСТ 10174-90 Прокладки уплотняющие пенополиуретановые для окон и дверей. Технические условия
ГОСТ 17177-94 Материалы и изделия строительные теплоизоляционные. Методы испытаний
ГОСТ 23166-99 Блоки оконные. Общие технические условия
ГОСТ 24700-99 Блоки оконные деревянные со стеклопакетами. Технические условия
ГОСТ 25898-83 Материалы и изделия строительные. Методы определения сопротивления паропроницанию
ГОСТ 26433.0-85 Система обеспечения точности геометрических параметров в строительстве. Правила выполнения измерений. Общие положения
ГОСТ 26433.1-89 Система обеспечения точности геометрических параметров в строительстве. Правила выполнения измерений. Элементы заводского изготовления
ГОСТ 26433.2-94 Система обеспечения точности геометрических параметров в строительстве. Правила выполнения измерений параметров зданий и сооружений
ГОСТ 26589-94 Материалы кровельные и гидроизоляционные. Методы испытаний
ГОСТ 26602.1-99 Блоки оконные и дверные. Методы определения сопротивления теплопередаче
ГОСТ 26602.2-99 Блоки оконные и дверные. Методы определения воздухо- и водопроницаемости
ГОСТ 26602.3-99 Блоки оконные и дверные. Метод определения звукоизоляции
ГОСТ 30673-99 Профили поливинилхлоридные для оконных и дверных блоков. Технические условия
В настоящем стандарте использованы следующие термины и определения:
Узел примыкания оконного блока к стеновому проему - конструктивная система, обеспечивающая сопряжение стенового оконного проема (в том числе элементов наружного и внутреннего откосов) с коробкой оконного блока, включающая в себя монтажный шов, подоконную доску, слив, а также облицовочные и крепежные детали.
Монтажный зазор - пространство между поверхностью стенового проема и коробкой оконного (дверного) блока.
Монтажный шов - элемент узла примыкания, представляющий из себя комбинацию из различных изоляционных материалов, используемых для заполнения монтажного зазора и обладающих заданными характеристиками.
Силовое эксплуатационное воздействие на монтажный шов - воздействие, возникающее от взаимных перемещений оконной коробки (рамы) и стенового проема при изменении линейных размеров от температурно-влажностных и других воздействий, а также при усадке зданий.
Деформационная устойчивость монтажного шва - способность монтажного шва сохранять заданные характеристики при изменении линейных размеров монтажного зазора в результате различных эксплуатационных воздействий.
4.1 Конструкции монтажных швов узлов примыканий оконных блоков к стеновым проемам классифицируют по следующим эксплуатационным характеристикам:
- сопротивлению теплопередаче;
- стойкости к силовым эксплуатационным воздействиям;
- воздухопроницаемости;
- водопроницаемости;
- звукоизоляции;
- паропроницаемости.
4.2 Показатели основных эксплуатационных характеристик монтажных швов подразделяют на классы согласно таблице 1.
Таблица 1
|
Класс |
Значение показателя |
|
|
Сопротивление теплопередаче, м2·°С/Вт |
I |
3,0 и более |
|
II |
От 2,1 до 2,9 |
|
|
III |
» 1,2 » 2,0 |
|
|
Воздухопроницаемость при DР = 100 Па, м3/(ч·м) |
I |
Менее 0,1 |
|
II |
От 0,1 до 0,5 |
|
|
III |
» 0,6 » 1,0 |
|
|
Водопроницаемость (предел водонепроницаемости), Па |
I |
600 и более |
|
II |
От 450 до 599 |
|
|
III |
» 300 » 449 |
|
|
Деформационная устойчивость, % |
1 |
Свыше 17 |
|
II |
От 14,0 до 17,0 |
|
|
III |
» 10,0 » 13,0 |
|
|
Звукоизоляция, дБА |
I |
Свыше 40 |
|
II |
От 34 до 40 |
|
|
III |
» 28 » 33 |
|
|
Примечания 1 Водопроницаемость классифицируют по пределу водонепроницаемости наружного гидроизоляционного слоя монтажного шва. 2 Показатель деформационной устойчивости монтажного шва принимают по слою, имеющему худшее значение этого показателя |
||
4.3 Класс монтажного шва по показателям сопротивления теплопередаче, воздухо- и водопроницаемости, паропроницаемости, деформационной устойчивости, звукоизоляции устанавливают в рабочей документации на узлы примыканий оконных блоков к стеновым проемам.
4.4 Стойкость монтажных швов к силовым эксплуатационным воздействиям классифицируют по показателю деформационной устойчивости. За показатель деформационной устойчивости принимают величину отношения значения наибольшего изменения заданного размера монтажного шва (без разрушения или критического снижения заданных характеристик) к значению заданного размера шва, выраженную в процентах.
4.5 Классификационными признаками паропроницаемости монтажных швов являются:
- величина и соотношение значений сопротивления паропроницанию слоев (материалов) монтажного шва;
- величина приращения расчетного массового отношения влаги в материале центрального слоя шва за период влагонакопления.
(Поправка, ИУС № 10 2005 г.).
Пароизоляционные свойства монтажных швов могут также характеризоваться конструктивными признаками. Например, наличием или отсутствием пароизоляционной прокладки между пенным утеплителем и поверхностью стенового проема.
Требования к пароизоляции монтажных швов и их значения устанавливают в проектной и конструкторской документации на конкретные строительные объекты.
4.6 Условное обозначение монтажного шва должно включать в себя буквенное обозначение «ШМ» - шов монтажный, цифровые обозначения классов по показателям сопротивления теплопередаче и деформационной устойчивости.
Пример условного обозначения монтажного шва:
ШМ III-I ГОСТ 30971-2002 - шов монтажный с классами по сопротивлению теплопередаче - III, деформационной устойчивости - I.
В договоре, паспорте и другой документации на монтажные швы рекомендуется дополнительно указывать классификацию швов по другим классифицируемым параметрам, а также другую техническую информацию по согласованию изготовителя с потребителем, в том числе конкретные значения (диапазоны значений) технических характеристик монтажных швов и материалов, применяемых для их устройства, подтвержденные результатами испытаний.
5.1.1 Монтажный шов состоит из трех слоев, которые подразделяют по основному функциональному назначению:
наружный - водоизоляционный, паропроницаемый;
центральный - теплоизоляционный;
внутренний - пароизоляционный.
Каждый из слоев монтажного шва может, кроме основных, выполнять и дополнительные функции (например, наружный слой может иметь существенное сопротивление теплопередаче), что необходимо учитывать при определении расчетных характеристик конструкции. Принципиальная схема монтажного шва показана на рисунке 1.
I - наружный водоизоляционный паропроницаемый слой;
II - центральный теплоизоляционный слой;
III - внутренний пароизоляционный слой
Рисунок 1 - Принципиальная схема монтажного шва
5.1.2 Конструкции монтажных швов устанавливают в рабочей документации на монтажные узлы примыкания конкретных видов оконных блоков к стеновым проемам с учетом действующих строительных норм и правил и требований настоящего стандарта. Примеры конструктивных решений монтажных швов приведены в приложении А.
5.1.3 Конструкции монтажных швов должны быть устойчивы к различным эксплуатационным воздействиям: атмосферным факторам, температурно-влажностным воздействиям со стороны помещения, силовым (температурным, усадочным и др.) деформациям.
5.1.4 Выбор материалов для устройства монтажных швов и определение размеров монтажных зазоров следует производить с учетом возможных эксплуатационных (температурных, осадочных) изменений линейных размеров оконных блоков и стеновых проемов по показателю деформационной устойчивости. При этом эластичные изоляционные материалы, предназначенные для эксплуатации в сжатом состоянии, должны быть подобраны с учетом их расчетной (рабочей) степени сжатия.
5.1.5 Величина сопротивления теплопередаче монтажного шва должна обеспечивать температуру внутренней поверхности оконного откоса и конструкции не ниже требуемой строительными нормами и правилами.
Значения показателей воздухо-, водопроницаемости, звукоизоляции монтажных швов не следует принимать ниже значений этих показателей для применяемых оконных блоков.
5.1.6 В зависимости от конфигурации поверхностей стеновых проемов монтажные швы могут быть прямыми (оконный проем без четверти) или угловыми (оконный проем с четвертью).
5.1.7 С наружной стороны монтажные швы могут быть защищены специальными профильными деталями: дождезащитными нащельниками, звукоизоляционными накладками и др.
С внутренней стороны монтажные швы могут быть закрыты штукатурным слоем или деталями облицовки оконных откосов.
5.2.1 Наружный слой монтажного шва должен быть водонепроницаем при дождевом воздействии при заданном (расчетном) перепаде давления между наружной и внутренней поверхностями монтажного шва.
5.2.3 Материалы наружного слоя должны быть устойчивы к воздействию эксплуатационных температур в диапазоне:
для швов обычного исполнения - от минус 35 °С до 70 °С;
для швов морозостойкого исполнения - от ниже минус 36 °С до 70 °С.
Примечание - Нижний предел отрицательных эксплуатационных температур, подтвержденный результатами испытаний, указывают в сопроводительной документации (паспорте) на материал наружного слоя.
5.2.4 Изоляционные материалы наружного слоя (не защищенные при эксплуатации от воздействия солнечных лучей) должны быть устойчивы к УФ облучению (суммарная доза облучения лицевых поверхностей при проведении испытаний - не менее 5 ГДж/м2).
5.2.5 Материалы наружного слоя не должны препятствовать удалению парообразной влаги из центрального слоя шва. Значение сопротивления паропроницанию наружного слоя должно быть не более 0,25 (м2 × ч × Па)/мг. Применение пароизоляционных материалов в качестве материалов наружного слоя не допускается, кроме случаев применения герметизирующих материалов в комбинации со штукатурным раствором, обеспечивающим требуемую паропроницаемость наружного слоя.
(Поправка, ИУС № 10 2005 г.).
5.3.1 Центральный изоляционный слой должен обеспечивать требуемое сопротивление теплопередаче монтажного шва. Величина сопротивления теплопередаче должна находиться в диапазоне значений этого показателя для стены и оконной конструкции, превышая значение сопротивления теплопередаче оконной конструкции не менее чем в два раза.
5.3.2 Заполнение монтажного шва теплоизоляционными материалами должно быть сплошным по сечению, без пустот, разрывов, щелей и переливов. Расслоения, сквозные зазоры, щели, а также раковины с наибольшим размером более 10 мм не допускаются.
5.3.3 Сопротивление паропроницанию центрального слоя монтажного шва должно находиться в диапазоне значений этого показателя для наружного и внутреннего слоев.
5.3.4 Адгезионная прочность сцепления монтажных пенных утеплителей с поверхностями оконных проемов и коробок оконных блоков должна быть не менее 0,1 МПа (1,0 кгс/см2).
5.3.5 Водопоглощение пенных утеплителей центрального слоя при полном погружении за 24 ч не должно превышать 3 % по массе.
5.3.6 Для предотвращения воздействия диффузионной влаги из материалов стенового проема на центральный слой допускается устройство изоляции по внутренней поверхности проема. В этом случае значение сопротивления паропроницанию изоляции поверхности проема должно быть не ниже, чем изоляции внутреннего слоя. Устройство изоляции внутренней поверхности проема не должно приводить к образованию мостиков холода.
(Поправка, ИУС № 10 2005 г.).
5.4.1 Внутренний слой монтажного шва должен иметь сопротивление паропроницанию не ниже, чем значение этого показателя для центрального слоя, и не менее 2,0 (м2 × ч × Па)/мг.
(Поправка, ИУС № 10 2005 г.).
5.4.2 Пароизоляционные материалы внутреннего слоя должны иметь сопротивление отслаиванию (адгезионная прочность) от поверхностей, образующих монтажный зазор, не ниже значений, установленных в 5.2.2 для материалов наружного слоя.
5.4.3 Конструкция и материалы внутреннего слоя должны обеспечивать надежную изоляцию материалов центрального слоя от воздействия водяных паров со стороны помещения.
Пароизоляционные материалы по внутреннему контуру монтажного зазора должны быть уложены непрерывно, без пропусков, разрывов и непроклеенных участков.
5.5.1 Материалы, применяемые в конструкциях монтажных швов, должны соответствовать требованиям стандартов, условиям договоров на поставку и технической документации, утвержденной в установленном порядке.
5.5.2 Материалы, применяемые для устройства монтажных швов, подразделяют по диапазону рабочих температур, при которых допускается производство монтажных работ, на материалы:
летнего исполнения (от + 35 °С до + 5 °С);
зимнего исполнения (с рабочими температурами ниже + 5 °С).
5.5.3 Материалы наружного слоя должны быть стойкими к длительному атмосферному воздействию.
Материалы, применяемые для устройства различных слоев монтажного шва, должны быть совместимы между собой, а также с материалами стенового проема, оконной коробки и крепежных деталей.
Долговечность материалов (срок службы), применяемых для устройства монтажного шва, должна быть не менее 20 условных лет эксплуатации (показатель долговечности вводится в действие с 01.01.2005 года).
5.5.4 Материалы, применяемые в конструкциях монтажных швов, должны иметь санитарно-эпидемиологическое заключение органов Госсанэпиднадзора.
5.5.5 Материалы для устройства монтажных швов должны храниться в сухих отапливаемых вентилируемых помещениях с соблюдением условий хранения, указанных в нормативной документации на эти материалы.
5.5.6 Требования к крепежным элементам и их установке приведены в приложении Б.
5.6.1 Номинальные размеры монтажных зазоров для устройства швов устанавливают в рабочих чертежах узлов примыканий оконных блоков к стеновым проемам.
5.6.2 При установлении размеров монтажных зазоров учитывают:
конфигурацию и размеры оконного проема, коробки оконного блока и подоконной доски, включая их допустимые предельные отклонения;
предполагаемые изменения линейных размеров оконных проемов и блоков в процессе их эксплуатации от температурно-влажностных деформаций и усадок;
технические характеристики материалов монтажного шва исходя из обеспечения необходимого сопротивления эксплуатационным нагрузкам (например, размер наружной изоляционной ленты подбирают исходя из расчетной степени сжатия, позволяющей обеспечить заданные значения водо- и паропроницаемости);
температурный режим производства монтажных работ.
5.6.3 Номинальные размеры и конфигурация оконных проемов должны соответствовать установленным в рабочей проектной документации. Рекомендуемые предельные отклонения от номинальных размеров высоты и ширины проема: + 15 мм. Отклонение от вертикали и горизонтали не должно превышать 4,0 мм на 1 м, но не более 8 мм на всю высоту или ширину проема. Отклонения от вертикали и горизонтали должны находиться в поле допусков отклонений по высоте и ширине.
Рекомендуемые размеры монтажных зазоров (с учетом допустимых предельных отклонений) при монтаже оконных блоков по ГОСТ 23166 приведены на рисунке 2.
Рисунок 2 - Размеры монтажных зазоров (швов) при установке оконных блоков из различных материалов по ГОСТ 23166
5.6.4 Предельные отклонения от габаритных размеров коробок оконных блоков устанавливают в нормативной документации на изделия.
Отклонения от вертикали и горизонтали деталей коробок смонтированных оконных блоков не должны превышать 1,5 мм на 1 м длины, но не более 3 мм на высоту изделия
5.7.1 Кромки и поверхности наружных и внутренних откосов не должны иметь выколов, раковин, наплывов раствора и других повреждений высотой (глубиной) более 10 мм. Дефектные места должны быть зашпаклеваны водостойкими составами. Пустоты в проеме стены (например, полости на стыках облицовочного и основного слоев кирпичной кладки, в местах стыков перемычек и кладки, а также пустоты, образовавшиеся при удалении коробок при замене окон) следует заполнять вставками из жестких утеплителей или антисептированной древесины.
Поверхности, имеющие масляные загрязнения, следует обезжиривать. Рыхлые, осыпающиеся участки поверхностей должны быть упрочнены (обработаны связующими составами или специальными пленочными материалами).
5.7.2 Перед установкой в монтажном шве изоляционных материалов поверхности оконных проемов и конструкций должны быть очищены от пыли и грязи, а в зимних условиях - от снега, льда, инея с последующим прогревом поверхности.
5.7.3 Общие требования по производству работ при устройстве монтажных швов приведены в приложении В.
6.1 Приемку готовых монтажных швов осуществляют на строительных объектах партиями. За партию принимают число оконных проемов с установленными оконными блоками и законченными монтажными швами, выполненными по одной технологии и оформленными одним актом сдачи-приемки (документом о качестве).
6.2 Приемку монтажных швов производят путем проведения:
- входного контроля качества применяемых материалов;
- контроля качества подготовки оконных проемов и оконных блоков;
- контроля соблюдения требований к установке оконных блоков;
- производственного операционного контроля;
- приемосдаточных испытаний при производстве работ;
- классификационных и периодических лабораторных испытаний материалов и монтажных швов, проводимых испытательными центрами (лабораториями).
Входной контроль качества материалов и изделий, контроль качества подготовки оконных проемов и установки оконных блоков, а также периодические испытания при производстве работ по устройству монтажных швов проводит строительная лаборатория или служба контроля качества строительной (монтажной) организации.
Результаты всех видов контроля фиксируют в соответствующих журналах учета качества.
Завершение работ по устройству монтажных швов оформляют актом сдачи-приемки (актом на скрытые работы).
6.3 Входной контроль качества материалов при их поступлении и хранении производят в соответствии с требованиями НД на эти материалы. При этом проверяют сертификаты соответствия, санитарно-эпидемиологические заключения, сроки годности, маркировку изделий (тары), а также выполнение условий, установленных в договорах на поставку.
6.4 Контроль качества подготовки оконных проемов и установки оконных блоков производят согласно технологической документации на производство монтажных работ с учетом требований действующей нормативной документации и настоящего стандарта. При этом проверяют:
- подготовку поверхностей оконных проемов и оконных блоков;
- размеры (предельные отклонения) оконных проемов и блоков;
- отклонения от размеров при установке оконных блоков;
- отклонения от размеров монтажных зазоров;
- другие требования, установленные в технологической документации.
Качество подготовки оконных проемов оформляют актом сдачи-приемки оконных проемов.
6.5 Производственный операционный контроль качества производится ответственным исполнителем работ последовательно по каждой операции технологического процесса.
6.6 Приемосдаточные испытания при производстве работ по устройству монтажных швов проводит служба контроля качества (строительная лаборатория) строительной организации не реже 1 раза в смену. При этом не менее чем на трех образцах проверяют:
качество установки монтажных лент, утеплителей и других материалов (по завершении работ по каждому слою шва);
температурно-влажностные параметры условий производства работ.
В случае если технология установки оконных блоков предусматривает двух-трехдневный срок монтажа (например первый день - установка оконных блоков на монтажных клиньях и укладка материалов наружного слоя; второй день - нанесение монтажных материалов центрального и внутреннего слоев), то контроль качества монтажного шва производят на одних и тех же оконных блоках.
6.7 Классификационные и периодические лабораторные испытания проводят по требованию проектных, строительных и других организаций для подтверждения классификационных характеристик и эксплуатационных показателей монтажных швов. Испытания проводят в испытательных центрах (лабораториях), аккредитованных на право проведения таких испытаний.
Допускается определение характеристик монтажных швов расчетными методами по нормативной документации и методикам, утвержденным в установленном порядке.
6.8 Производитель подтверждает приемку монтажных швов оформлением документа о качестве (паспортом), который должен содержать:
- наименование и адрес монтажной организации;
- наименование и адрес места производства работ;
- условное обозначение и (или) описание конструкции с перечнем использованных изоляционных материалов, чертежи, технические характеристики монтажного шва (включая крепежные элементы);
- число предъявленных к приемке монтажных швов;
- дату оформления паспорта;
- штамп службы качества и подпись ответственного лица;
- гарантийные обязательства;
- другую информацию исходя из конкретных условий работ.
6.9 Приемку работ по устройству монтажных швов оформляют актом сдачи-приемки, подписанным исполнителем и заказчиком, к которому прилагают документ о качестве (паспорт), копии протоколов согласования и замеров и, по требованию заказчика, санитарно-эпидемиологические заключения на изоляционные материалы.
6.10 В случае возникновения спорных (арбитражных) вопросов по качеству монтажных швов в течение гарантийного срока заказчик вправе потребовать контрольного вскрытия монтажных швов. При этом рекомендуется использовать план контроля, приведенный в таблице 2.
Таблица 2
|
Объем выборки, шт. |
Приемочное число |
Браковочное число |
Объем выборки, шт. |
Приемочное число |
Браковочное число |
|
|
1-я ступень |
2-я ступень |
|||||
|
До 15 вкл. |
2 |
0 |
1 |
- |
- |
- |
|
Св. 15 до 100 включ. |
3 |
0 |
2 |
3 |
0 |
1 |
|
Св. 100 |
4 |
0 |
3 |
4 |
0 |
1 |
Партию монтажных швов принимают, если число дефектных швов в первой выборке меньше или равно приемочному числу, и бракуют без назначения второй выборки, если число дефектных швов больше браковочного числа или равно ему. Если число дефектных швов в первой выборке больше приемочного числа, но меньше браковочного, переходят ко второй ступени контроля и производят вторую выборку.
Партию монтажных швов принимают, если дефектные швы во второй выборке отсутствуют.
В случае выявления дефектных швов при проведении второй ступени все монтажные швы должны быть вскрыты и проверены поштучно. Дефектные монтажные швы должны быть исправлены и повторно проверены.
7.1 Методы испытаний материалов при входном контроле качества устанавливают в технологической документации с учетом требований НД на эти материалы. Методы испытаний при производственном операционном контроле качества устанавливают в технологической документации с учетом требований настоящего стандарта.
7.2 Подготовку поверхностей оконных проемов (5.7) оценивают визуально. Геометрические размеры монтажных зазоров и размеры дефектов измеряют при помощи рулетки по ГОСТ 7502, линейки по ГОСТ 427, штангенциркуля по ГОСТ 166 с использованием методов по ГОСТ 26433.0 и ГОСТ 26433.1.
7.3 При измерении отклонений от отвесной линии (вертикали) и горизонтального уровня соответствующих поверхностей оконных проемов и конструкций следует пользоваться правилами измерений по ГОСТ 26433.2.
7.4 Внешний вид и качество установки лент, прокладок, укладки пенного утеплителя и герметиков оценивают визуально с расстояния 400 - 600 мм при освещенности не менее 300 лк.
7.5 Определение прочности сцепления (адгезии) герметизирующих лент и прокладок к элементам конструкций при приемосдаточных испытаниях при производстве работ осуществляют в такой последовательности:
с помощью специального режущего инструмента (например, резака) подрезают край ленты, установленной на поверхность монтажного стыка;
край ленты зажимают в специальном захвате и через динамометр отрывают по нормали к поверхности сцепления, фиксируя при этом силу отрыва.
Отслоение ленты должно происходить при усилии не менее 0,3 кгс/см.
7.6 Методы квалификационных и периодических лабораторных испытаний
(Поправка, ИУС № 10 2005 г.).
7.6.1 Сопротивление теплопередаче монтажных швов определяют расчетным методом как сумму термических сопротивлений отдельных слоев с учетом коэффициентов теплопередачи внутренней и наружной поверхностей стены или при лабораторных испытаниях по ГОСТ 26602.1. При этом коэффициент теплопроводности применяемых материалов принимают по результатам испытаний по ГОСТ 7076 или другой нормативной документации. Оценку температурного режима узлов примыкания оконного блока к стеновому проему проводят путем проведения лабораторных испытаний или расчетным методом по методикам, утвержденным в установленном порядке, с учетом положений приложения Г.
7.6.2 Воздухо-, водопроницаемость монтажных швов определяют по ГОСТ 26602.2.
Испытания проводят с использованием специального устройства, конструкция которого представлена на рисунке 3. Устройство представляет из себя кассету (например, деревянную) с установленной в нее глухой панелью. Внутренний профиль брусков кассеты имитирует размеры и конфигурацию откосов оконного проема.
А, В, Н - размеры панели; s, h - размеры зазоров под монтажный шов; 1 - кассета с накладными брусками; 2 - накладные бруски; 3 - паронепроницаемая лента; 4 - пенный утеплитель; 5 - коробка панели; 6 - заполнение панели (например, звукоизоляционный материал); 7 - звукопоглощающая прокладка; 8 - обшивка панели; 9 - водоизоляционная прокладка
Рисунок 3 - Устройство для испытаний монтажных швов на воздухо-, водопроницаемость и звукоизоляцию
Панель представляет из себя коробку оконного блока, обшитую с двух сторон листовым материалом (например, водостойкой фанерой по НД).
Поверхности кассеты и панели должны иметь водостойкое покрытие.
Зазор между кассетой и образцом оконного блока, а также конструкцию и технологию устройства монтажного шва принимают согласно конструктивному решению узла примыкания.
Устройство устанавливают в проем испытательной камеры на герметизирующих прокладках.
Условия проведения испытаний уточняют в программе испытаний.
7.6.3 Звукоизоляцию определяют по ГОСТ 26602.3. Для проведения испытания используют устройство по 7.6.2. Внутренний объем панели обшивают листовым звукопоглощающим материалом и заполняют сухим песком. Устройство устанавливают в проем испытательной камеры на звукоизоляционной замазке. Конструктивное решение панели должно обеспечивать звукоизоляцию не менее 40 дБА.
7.6.4 Устойчивость наружного изоляционного слоя к воздействию ультрафиолетового облучения определяют, используя режим испытаний, приведенный в ГОСТ 30673 (облучение в аппарате «Ксенотест»). Испытания проводят на трех образцах материалов изоляционного слоя длиной не менее 200 мм. Результат испытания признают удовлетворительным, если после испытаний на поверхности каждого образца отсутствуют разрывы, трещины, раковины, расслоения и потеки.
7.6.5 Сопротивление паропроницанию и паропроницаемость материалов монтажного шва определяют по ГОСТ 25898.
7.6.6 Водопоглощение утеплителей определяют по ГОСТ 17177.
7.6.7 Сопротивление отслаиванию (адгезионную прочность) пленочных и ленточных материалов наружного и внутреннего изоляционных слоев определяют по ГОСТ 10174. Прочность сцепления герметиков с основой определяют по ГОСТ 26589, метод Б (при этом один из склеиваемых образцов изготавливают из алюминиевого сплава или поливинилхлорида толщиной 3 - 5 мм).
7.6.8 Для определения адгезионной прочности пенных утеплителей устанавливают величину усилия, требуемого для разрушения связи между утеплителем и конструкционным материалом при действии растягивающих сил, направленных перпендикулярно плоскости контакта.
Число образцов для испытаний - не менее 5.
7.6.8.1 Аппаратура и приспособления
Машина разрывная, обеспечивающая разрушение образца со скоростью движения активного захвата (10 ± 1) мм/мин и позволяющая измерить значение разрушающего усилия с погрешностью не более 1 %.
Специальное приспособление, устанавливаемое в зажимах испытательной машины. Приспособление должно обеспечивать совпадение продольной оси образца с направлением прилагаемого усилия.
7.6.8.2 Образцы для испытаний
Образцы изготавливают путем заливки и вспенивания утеплителя в металлической форме с внутренним диаметром (51 ± 0,5) мм и высотой не менее 30 мм, в днище которой укреплен диск из конструкционного материала (например, из поливинилхлорида или алюминиевого сплава). Внутренние цилиндрические поверхности формы смазывают консистентной смазкой. Поверхность диска должна быть обезжирена.
После вспенивания и отвердевания образец утеплителя вынимают из формы и путем механической обработки доводят до размеров: по диаметру - (50 ± 0,5) мм, по высоте - (30 ± 1) мм. Допускается использовать прямоугольные образцы размером [(50 ´ 50 ´ 30) ± 0,5] мм. Полученные таким образом два образца попарно склеиваются эпоксидным клеем.
7.6.8.3 Порядок проведения и обработка результатов испытания
Склеенный образец с помощью приспособлений устанавливают в зажимах машины. Испытания проводят при температуре (20 ± 2) °С и при скорости движения захватов машины (10 ± 1) мм/мин.
Растяжение проводят до разрушения или отслоения образца от подложки, при этом фиксируют наибольшую нагрузку, достигнутую при испытаниях.
Обе части испытанного образца подвергают визуальному осмотру для определения характера разрушения (по утеплителю, адгезионному шву или смешанного характера).
Прочность сцепления утеплителя с конструкционным материалом s, МПа (кгс/см2), вычисляют по формуле
(1)
где Рmax - максимальное усилие при отрыве или разрушении образца, кгс.
S - площадь поперечного сечения образца, см2.
За результат испытаний принимают среднеарифметическое значение результатов испытаний образцов.
7.6.9 Деформационную устойчивость монтажного шва определяют по максимальной величине его деформации под воздействием силы, направленной перпендикулярно к плоскости монтажного шва, при которой сохраняется его целостность. В обоснованных случаях допускается проводить этот вид испытаний монтажного шва на пенном утеплителе.
Число образцов для испытаний - не менее трех.
7.6.9.1 Аппаратура и приспособления
Машина разрывная, обеспечивающая разрушение образца со скоростью движения активного захвата (10 ± 1) мм/мин и позволяющая устанавливать значение разрушающего усилия с погрешностью не более 1 %.
Специальное приспособление с обоймой для размещения образцов монтажного шва. Приспособление при проведении испытаний должно обеспечивать совпадение поперечной оси образца с направлением прилагаемого усилия (рисунок 4).
Специальное устройство для подготовки образцов пенного утеплителя и их установки в испытательной машине (схема устройства представлена на рисунке 4а).
7.6.9.2 Образцы для испытаний
Образцы монтажного шва для проведения испытаний получают путем послойного заполнения обоймы специального приспособления изоляционными материалами в соответствии с проектно-конструкторским решением и технологией производства монтажных работ (рисунок 4).
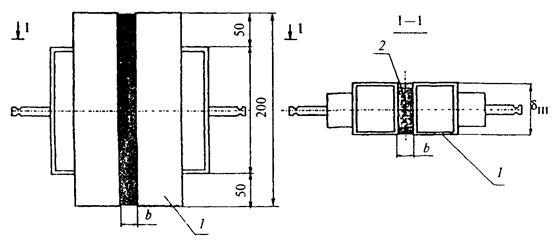
b - толщина шва; 1 - обойма из алюминия или нержавеющей стали толщиной 3 мм; 2 - образец испытываемого монтажного шва
Рисунок 4 - Схема приспособления для испытания монтажных швов на деформационную устойчивость
I - положение пластин при заданной (начальной) толщине образца (h1);
II - положение пластин при наибольшем сжатии образца (h2);
III - положение пластин при наибольшем растяжении образца (h3);
1 - корпус устройства; 2 - образец материала; 3 - алюминиевые пластины толщиной не менее 2,0 мм; 4 - смазка
Рисунок 4а - Схема устройства для подготовки образцов и испытания пенного утеплителя на деформационную устойчивость
Образцы пенного утеплителя для проведения испытаний получают путем заполнения им корпуса устройства, представленного на рисунке 4а. Внутренний диаметр корпуса, определяющий размер образца - (60 + 0,2) мм, высота внутренней полости корпуса - 30 мм (без учета толщины ограничительных пластин). Внутренняя поверхность корпуса должна быть смазана консистентной смазкой. На дно корпуса устройства до заливки пены устанавливают алюминиевую пластину диаметром (60 - 0,2) мм. Вторую пластину диаметром (65 - 0,5) мм устанавливают в верхней части корпуса в виде крышки и жестко фиксируют любым способом. Заливку пены производят в отверстие диаметром 8 мм в боковой стенке корпуса. Для удаления излишка пены предусматривают такое же отверстие с другой стороны корпуса. После заливки пены образец выдерживают не менее суток, после чего образец вынимают из корпуса.
7.6.9.3 Порядок проведения испытания
Обойму с образцом монтажного шва (или образец пенного утеплителя, представляющий собой цилиндр отвердевшей пены, зажатый между двумя алюминиевыми пластинами) устанавливают в захватах машины. Испытание проводят при температуре (20 ± 2) °С путем последовательных растяжений и сжатий образца. Величину растяжения и сжатия в миллиметрах устанавливают исходя из назначения монтажного шва. Производят не менее 20 циклов растяжения - сжатия образца. Между каждым циклом производят выдержку образца без нагрузки не менее 20 мин.
7.6.9.4 Оценка результатов испытания
После завершения испытания визуально осматривают поверхности образцов. Результат испытания признают удовлетворительным, если каждый образец не имеет сквозных расслоений и разрушений.
Деформационную устойчивость j, %, определяют по формуле
(2)
где Dh - размер перемещения пуансона (разница между толщиной образца при растяжении и сжатии), мм;
h1 - заданная (начальная) толщина образца, мм.
7.6.10 Устойчивость монтажного шва к воздействию эксплуатационных температур определяют по материалам наружного изоляционного слоя. Оценку морозостойкости производят по температуре хрупкости по ГОСТ 7912 (диаметр изгиба 400 мм) и теплостойкости по ГОСТ 2678.
7.6.11 Долговечность (срок службы) монтажного шва определяют по НД и методикам, утвержденным в установленном порядке. Совместимость материалов подтверждают испытаниями на долговечность монтажного шва.
Производитель работ гарантирует соответствие монтажных швов требованиям настоящего стандарта при условии, что эксплуатационные нагрузки на монтажные швы не превышают расчетные (заданные в нормативной и проектной документации).
Гарантийный срок монтажного шва устанавливают в договоре между производителем работ и заказчиком, но не менее 5 лет со дня подписания акта сдачи-приемки.
(рекомендуемое)

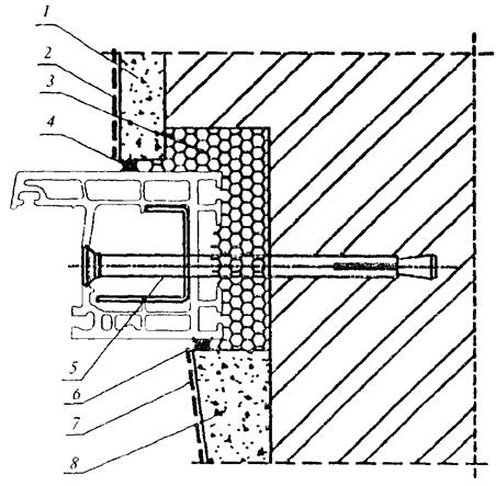
1 - пенный утеплитель; 2 - изоляционная саморасширяющаяся паропроницаемая лента; 3 - рамный дюбель; 4 - герметик; 5 - пароизоляционная лента; 6 - компенсатор монтажного зазора (может применяться для утепления откоса и изоляции пенного утеплителя от плоскости возможной конденсации); 7 - штукатурный слой внутреннего откоса (с фаской для слоя герметика)
Примечание - Здесь и далее приведены принципиальные схемы узлов примыкания, пропорции отдельных элементов узлов примыкания могут быть не соблюдены. При разработке проектно-конструкторских решений конкретных узлов примыканий допускается комбинировать отдельные элементы узлов, приведенных на рисунках настоящего приложения, а также применять другие решения, не противоречащие требованиям настоящего стандарта.
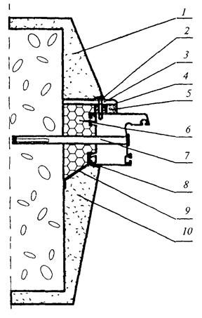
Рисунок А.1 - Узел бокового примыкания оконного блока к проему с четвертью в стене из кирпича, с отделкой внутреннего откоса штукатурным раствором
1 - штукатурный слой наружного откоса (с фаской для слоя герметика); 2 - строительный шуруп; 3 - герметик; 4 - фальшчетверть из уголка; 5 - изоляционная саморасширяющаяся паропроницаемая лента; 6 - рамный дюбель; 7 - пенный утеплитель; 8 - герметик; 9 - пароизоляционная лента; 10 - элемент отделки внутреннего откоса; 11 - полость, которая может быть заполнена теплоизоляционным материалом; 12 - рейка
Рисунок А.2 - Узел бокового примыкания оконного блока к проему без четверти в стене из кирпича и отделкой внутреннего откоса облицовочной панелью

1 - изоляционная саморасширяющаяся паропроницаемая лента; 2 - пенный утеплитель; 3 - гибкая анкерная пластина; 4 - герметик; 5 - пароизоляционная лента; 6 - дюбель со стопорным шурупом; 7 - штукатурный слой внутреннего откоса (с фаской для слоя герметика); 8 - армирующая сетка
Примечание - В том случае если теплотехнические расчеты не подтверждают требуемую температуру поверхностей внутренних откосов, рекомендуется применение оконных блоков с расширенной коробкой или увеличение размеров наружной четверти при помощи конструкционных материалов
Рисунок А.3 - Узел бокового примыкания оконного блока к проему с четвертью слоистой стены из кирпича с эффективным утеплителем и отделкой внутреннего откоса штукатурным раствором

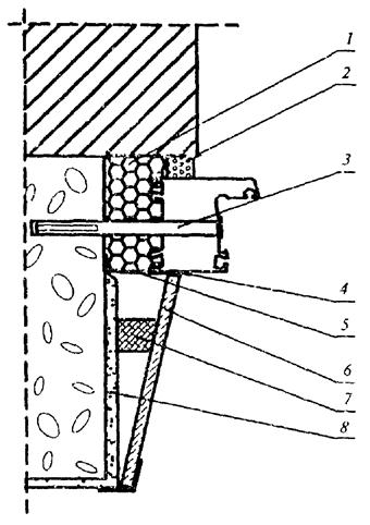
1 - подоконная доска; 2 - пенный утеплитель; 3 - пароизоляционная лента; 4 - гибкая анкерная пластина; 5 - опорная колодка под подоконную доску; 6 - штукатурный раствор; 7 - дюбель со стопорным шурупом; 8 - вкладыш из антисептированного пиломатериала; 9 - водоизоляционная паропроницаемая лента; 10 - шумопоглощающая прокладка; 11 - слив; 12 - изоляционная саморасширяющаяся паропроницаемая лента
Рисунок А.4 - узел нижнего примыкания оконного блока, подоконника и слива к проему слоистой стены с эффективным утеплителем

1 - вкладыш из антисептированного пиломатериала; 2 - дюбель со стопорным шурупом; 3 - армирующая сетка; 4 - штукатурный слой внутреннего откоса (с фаской для слоя герметика), возможна отделка листовым материалом (влагостойкая панель); 5 - гибкая анкерная пластина; 6 - пароизоляционная лента; 7 - герметик; 8 - изоляционная саморасширяющаяся паропроницаемая лента; 9 - стальная перемычка с антикоррозионным покрытием; 10 - пенный утеплитель
Рисунок А.5 - Узел верхнего примыкания оконного блока к перемычке из стального уголка в проеме многослойной стены с облицовкой кирпичом

1 - пенный утеплитель; 2 - изоляционная саморасширяющаяся паропроницаемая лента; 3 - рамный дюбель; 4 - герметик; 5 - пароизоляционная лента; 6 - панель отделки внутреннего откоса; 7 - рейка; 8 - штукатурный выравнивающий слой внутреннего откоса
Рисунок А.6 - Узел бокового примыкания оконного блока к проему с четвертью в стене из ячеистобетонных блоков (плотностью 400 - 450 кг/м3) с облицовкой кирпичом и отделкой внутреннего откоса панелью
1 - штукатурный слой наружного откоса (с фаской для слоя герметика); 2, 8 - герметик; 3 - нащельник; 4 - дистанционная прокладка (шайба); 5 - изоляционная саморасширяющаяся паропроницаемая лента; 6 - пенный утеплитель; 7 - рамный дюбель; 9 - пароизоляционная лента; 10 - штукатурный слой внутреннего откоса (с фаской для слоя герметика)
Рисунок А.7 - Узел бокового примыкания оконного блока к проему без четверти в стене из ячеистобетонных блоков с отделкой фасада, наружных и внутренних откосов штукатурным раствором

1 - элемент отделки наружного оконного откоса; 2 - изоляционная саморасширяющаяся паропроницаемая лента; 3 - водоизоляционная паропроницаемая лента; 4 - рамный дюбель; 5 - пенный утеплитель; 6 - пароизоляционная лента; 7 - декоративный нащельник
Рисунок А.8 - Узел бокового примыкания оконного блока к проему стены из бетона с наружным утеплением фасада и установкой внутреннего декоративного нащельника

1 - пенный утеплитель; 2 - изоляционная саморасширяющаяся паропроницаемая лента; 3 - гибкая анкерная пластина; 4 - декоративный нащельник; 5 - пароизоляционная лента; 6 - элемент отделки внутреннего откоса; 7 - дюбель со стопорным шурупом
Рисунок А.9 - Узел бокового примыкания оконного блока к проему стеновой панели с отделкой внутреннего откоса панелью

1 - пароизоляционная лента; 2 - подоконная доска; 3 - пенный утеплитель; 4 - штукатурный раствор; 5 - опорная колодка подоконной доски; 6 - шумогасящая прокладка; 7 - слив; 8 - водоизоляционная паропроницаемая лента; 9 - изоляционная саморасширяющаяся паропроницаемая лента
Рисунок А.10 - Узел нижнего примыкания оконного блока, подоконника и слива к проему стеновой панели

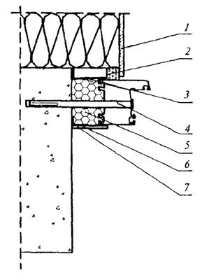
1 - водоизоляционная лента; 2 - водоизоляционная паропроницаемая лента; 3 - вкладыш из материала с низкой теплопроводностью; 4 - пенный утеплитель; 5 - пароизоляционная лента; 6 - гибкая анкерная пластина; 7 - герметик
Рисунок А.11 - Монтажный шов в нижнем узле примыкания коробки балконной двери

1 - шумопоглощающая прокладка; 2 - водоизоляционная паропроницаемая лента; 3 - пенный утеплитель; 4 - пароизоляционная лента; 5 - несущая опорная колодка; 6 - герметик
Рисунок А.12 - Монтажный шов в нижнем узле примыкания оконной коробки, подоконника и отлива в проеме однослойной стены

1 - изоляционная саморасширяющаяся паропроницаемая лента; 2 - дополнительный профиль; 3 - герметик; 4 - влагостойкий гипсокартон с пароизоляционным покрытием; 5 - пенный утеплитель
Рисунок A.13 - Узел бокового и верхнего примыкания оконного блока к проему стены с четвертью и отделкой внутреннего откоса панелями

1 - отделка наружного откоса штукатурным раствором с коэффициентом паропроницаемости в соответствии с требованиями настоящего стандарта; 2 - паропроницаемая фасадная окраска; 3 - пенный утеплитель; 4, 6 - герметик; 5 - рамный дюбель; 7 - окрасочная пароизоляция; 8 - слой штукатурного раствора с высоким коэффициентом сопротивления паропроницанию
Рисунок А.14 - Монтажный шов узла примыкания оконного блока к стеновому проему с отделкой наружного откоса и фасада паропроницаемым штукатурным раствором

1 - изоляционная саморасширяющаяся паропроницаемая лента; 2 - соединитель
Рисунок А.15 - Узел соединения оконных коробок

1 - изоляционная саморасширяющаяся паропроницаемая лента; 2 - угловой соединитель
Рисунок А.16 - Узел углового соединения оконных коробок

1 - канал подачи теплого воздуха от нагревательного прибора к оконному блоку (штроба в стяжке из штукатурного раствора); 2 - подоконная доска; 3 - декоративная решетка выходного отверстия
Рисунок А.17 - Схема нижнего узла примыкания с каналом подачи теплого воздуха от нагревательного прибора к оконному блоку
(рекомендуемое)
Б.1 Крепежные элементы предназначены для жесткой фиксации оконных блоков к стеновым проемам и для передачи ветровых и других эксплуатационных нагрузок на стеновые конструкции.
Б.2 Для крепления оконных коробок к стеновым проемам, в зависимости от конструкции стены и прочности стеновых материалов, применяют различные универсальные и специальные крепежные элементы (детали и системы), рисунок Б.1:
- распорные рамные (анкерные) дюбели металлические или пластмассовые, в комплекте с винтами. Винты могут иметь потайную или цилиндрическую головку;
- универсальные пластмассовые дюбели со стопорными шурупами;
- строительные шурупы;
- гибкие анкерные пластины.
Винты, шурупы и пластины изготавливают из нержавеющей стали или стали с антикоррозионным цинковым хроматированным покрытием толщиной не менее 9 мкм.
Крепление оконных коробок и анкерных пластин к стеновым проемам на гвоздях не допускается. При необходимости крепления оконного блока к стенам из материалов низкой прочности допускается использование специальных полимерных анкерных систем.
Распорные пластмассовые рамные дюбели применяют в агрессивных средах с целью предотвращения контактной коррозии, а также с целью термоизоляции соединяемых элементов.
а - металлический рамный дюбель; б - пластмассовый рамный дюбель; в - универсальный пластмассовый дюбель со стопорным шурупом; г - строительные шурупы; д - гибкая анкерная пластина
Рисунок Б.1 - Примеры крепежных элементов
Длину дюбелей определяют расчетом в зависимости от эксплуатационных нагрузок, размера профиля коробки оконного блока, ширины монтажного зазора и материала стены (глубина заделки дюбеля в стену должна быть не менее 40 мм в зависимости от прочности стенового материала). Диаметр дюбеля определяют расчетом в зависимости от эксплуатационных нагрузок; в общем случае рекомендуется применять дюбели диаметром не менее 8 мм. Материал дюбеля - конструкционный полиамид по НД. Для изготовления шурупов и винтов применяют стали с временным сопротивлением разрыву не менее 500 Н/мм2.
Б.4 Несущую способность рамных дюбелей (допустимые нагрузки на вырыв) принимают по технической документации изготовителя. Справочные значения несущей способности (допускаемых нагрузок на вырыв и срез) рамных распорных дюбелей диаметром 10 мм приведены в таблице Б.1.
Б.5 Пластмассовые дюбели со стопорными шурупами применяют для крепления оконных блоков к стенам из кирпича с вертикальными пустотами, пустотелых блоков, легких бетонов, дерева и других строительных материалов с невысокой прочностью на сжатие. Длину и диаметр пластмассовых дюбелей со стопорными шурупами принимают аналогично Б.3. Для крепления оконных блоков к монтажным деревянным закладным элементам и черновым коробкам допускается применение строительных шурупов.
Б.6 Гибкие анкерные пластины применяют для крепления оконных блоков к многослойным стенам с эффективным утеплителем. Крепление на гибкие анкерные пластины допускается и при установке оконных блоков в других конструкциях стен. Анкерные пластины изготавливают из оцинкованной листовой стали толщиной не менее 1,5 мм. Угол изгиба пластины выбирается по месту и зависит от величины монтажного зазора. Пластины крепят к оконным блокам до их установки в проемы с помощью строительных шурупов диаметром не менее 5 мм и длиной не менее 40 мм. Гибкие анкерные пластины крепят к внутреннему слою многослойной стены пластмассовыми дюбелями со стопорными шурупами (не менее 2 точек крепления на каждую пластину) диаметром не менее 6 мм и длиной не менее 50 мм.
Таблица Б.1 - Справочные значения несущей способности рамных распорных дюбелей диаметром 10 мм
|
Несущая способность дюбеля, кН, типа |
|||
|
а |
б |
в |
|
|
при заглублении, мм |
|||
|
70 |
50 |
70 |
|
|
Бетон |
1,1 |
1,1 |
2,1 |
|
Кирпич полнотелый |
1,0 |
1,0 |
1,4 |
|
Кирпич щелевидный |
- |
0,5 |
0,3 |
|
Легкие бетоны |
- |
0,3 |
0,4 |

Б.7 Допускается применение других крепежных элементов и систем, конструкцию и условия применения которых устанавливают в технической документации.
Б.8 Для заделки дюбелей в стеновом проеме выполняют сверление отверстий. Режим сверления выбирают в зависимости от прочности материала стены. Различают следующие режимы сверления:
- режим чистого сверления (без удара) рекомендуется при подготовке отверстий в пустотелом кирпиче, легких бетонных блоках, полимербетонах;
- режим сверления с легкими ударами рекомендуется при сверлении отверстий в полнотелом кирпиче;
- режим перфорирования рекомендуется для стен из бетона с плотностью более 700 кг/м3 и конструкций из натуральных камней.
Б.9 Глубина сверления отверстий должна быть более анкеруемой части дюбеля как минимум на один диаметр шурупа. Для обеспечения расчетного тягового усилия диаметр рассверливаемого отверстия не должен превышать диаметра самого дюбеля, при этом отверстие должно быть прочищено от отходов сверления. Расстояние от края строительной конструкции при установке дюбелей не должно быть менее двухкратной глубины анкеровки.
Б.10 Расположение и конфигурация крепежных элементов не должны приводить к образованию тепловых мостиков, снижающих теплотехнические параметры монтажного шва.
Варианты схем крепления оконных блоков к стенам приведены на рисунке Б.2. Рекомендуемые минимальные заглубления (глубина ввинчивания) строительных шурупов и посадки дюбелей приведены в таблице Б.2.
Б.11 Головки дюбелей и стопорных шурупов следует заглублять во внутреннем фальце профиля коробки, посадочные отверстия должны быть скрыты декоративными колпачками (заглушками).
Таблица Б.2 - Рекомендуемые минимальные заглубления (глубина ввинчивания) и посадки дюбелей
|
Минимальное заглубление, мм |
|
|
Бетон |
40 |
|
Кирпич полнотелый |
40 |
|
Кирпич щелевидный |
60 |
|
Блоки из пористого природного камня |
50 |
|
Легкие бетоны |
60 |
а - крепление распорными равными дюбелями; б - крепление строительными шурупами; в - крепление при помощи гибких анкерных пластин
Рисунок Б.2 - Схемы крепления оконных блоков к боковым откосам проемов
(обязательное)
В.1 Общие требования
B.1.1 Устройство монтажных швов выполняют одновременно с монтажом оконных блоков. Монтаж должен выполняться специализированными организациями по технологической документации, разработанной на основании типовой инструкции по монтажу.
В.1.2 Типовая инструкция по монтажу оконных блоков и устройству монтажных швов (включая альбомы проектно-конструкторских решений узлов примыканий) разрабатывается компетентными организациями. Типовую инструкцию согласовывают с региональными органами строительного управления. На ее основе специализированные монтажные организации с учетом местных климатических условий и требований территориальных строительных норм разрабатывают технологическую документацию на производство монтажных работ.
В.1.3 При строительстве и реконструкции строительных объектов работы по монтажу оконных блоков и устройству монтажных швов производят после сдачи здания или его части под монтаж по акту сдачи-приемки оконных проемов.
В.1.4 При ремонте или замене оконных блоков в эксплуатируемых помещениях монтажные работы выполняют в порядке, обеспечивающем соблюдение требований настоящего стандарта с учётом конкретных условий объекта по согласованию с заказчиком.
В.2 Порядок обследования объектов, проведения конструкторских замеров и согласования условий производства работ
В.2.1 Перед разработкой проектно-конструкторских решений узлов примыканий при реконструкции и капитальном ремонте зданий, а также при замене оконных блоков в эксплуатируемых помещениях проводят обследование условий строительной ситуации, особенностей эксплуатации помещений и выполняют необходимые конструкторские замеры.
В.2.2 При обследовании строительного объекта кратко описывают его назначение, этажность, ориентацию, техническое состояние здания (включая состояние и конструкцию стенового ограждения), состояние вентиляционной и отопительной систем. При необходимости составляют поэтажные планы здания, оконные проемы нумеруют и определяют увязку базовых линий относительно фасада. Замеры фактических геометрических размеров стеновых проемов выполняют с использованием методов по ГОСТ 26433.0, ГОСТ 26433.1 и ГОСТ 26433.2 (при этом фиксируют отклонения в горизонтальной и вертикальной плоскостях), одновременно производят оценку технического состояния проемов, их подготовки к монтажу в соответствии с требованиями настоящего стандарта и условиями заказа.
В.2.3 Для разработки оптимальных проектно-конструкторских решений и технологии монтажных работ следует проводить согласование с заказчиком:
- чертежей (эскизов) конструкций оконных блоков, подлежащих монтажу, варианта установки оконных блоков по глубине проема, размеров подоконной доски;
- предполагаемой конструкции монтажного шва, включая выбор изоляционных материалов и крепежных элементов;
- конструкции элементов отделки (деталей облицовки) стенового проема;
- последовательность работ по демонтажу заменяемых конструкций, восстановлению откосов, монтажу оконных блоков, устройству монтажных швов, установке отливов, подоконников и других элементов;
- условий организации монтажной зоны для производства работ, а также мер, обеспечивающих их безопасное ведение.
Кроме того, следует оговаривать с заказчиком особенности строительной ситуации во время проведения работ: предполагаемые температурные и влажностные условия, порядок проветривания и отопления помещения и др.
В.2.4 Конструкторские замеры, данные обследования и согласованные с заказчиком условия оформляют соответствующими документами: листом (картой) замеров и протоколом согласования.
В.3 Подготовка проема
В.3.1 Подготовке проемов может предшествовать выноска базовых линий, увязанных по фасаду здания, относительно которых будут размещаться оконные блоки по вертикали и горизонтали.
В.3.2 Перед устройством монтажных швов примыкающие поверхности коробки оконного блока и стенового проема должны быть очищены от пыли, грязи, масляных пятен, наледей и изморози.
В.3.3 При ремонте объектов и замене оконных блоков в эксплуатируемых помещениях разрушенные при извлечении старых окон поверхности внутренних и наружных откосов следует выравнивать штукатурным раствором без образования тепловых мостиков (мостиков холода). Порядок восстановления поврежденных участков проема под извлеченной коробкой устанавливают по месту по согласованию с заказчиком.
В.3.4 В наружных ограждающих конструкциях стен с низким сопротивлением теплопередаче и при необходимости размещения коробки оконного блока снаружи от плоскости возможной конденсации требуется выполнять утепление поверхностей внутренних откосов материалами с низким коэффициентом теплопроводности.
В.3.5 При отсутствии в оконном проеме четверти допускается устройство фальшчетверти (например, использование уголка из атмосферостойких полимерных материалов или металлических сплавов). Для этих же целей допускается применение нащельников без герметизации мест их примыкания к коробке оконного блока или поверхности стенового проема (приложение А, рисунки А.2 и А.7).
В.4 Установка и крепление оконных блоков
В.4.1 Место установки оконного блока по глубине стенового проема выбирают в соответствии с проектно-конструкторским решением.
При замене оконных блоков в эксплуатируемых помещениях или при отсутствии проемного решения коробку оконного блока в однородной (однослойной) ограждающей конструкции рекомендуется размещать на расстоянии не более 2/3 ее толщины от внутренней поверхности стены, а в слоистых стенах с эффективным утеплителем - в зоне утеплительного слоя.
При этом рекомендуется обеспечивать величину монтажных зазоров в пределах, рекомендованных настоящим стандартом.
В.4.2 Оконные блоки устанавливают по уровню в пределах допускаемых отклонений и временно фиксируют установочными клиньями или иным способом в местах угловых соединений коробок и импостов (установочные клинья удаляют после устройства утеплительного слоя, места их установки заполняют утеплительным материалом). В нижнем узле примыкания коробки в качестве монтажных опор (установочных клиньев) допускается использовать опорные (несущие) колодки. После установки и временной фиксации коробку оконного блока крепят к стеновому проему при помощи крепежных элементов (см. приложение Б).
В.4.3 Выбор крепежных элементов и расстояние между ними по контуру проема, а также глубину заделки в толще стены устанавливают в рабочей документации на основании расчета в зависимости от площади и веса оконного изделия, конструкции стенового проема, прочности стенового материала, величины ветровых и других эксплуатационных нагрузок.
Минимальные расстояния между крепежными элементами не должны превышать:
- для оконных коробок из древесины - 800 мм;
- для коробок из алюминиевых сплавов и профилей ПВХ белого цвета - 700 мм;
- для коробок из цветных профилей ПВХ - 600 мм.
Расстояния от внутреннего угла коробки оконного блока до крепежного элемента - (150 - 180) мм, а расстояние от импостного соединения до крепежного элемента - (120 - 180) мм.
В.4.4 Передача силовых нагрузок на монтажный шов не допускается. Для передачи нагрузок, действующих в плоскости оконного блока, на несущую строительную конструкцию применяют опорные (несущие) колодки из полимерных материалов или пропитанной защитными средствами древесины твердых пород с твердостью не менее 80 ед. по Шору А. Количество и расположение опорных колодок определяют в рабочей или технологической документации. Рекомендуемая длина колодки - 100 - 120 мм. Опорные колодки устанавливают после крепления оконного блока к стеновому проему крепежными элементами. Посадка боковых колодок должна быть плотной, но не оказывать силового воздействии на профили коробок. Примеры расположения опорных (несущих) колодок и крепежных деталей приведены на рисунке В.1.
- опорные (несущие) колодки;
- крепежные детали (системы)
а - оконный блок с вертикальным импостом; б - оконный блок с безимпостным (штульповым) притвором; А - расстояние между крепежными деталями
Рисунок В.1 - Примеры расположения опорных (несущих) колодок и крепежных деталей
В.5 Устройство монтажного шва
В.5.1 Устройство монтажного шва выполняют в соответствии с проектно-конструкторским решением, согласно технологической документации и требованиям настоящего стандарта. Заполнение монтажного зазора производят послойно с учетом температурных и влажностных условий окружающей среды, а также рекомендаций производителя изоляционных материалов. Порядок устройства монтажных оконных швов в условиях температур, ниже рекомендованных производителями изоляционных материалов (например, с использованием обогрева материалов и поверхностей строительных конструкций), должен быть предусмотрен в технологической документации.
Кроме этого следует предусматривать особенности устройства швов при повышенном влагосодержании стеновых материалов в области оконного проема.
(Поправка, ИУС № 10 2005 г.).
В.5.2 При использовании в наружном слое саморасширяющихся изоляционных лент учитывают следующие требования:
- для обеспечивания плотного примыкания в горизонтальном и вертикальном направлениях шва ленты раскраивают по длине с припуском 1,0 - 1,5 см на каждую сторону;
- ленты крепятся посредством монтажного самоклеющегося слоя на расстоянии 3 - 5 мм от грани четверти по внутренней поверхности оконного проема;
- если четверть, выполненная из кирпича, имеет расшивку или углубления в швах, то ленту крепят непосредственно к коробке оконного блока до установки ее в проем;
- перелом лент под углом не допускается;
- возможен изгиб ленты при изоляции шва оконного блока арочной или круглой конфигурации;
- нанесение штукатурного слоя, шпатлевки или красящих составов на паропроницаемый материал наружного слоя не допускается.
В.5.3 Для устройства центрального тепло-, звукоизоляционного слоя рекомендуется применение пенного утеплителя. Заполнение монтажного зазора пенным утеплителем следует выполнять при полностью собранном и окончательно закрепленном оконном блоке, при этом следует контролировать полноту и степень заполнения монтажного зазора.
Перед началом работ следует провести пробный тест на первичное расширение пенного материала в условиях окружающей среды монтажной зоны и при работе не допускать выхода излишков пены за внутреннюю плоскость профиля коробки оконного блока. Срезка излишков пенного утеплителя допускается только с внутренней стороны монтажного шва при условии устройства сплошного пароизоляционного слоя.
В случае применения профилей коробок шириной более 80 мм и если ширина монтажного зазора превышает размеры, предусмотренные настоящим стандартом, заполнение зазора следует выполнять послойно, с интервалами между слоями по технологии, рекомендованной производителем пенного утеплителя.
(Поправка, ИУС № 10 2005 г.).
В.5.4 Внутренний пароизоляционный слой устанавливают непрерывно по всему контуру стенового проема.
При использовании для изоляции внутреннего слоя пароизоляционных ленточных материалов следует руководствоваться следующими требованиями:
- раскрой лент по длине следует выполнять с припуском для нахлеста в местах угловых соединений;
- соединение лент с поверхностями оконного блока и стенового проема по всему периметру должно быть плотным, без складок и вздутий;
- при установке пароизоляционной ленты под штукатурный слой следует применять ленты с наружным покрытием, которое обеспечивает необходимую адгезию с штукатурным раствором;
- допускается стыковка лент по длине на прямолинейных участках, с нахлестом не менее 1/2 номинальной ширины ленты.
В.6 Устройство узлов примыкания элементов отделки (деталей облицовки) стеновых проемов к оконным блокам
В.6.1 Места примыкания внутренних откосов (независимо от их конструкции) к коробке оконного блока и монтажному шву должны быть герметизированы, при этом должны выполняться мероприятия, исключающие в период эксплуатации проявление трещин и щелей. Например, уплотнение примыканий герметиками или другими материалами, обладающими достаточной деформационной устойчивостью.
В.6.2 При установке оконного слива в узлах примыкания к стеновому проему и коробке оконного блока следует выполнять мероприятия, исключающие попадание влаги в монтажный шов, а под сливами устанавливать прокладки (гасители), снижающие шумовое воздействие дождевых капель. Рекомендуемый свес слива за наружную поверхность стены - 30 - 40 мм.
В.6.3 Примыкание подоконника к коробке оконного блока выполняют плотным, герметичным и устойчивым к деформациям. Рекомендуется установка подоконника на опорные несущие колодки и пенный утеплитель.
В.6.4 В узлах соединения отдельных коробок оконных блоков между собой или их примыкания к подставочным, проставочным, поворотным или расширительным профилям следует выполнять мероприятия, предотвращающие образование тепловых мостков. Допускается установка в таких узлах по всему контуру примыкания саморасширяющихся лент или других изоляционных материалов, обеспечивающих необходимое сопротивление теплопередаче и деформационную устойчивость.
В.6.5 Защитные пленки с профилей створок и коробок удаляют в соответствии с рекомендациями производителей профиля с учетом условий безопасного производства работ.
В.7 Требования безопасности
При производстве работ по устройству монтажных швов, а также при хранении изоляционных и других материалов должны соблюдаться требования строительных норм и правил по технике безопасности в строительстве, правил пожарной безопасности при производстве строительно-монтажных работ и стандартов ССБТ (система стандартов безопасности труда). На все технологические операции и производственные процессы должны быть разработаны инструкции по технике безопасности (включая операции, связанные с эксплуатацией электрооборудования и работами на высоте).
(рекомендуемое)
Метод предназначен для оценки температурного режима узлов примыкания оконных блоков к стеновым проемам и выбора наиболее рационального конструктивного решения монтажных швов с учетом геометрической формы, места расположения и теплопроводности изоляционных материалов, оконных блоков и стеновых конструкций.
Сущность метода заключается в моделировании стационарного процесса теплопередачи через узлы примыканий оконного блока к стеновому проему с использованием соответствующего программного обеспечения.
Г.1 Требования к программному обеспечению
Г.1.1 Программное средство, с помощью которого производят расчет, должно иметь сопровождающую техническую документацию и обеспечивать возможность расчета двухмерного (плоского) или трехмерного (пространственного) температурного поля, тепловых потоков и сопротивления теплопередаче в заданной области ограждающих конструкций при стационарных условиях теплопередачи.
Г.1.2 Ввод исходных данных должен производиться либо в графическом виде (с экрана монитора), либо в виде табличных данных и обеспечивать возможность задания требуемых характеристик материалов и граничных условий рассчитываемой конструкции в заданной области; при этом возможно использование как банка данных, так и задания исходных данных в виде расчетных значений.
Г.1.3 Представление результатов расчета должно обеспечивать возможность визуализации температурного поля, определение температуры в любой точке рассчитываемой области, определение суммарных входящих и выходящих тепловых потоков через заданные поверхности и сопротивления теплопередаче локальных участков конструкций.
Г.1.4 Окончательные результаты расчета должны представляться в документированном виде и включать: расчетные температуры наружного и внутреннего воздуха, коэффициенты теплообмена поверхностей, распределение температур по заданному сечению рассчитанного узла, информацию по входящим и выходящим тепловым потокам, значения сопротивления теплопередаче локальных участков конструкций.
Г.2 Общие указания
Г.2.1 Оценка температурного режима узлов примыканий оконного блока к стеновым проемам должна производиться для следующих характерных сечений (рисунок Г.1):
- узла сопряжения оконного блока с простенком (горизонтальное сечение);
- узла сопряжения с подоконником (вертикальное сечение);
- узла сопряжения с перемычками оконного проема (вертикальное сечение);
- узла сопряжения порога балконной двери с плитой перекрытия (для балконных дверей).
При использовании программы расчета трехмерных температурных полей оценка температурного режима указанных сечений может проводиться на основе расчета одного пространственного блока, включающего фрагмент наружной стены с заполнением оконного проема.
Г.2.2 Размеры расчетной области рекомендуется принимать:
- для поверхностей, граничащих с наружным и внутренним воздухом, - в соответствии с очертаниями конструктивных элементов ограждений;
- для поверхностей (сечений), ограничивающих расчетную область, - по осям симметрии ограждающих конструкций или на расстоянии не менее четырех толщин конструктивного элемента, попадающего в сечение.
Г.2.3 Граничные условия следует принимать:
- для поверхностей, граничащих с наружным и внутренним воздухом в соответствии с нормами проектирования соответствующих зданий и сооружений и климатическим районом строительства;
- для поверхностей (сечений), ограничивающих расчетную область, тепловой поток и коэффициенты теплоотдачи следует принимать равными нулю.
Г.2.4 Расчет температурного режима узлов примыкания рекомендуется проводить в следующем порядке:
- определяют размеры расчетной области и выбираются характерные сечения;
- составляют расчетные схемы узлов примыкания; при этом сложные конфигурации участков, например криволинейные, заменяются более простыми, если эта конфигурация имеет незначительное влияние в теплотехническом отношении;
- проводят подготовку и ввод в программу исходных данных: геометрических размеров, расчетных коэффициентов теплопроводности, расчетных температур наружного и внутреннего воздуха, расчетных коэффициентов теплоотдачи участков поверхностей;
- осуществляют расчет температурного поля;
- проводят визуализацию результатов расчета; анализируют характер распределения температур в рассматриваемой области, определяют температуру внутренней и наружной поверхностей в отдельных точках; устанавливают минимальную температуру внутренней поверхности; результаты расчета сопоставляют с требованиями настоящего стандарта и других нормативных документов; определяют суммарный тепловой поток, входящий в расчетную область; при необходимости конструктивное решение узла примыкания изменяют и проводят повторные расчеты;
- составляют документированный отчет по результатам расчетов.
Г.3 Основные требования к сопровождающей технической документации
Сопровождающая техническая документация должна содержать:
- область применения программного средства;
- сведения о сертификации программной продукции;
- подробное описание назначения программы и ее функций;
- описание процедуры установки программы на персональном компьютере;
- описание математических моделей, используемых в программе;
- детальное руководство пользователя с примерами реализации;
- координаты службы технической поддержки.
Г.4 Пример расчета
Необходимо провести расчет температурного поля и оценить возможность выпадения конденсата на поверхности узла примыкания оконного блока из клееной древесины по ГОСТ 24700 к простенку однослойной кирпичной стены из полнотелого кирпича на цементно-песчаном растворе (горизонтальное сечение). Наружный гидроизоляционный слой - предварительно сжатая уплотнительная лента, центральный теплоизоляционный слой - пенный утеплитель, внутренний пароизоляционный слой - пароизоляционная лента. Поверхность оконного откоса утеплена термовкладышем из экструдированного пенополистирола толщиной 25 мм. Основные размеры и характеристика материалов оконного блока и наружной стены представлены на рисунке Г.2.
Исходные данные: расчетная температура внутреннего воздуха tвр = + 20 °С; расчетная температура наружного воздуха tнр = минус 28 °С; температура «точки росы» tр = 10,7 °С; расчетный коэффициент теплоотдачи внутренней поверхности стены aвст = 8,7 Вт/(м2·°С); расчетный коэффициент теплоотдачи внутренней поверхности оконного блока aвок = 8,0 Bт/(м2·°C); коэффициент теплоотдачи наружной поверхности стены и оконного блока aн = 23,0 Вт/(м2·°С).
Расчетная область узла примыкания принята по осям симметрии оконного блока и простенка наружной стены. Расчетная схема представлена на рисунке Г.2 а, схема задания граничных условий - на рисунке Г.2 б.
Результаты расчета представлены на рисунке Г.3 в виде распределения температур (изотерм) по сечению рассчитываемой области и значений температур внутренней и наружной поверхности в отдельных, наиболее характерных точках.
Анализ результатов расчетов показывает, что минимальная температура внутренней поверхности наблюдается в зоне сопряжения оконной коробки с откосом оконного проема и составляет tвmin = 12,6 °С. Сопоставление минимальной температуры внутренней поверхности с температурой «точки росы» свидетельствует об отсутствии условий выпадения конденсата на поверхности данного узла примыкания (в то же время температура на внутренней поверхности стеклопакета в области дистанционной рамки составляет 3,4 °С, что обусловит выпадение конденсата в данной области).
Рисунок Г.1 - Схема расположения сечений для проверки температурного режима узлов примыканий оконных блоков к наружным стенам:
а - оконного блока; б - балконной двери
1 - кирпичная кладка, λ = 0,8 Вт/(м·°С); 2 - цементно-песчаный раствор, λ = 0,93 Вт/(м·°С); 3 - древесина поперек волокон, λ = 0,22 Вт/(м·°С); 4 - монтажная пена, λ = 0,05 Вт/(м·°С); 6 - экструдированный пенополистирол, λ = 0,05 Вт/(м·°С); 7 - стекло, λ = 0,76 Вт/(м·°С); 8 - воздушная прослойка 12 мм, λэкв = 0,08 Вт/(м·°С); 9 - алюминий, λ = 220 Вт/(м·°С); 10 - герметик, λ = 0,34 Вт/(м·°С); 11 - пароизоляционная лента, λ = 0,56 Вт/(м·°С)
Рисунок Г.2 - Расчетная схема (а) и схема задания граничных условий (б) узла примыкания оконного блока к оконному проему
Рисунок Г.3 - Результаты расчета распределения температур по узлу примыкания оконного блока из клееной древесины к стене из полнотелого кирпича
(информационное)
Настоящий стандарт подготовлен рабочей группой специалистов в составе:
Н. В. Шведов, Госстрой России (руководитель);
А. Д. Кривошеин, СибАДИ;
Г. А. Пахотин, СибАДИ;
А. А. Климухин, НИИСФ РААСН;
В. А. Лобанов, НИИСФ РААСН;
В. А. Могутов, НИИСФ РААСН;
В. А. Аникин, МНИИТЭП;
П. Е. Нестеренко, «illbruk»;
А. А. Локочинский, «illbruk»;
В. Миллер, Gealan Werk Fickenscher GmbH;
В. А. Козионов, ЗАО «КБЕ - Оконные технологии»;
В. А. Игнатенко, ЗАО «КБЕ - Оконные технологии»;
В. А. Тарасов, ЗАО «КБЕ - Оконные технологии»;
С. А. Марьясин, ООО «Концепция СПК»;
Ю. П. Александров, ОАО «ЦНИИПромзданий»;
В. А. Зубков, ИЦ «Самарастройиспытания»;
А. Ю. Куренкова, НИУПЦ «Межрегиональный институт окна»;
О. Науманн, фирма «fischer»;
А. В. Спиридонов, АПРОК;
И. А. Румянцева, ГУН «НИИМосстрой»;
В. И. Снятков, ГУП «НИИМосстрой»;
Д. Н. Шведов, Центр по сертификации оконной и дверной техники;
О. М. Мартынов, Федеральный центр по сертификации в строительстве;
Н. Ю. Румянцев, ООО «Робитекс»;
B. C. Савич, ФГУП ЦНС
Ключевые слова: оконные блоки, монтажный зазор, монтажный шов, узел примыкания оконного блока и стенового проема, деформативное воздействие, наружный изоляционный слой