Скачать Рекомендации по контролю качества клеевых соединений деревянных клееных конструкций

Дата актуализации: 01.01.2021

Рекомендации по контролю качества клеевых соединений деревянных клееных конструкций

Статус:не действует
Название рус.:Рекомендации по контролю качества клеевых соединений деревянных клееных конструкций
Дата добавления в базу:01.09.2013
Дата актуализации:01.01.2021
Область применения:В документе изложены общие требования к проведению испытаний клеевых соединений конструкций, указаны оборудование и аппаратура, необходимые для проведения испытаний; описаны методы проверки качества древесины и клеевых соединений, методы определения прочности клеевых соединений при различных напряженных состояниях: скалывании, раскалывании, растяжении, изгибе и другие; некоторые специфичные виды испытаний при оценке прочности соединений древесины с металлом, угловых соединений и другие; методы оценки стойкости клееных соединений к переменному действию влаги, температуры и других эксплуатационных факторов. Для работников лабораторий производственных и научно-исследовательских организаций.
Оглавление:Предисловие
1. Общие положения
2. Контроль качества древесины
   Прочность при статическом изгибе
   Прочность при продольном растяжении
   Прочность при скалывании вдоль волокон
   Плотность, пороки и внутренние напряжения древесины
3. Контроль качества клеев
4. Контроль технологических параметров процесса склеивания
5. Контроль кратковременной прочности клеевых соединений
   Прочность пластовых и кромочных клеевых соединений при скалывании вдоль волокон древесины
   Прочность клеевого соединения при раскалывании
   Прочность зубчатых и торцовых клеевых соединений при растяжении вдоль волокон древесины
   Прочность зубчатых клеевых соединений при статическом изгибе
   Прочность клеевого соединения при отрыве поперек волокон древесины
   Прочность угловых клеевых соединений
   Прочность склеивания металлических штырей с древесиной
6. Контроль кратковременной прочности крупных клееных образцов и элементов конструкций
7. Контроль стойкости клеевых соединений к температурно-влажностным воздействиям
   Водостойкость клеевых соединений
   Стойкость к цикличным температурно-влажностным воздействиям
   Теплостойкость и морозостойкость клеевых соединений
   Атмосферостойкость клеевых соединений
   Расслаивание при переменном увлажнении
8. Контроль прочности при длительном действии статической нагрузки
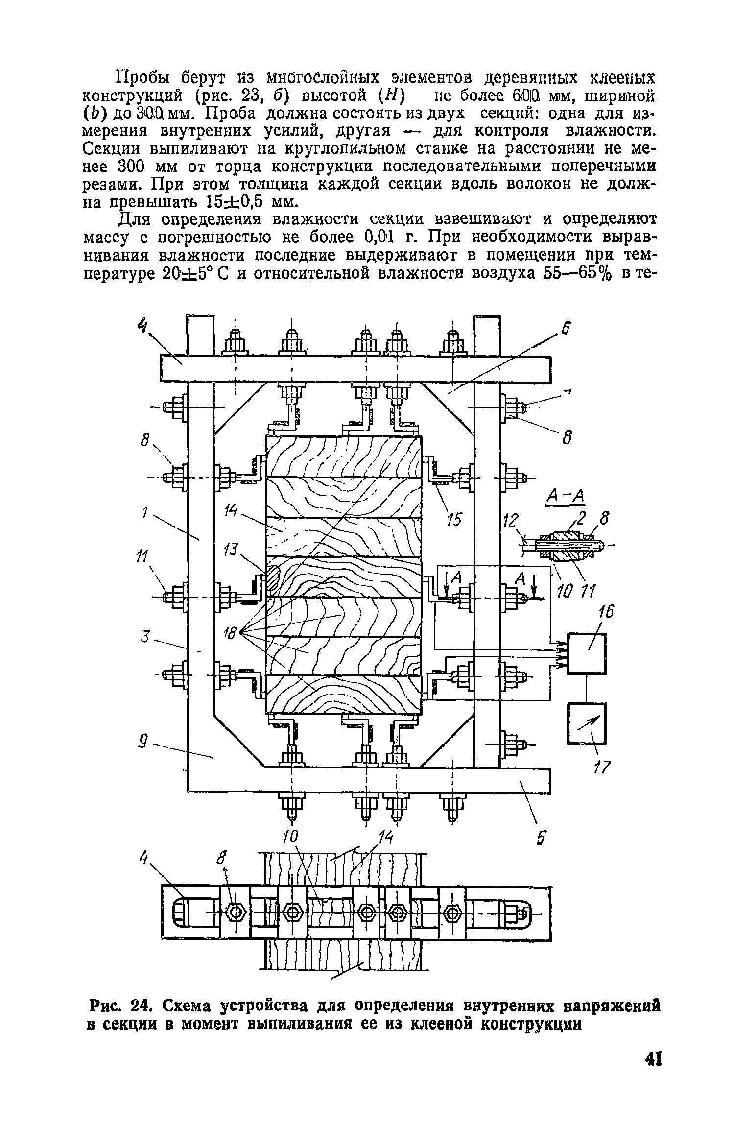
9. Контроль внутренних напряжений
Приложение 1. Виды контроля и рекомендуемые области их применения
Приложение 2. Протокол определения предела прочности древесины и клеевых соединений ,….
Приложение 3. Протокол определения стойкости клеевых соединений к различным температурам-влажностным воздействиям
Разработан: ЦНИИСК им. В.А. Кучеренко
Утверждён: ЦНИИСК им. В.А. Кучеренко Госстроя СССР
Издан: Стройиздат (1981 г. )
Нормативные ссылки: