Скачать Рекомендации по проектированию и устройству фундаментов из цементогрунта

Дата актуализации: 01.01.2021

Рекомендации по проектированию и устройству фундаментов из цементогрунта

Статус:действует
Название рус.:Рекомендации по проектированию и устройству фундаментов из цементогрунта
Дата добавления в базу:01.09.2013
Дата актуализации:01.01.2021
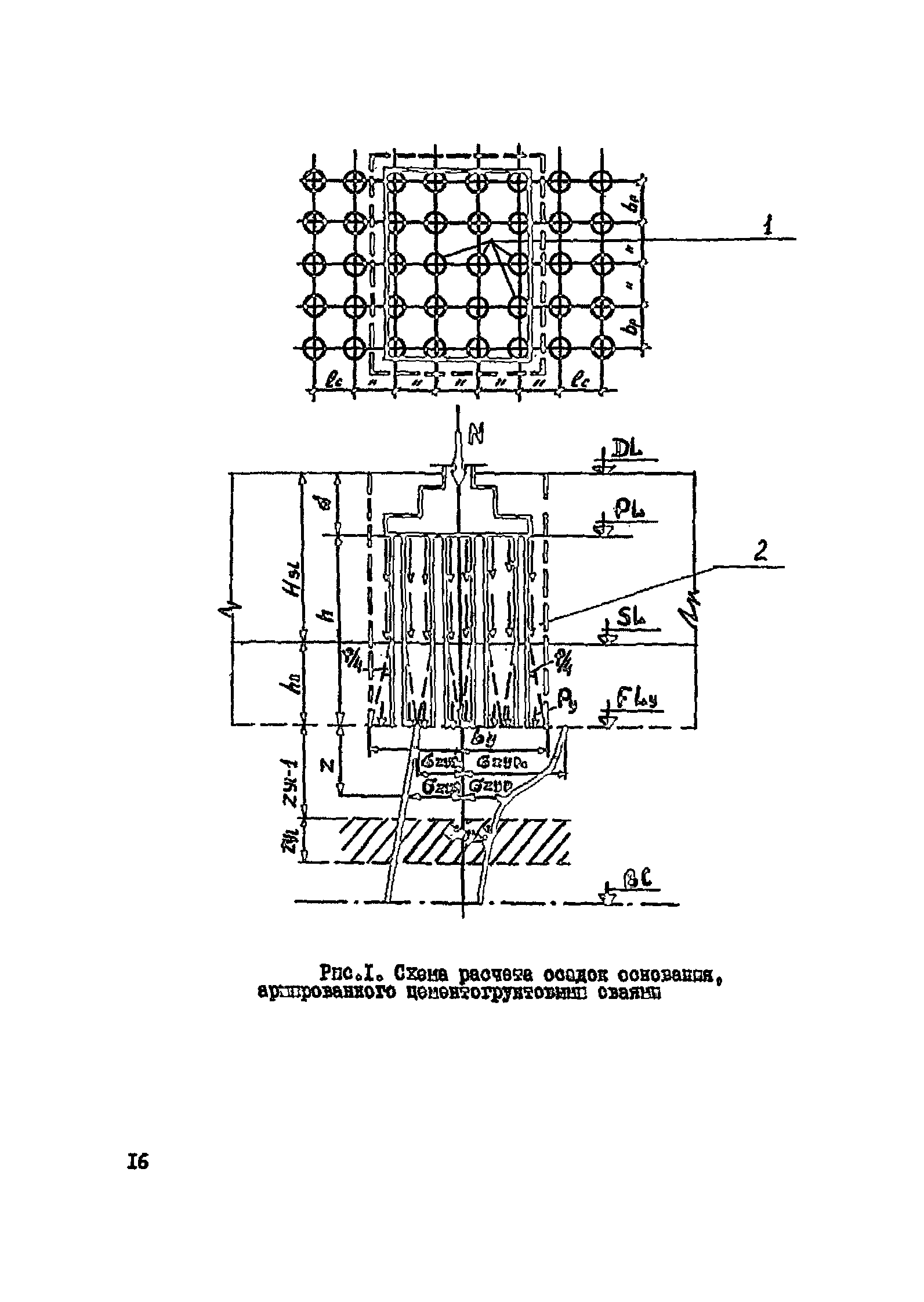
Область применения:Рекомендации представляют собой пособие по проектированию и устройству фундаментов и оснований из цементогрунтовых свой, а также малозаглубленных ленточных фундаментов из цементогрунта.
Оглавление:1. Общие положения
2. Требования и материалы
3. Проектирование фундаментов из цементогрунта
4. Проектирование несущей способности цементогрунтовых свай по результатам статических испытаний
5. Подбор состава цементогрунтовой смеси
6. Технология и организация работ по устройству монолитных фундаментов из цементогрунта
   А. Свайные фундаменты
   Б. Ленточные фундаменты
7. Сборные фундаменты
8. Контроль качества и приемка выполненных работ
9. Техника безопасности
Приложения 1 - 13
Разработан: НИИОСП им. Н.М. Герсеванова Госстроя СССР
НИИСП Госстроя УССР
ВЗИСИ
ЦНИИЭПсельстрой
Сиб АДИ
Краснодаркрайколхозстройобъединение
Кубанский СХИ
Утверждён: НИИОСП им. Н.М. Герсеванова Госстроя СССР (Gersevanov NIIOSP, USSR Gosstroy )
Нормативные ссылки: