Скачать Рекомендации по устройству фундаментов способом опускного колодцаДата актуализации: 01.01.2021 |
| Статус: | справочные материалы, мп, тпр |
| Название рус.: | Рекомендации по устройству фундаментов способом опускного колодца |
| Дата добавления в базу: | 01.09.2013 |
| Дата актуализации: | 01.01.2021 |
| Область применения: | Рекомендации содержат сведения по устройству фундаментов зданий и сооружений способом опускного колодца. Приведены особенности опускных конструкций и способы их погружения, связанные с требованиями фундаментостроения. |
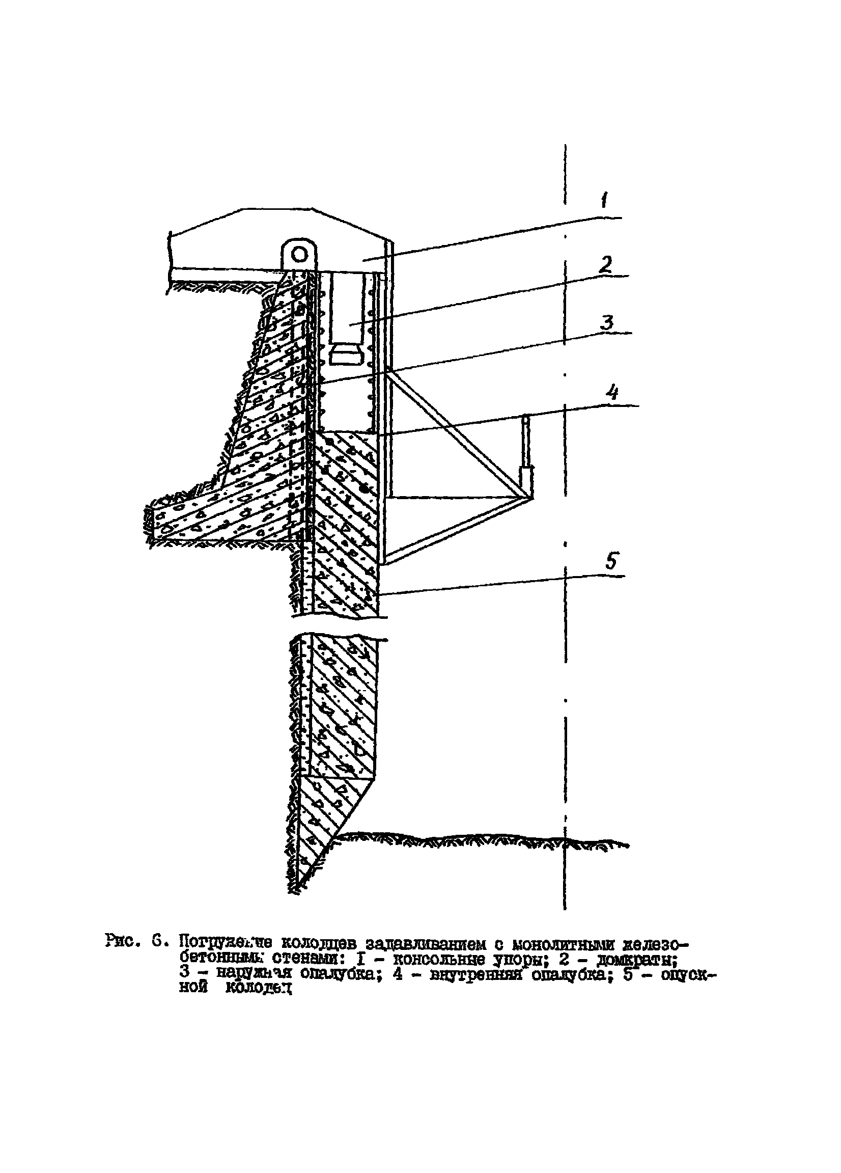
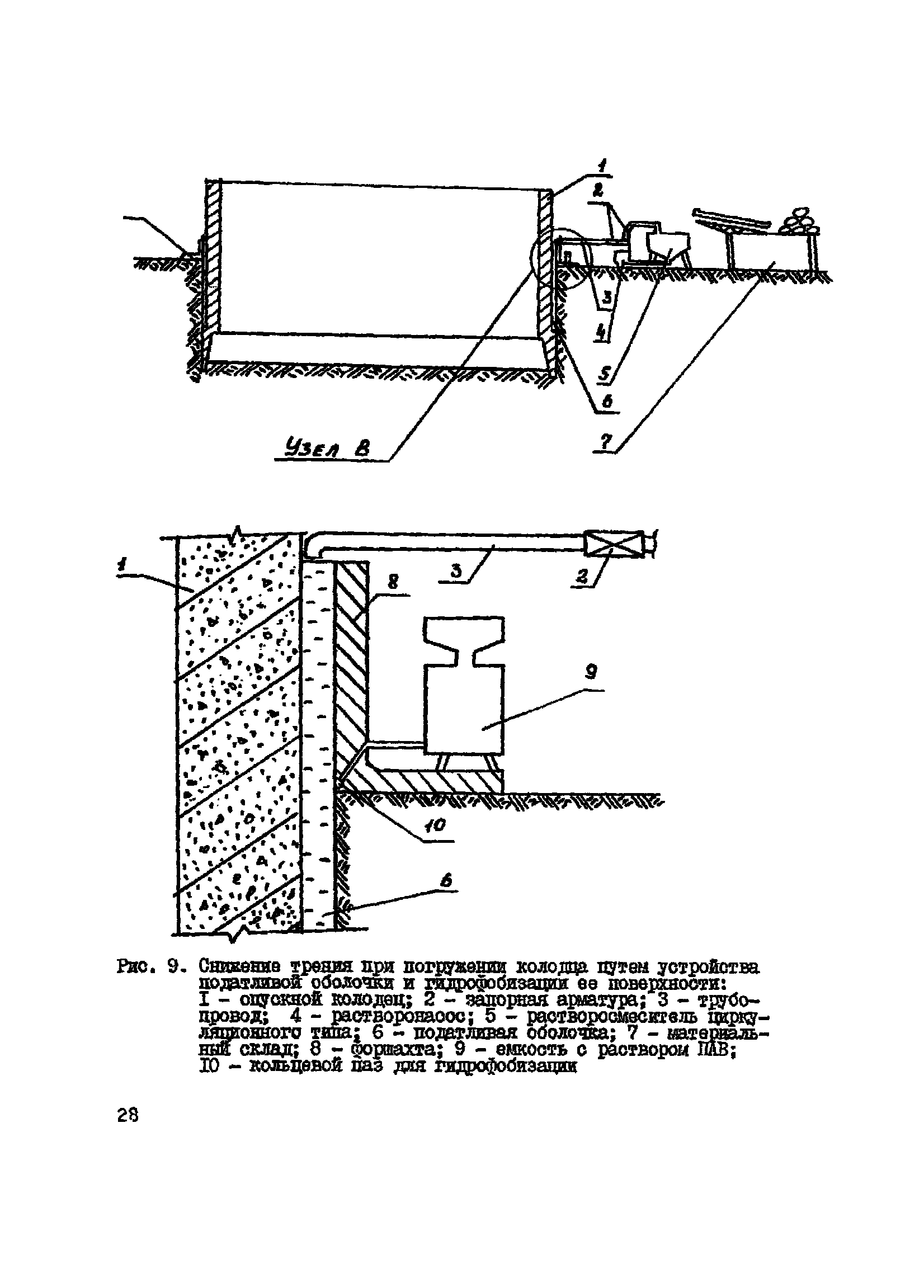
| Оглавление: | 1. Общие положения 2. Конструкции опускных колодцев для возведения отдельно стоящих фундаментов 3. Конструкции опускных колодцев, используемых под подвалы зданий 4. Требования к проекту производства работ 5. Особенности производства работ при устройстве фундаментов способом опускного колодца 6. Снижение сил трения боковой поверхности фундаментов, сооружаемых опускным способом Список литературы |
| Разработан: | ВНИИОСП им. Н.М. Герсеванова |
| Утверждён: | ВНИИОСП имени Н.М. Герсеванова |
| Нормативные ссылки: |
|
































