Скачать Пособие к СНиП 3.02.01-83 Пособие по производству работ при устройстве оснований и фундаментовДата актуализации: 01.01.2021
|
| Обозначение: | Пособие к СНиП 3.02.01-83 |
| Обозначение англ: | SNIP Handbook 3.02.01-83 |
| Статус: | привязан к неактуализированному документу |
| Название рус.: | Пособие по производству работ при устройстве оснований и фундаментов |
| Название англ.: | Handbook on Work Execution for Construction of Beds and Foundations |
| Дата добавления в базу: | 01.09.2013 |
| Дата актуализации: | 01.01.2021 |
| Дата введения: | 20.02.1984 |
| Дата окончания срока действия: | 01.07.1988 |
| Область применения: | Документ содержит требования, необходимые при составлении проектов производства работ, а также требования по производству и приемке работ при устройстве оснований и фундаментов. |
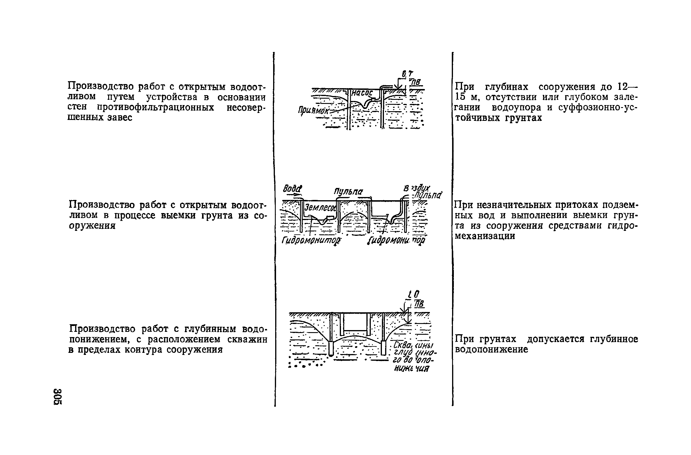
| Оглавление: | Предисловие Раздел 1. Общая часть Раздел 2. Естественные основания Раздел 3. Уплотнение грунтов Общие положения Требования к материалам Требования к проекту производства работ Применяемые механизмы и их техническая характеристика Опытное уплотнение Правила производства работ Раздел 4. Строительное водопонижение Общие положения Проект производства водопонизительных работ Материалы Основное оборудование Водоотлив из котлованов и траншей Устройство дренажей Устройство и эксплуатация водопонизительнмх скважин Устройство иглофильтровых систем Электроосушение Эксплуатация водопонизительных систем Демонтаж оборудования и ликвидация водопонизительных систем Наблюдения, контроль качества, документация при производстве работ Приемка работ Раздел 5. Закрепление грунтов Общие положения Инъекционное химическое закрепление Силикатизация и смолизация Химическая технология силикатизации и смолизации и применяемые химические материалы Правила производства работ и применяемые механизмы и оборудование при силикатизация и смолизации Контроль качества работ по силикатизации и смолизации Техника безопасности и охрана окружающей среды при силикатизации и смолизации Цементация Буросмесительное закрепление илов Термическое закрепление Раздел 6. Искусственное замораживание грунтов Общие положения Оборудование, материалы, производство работ. Бурение скважин Замораживающие колонки и их монтаж Холодильные установки и их монтаж Рассольная сеть и ее монтаж Испытание холодильных установок и рассольной сети Эксплуатация замораживающей станции Контроль качества и приемка работ Разработка грунта Оттаивание грунтов и погашение скважин Раздел 7. Сооружении, устраиваемые способом стена в грунте Общие положения Сооружения из монолитного железобетона Сооружения из сборного железобетона Противофильтрационные завесы Контроль качества работ Раздел 8. Свайные фундаменты, шпунтовые ограждении и анкеры Общие положения Погружение свай, свай-оболочек и шпунта Погружение свай в вечномерзлые грунты Изготовление буронабивных свай Устройство камуфлетных уширений Устройство котлованов для свайных ростверков Котлованы без креплений Шпунтовые ограждения и щитовые перемычки и бездонные ящики Выемка грунтов и водоотлив Устройство свайных ростверков Устройство монолитных ростверков Устройство сборных ростверков Приемка работ Устройство буроинъекционных свай Укрепительная цементация Инъекционные анкеры Раздел 9. Опускные колодцы и кессоны Общие положения Опускные колодцы Кессоны Приемка работ Приложения |
| Разработан: | НИИОСП им. Н.М. Герсеванова Госстроя СССР ВНИИГС Минмонтажспецстроя СССР Гидроспецпроект Минэнерго СССР НИИСП Госстроя УССР ГПИфундаментпроект ЦНИИС |
| Утверждён: | 20.02.1984 НИИОСП им. Н.М. Герсеванова Госстроя СССР (Gersevanov NIIOSP, USSR Gosstroy 22) |
| Издан: | Стройиздат (1986 г. ) |
| Нормативные ссылки: |
























































































































































































































































































































































































































































































































































































