Скачать Типовые решения элементов зданий с применением архитектурного стекла

Дата актуализации: 01.01.2021

Типовые решения элементов зданий с применением архитектурного стекла

Статус:не действует
Название рус.:Типовые решения элементов зданий с применением архитектурного стекла
Дата добавления в базу:01.09.2013
Дата актуализации:01.01.2021
Область применения:В документе приведены свойства и рациональные области применения архитектурного стекла, выпускаемого отечественной промышленностью, рассмотрены типовые конструктивные решения, позволяющие использовать это стекло в наружных ограждениях и интерьерах гражданских зданий. Даны примеры применения архитектурного стекла в зданиях различного назначения. Для инженерно-технических работников проектных и строительных организаций.
Оглавление:Введение
1. Номенклатура архитектурного стекла
   1.1. Узорчатые декоративные стекла
   1.2. Стекло листовое армированное
   1.3. Стекло закаленное эмалированное - стемалит
   1.4. Стекло листовое цветное
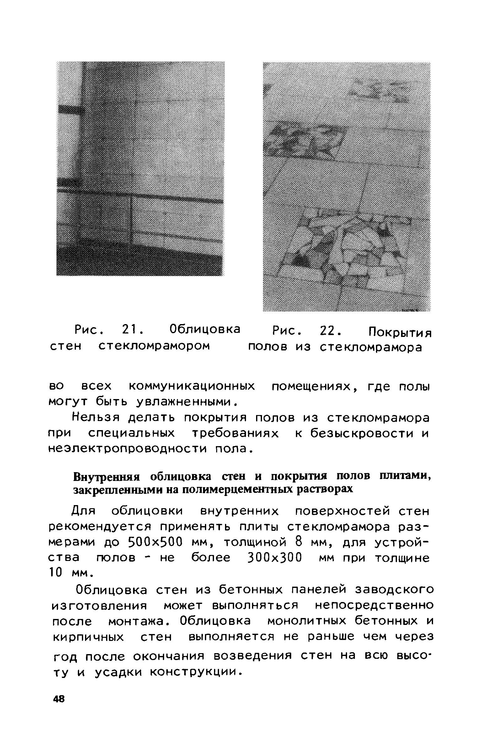
   1.5. Стекломрамор
   1.6. Декоративный марблит
   1.7. Прокатный шлакоситалл
2. Рекомендации по применению архитектурного стекла
   2.1.Узорчатые декоративные стекла
   2.2. Стекло листовое армированное
   2.3. Стекло закаленное эмалированное - стемалит
   2.4. Стекло листовое цветное
   2.5. Стекломрамор
   2.6. Декоративный марблит
   2.7. Прокатный шлакоситалл
3. Конструктивные решения типовых элементов зданий с применением архитектурного стекла
   3.1. Применение архитектурного стекла в светопрозрачных ограждения
   3.2. Декоративные витражи из цветного листового стекла
   3.3. Подвесные потолки
   3.4. Ограждения балконов, лоджий, лестничных маршей и площадок
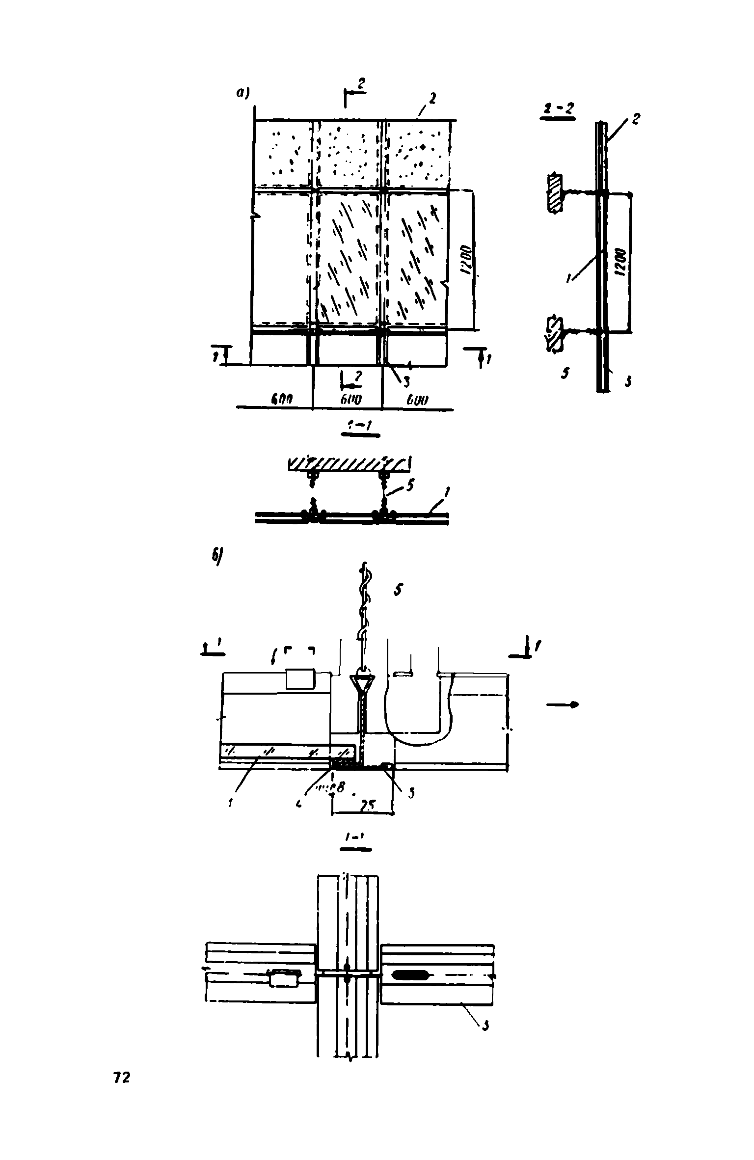
   3.5. Стеновые панели
Приложение 1. Основные заводы-изготовители полимеров
Приложение 2. Перечень использованных нормативных документов
Разработан: ЦНИИЭП учебных зданий Госгражданстроя
Утверждён: ЦНИИЭП учебных зданий Госгражданстроя
Издан: Стройиздат (1981 г. )
Нормативные ссылки: