ЕВРАЗИЙСКИЙ СОВЕТ ПО СТАНДАРТИЗАЦИИ,
МЕТРОЛОГИИ И СЕРТИФИКАЦИИ
(ЕАСС)
EURO-AZIAN COUNCIL FOR STANDARDIZATION,
METROLOGY AND CERTIFICATION
(EASC)
|
|
МЕЖГОСУДАРСТВЕННЫЙ СТАНДАРТ |
ГОСТ |
БЛОКИ ОКОННЫЕ
ИЗ АЛЮМИНИЕВЫХ СПЛАВОВ
Технические условия
МЕЖГОСУДАРСТВЕННАЯ НАУЧНО-ТЕХНИЧЕСКАЯ КОМИССИЯ
ПО СТАНДАРТИЗАЦИИ, ТЕХНИЧЕСКОМУ НОРМИРОВАНИЮ
И СЕРТИФИКАЦИИ В СТРОИТЕЛЬСТВЕ
(МНТКС)
Москва
Предисловие
Евразийский совет по стандартизации, метрологии и сертификации (ЕАСС) представляет собой региональное объединение национальных органов по стандартизации государств, входящих в Содружество Независимых Государств. В дальнейшем возможно вступление в ЕАСС национальных органов по стандартизации других государств.
При ЕАСС действует Межгосударственная научно-техническая комиссия по стандартизации, техническому нормированию и сертификации в области строительства (МНТКС), которой предоставлено право принятия межгосударственных стандартов в области строительства.
Цели, основные принципы и основной порядок проведения работ по межгосударственной стандартизации установлены ГОСТ 1.0-92 «Межгосударственная система стандартизации. Основные положения» и МСН 1.01-01-96 «Система межгосударственных нормативных документов в строительстве. Основные положения».
Сведения о стандарте
1 РАЗРАБОТАН Ассоциацией «АПРОК» с участием «REYNAERS Aluminium», OOO «Агрисовгаз» и ОАО «ЦНИИпромзданий»
2 ВНЕСЕН Госстроем России
3 ПРИНЯТ Межгосударственной научно-технической комиссией по стандартизации, техническому нормированию и сертификации в строительстве (МНТКС) 14 мая 2003 г.
За принятие проголосовали:
|
Краткое наименование страны по МК (ИСО 3166) 004-97 |
Код страны по МК (ИСО 3166) 004-97 |
Сокращенное наименование органа государственного управления строительством |
|
Армения |
AM |
Министерство градостроительства Республики Армения |
|
Казахстан |
KZ |
Казстройкомитет Республики Казахстан |
|
Киргизия |
KG |
Государственная комиссия по архитектуре и строительству при Правительстве Кыргызской Республики |
|
Молдова |
MD |
Министерство экологии, строительства и развития территорий Республики Молдова |
|
Российская Федерация |
RU |
Госстрой России |
|
Таджикистан |
TJ |
Комархстрой Республики Таджикистан |
|
Узбекистан |
UZ |
Госархитектстрой Республики Узбекистан |
|
Туркменистан |
TM |
Главгосслужба «Туркменстандартлары» |
(Поправка).
4 ВЗАМЕН ГОСТ 21519-84
5 ВВЕДЕН В ДЕЙСТВИЕ с 1 марта 2004 г. в качестве государственного стандарта Российской Федерации постановлением Госстроя России от 20 июня 2003 г. № 77
Информация о введении в действие (прекращении действия) настоящего стандарта и изменений к нему на территории указанных выше государств публикуется в указателях национальных (государственных) стандартов, издаваемых в этих государствах.
Информация об изменениях к настоящему стандарту публикуется в указателе (каталоге) «Межгосударственные стандарты», а текст изменений - в информационных указателях «Межгосударственные стандарты». В случае пересмотра или отмены настоящего стандарта соответствующая информация будет опубликована в информационном указателе «Межгосударственные стандарты».
СОДЕРЖАНИЕ
ГОСТ 21519-2003
МЕЖГОСУДАРСТВЕННЫЙ СТАНДАРТ
БЛОКИ ОКОННЫЕ
ИЗ АЛЮМИНИЕВЫХ СПЛАВОВ
Технические условия
Windows
of aluminium.
Specifications
Дата введения 2004-03-01
Настоящий стандарт распространяется на оконные и балконные дверные блоки (далее - «оконные блоки», «изделия»), изготавливаемые с использованием профилей из алюминиевых сплавов и предназначенные для применения в зданиях и сооружениях различного назначения.
Допускается распространение требований настоящего стандарта на витринные оконные блоки и витражные светопрозрачные конструкции, изготавливаемые по рабочей проектной и технической документации и рассчитанные на эксплуатационные нагрузки.
Стандарт не распространяется на изделия с раздвижным открыванием створок, навесные фасадные конструкции, а также на оконные блоки специального назначения в части дополнительных требований к пожаробезопасности, защите от взлома и т.д.
Область применения конкретных марок изделий устанавливают в зависимости от условий эксплуатации в соответствии с действующими строительными нормами и правилами и требованиями настоящего стандарта.
Стандарт может быть применен для целей сертификации.
В настоящем стандарте использованы ссылки на следующие нормативные документы:
ГОСТ 9.031-74 ЕСЗКС. Покрытия анодно-окисные полуфабрикатов из алюминия и его сплавов. Общие требования и методы контроля
ГОСТ 9.301-86 ЕСЗКС. Покрытия металлические и неметаллические неорганические. Общие требования
ГОСТ 9.303-84 ЕСЗКС. Покрытия металлические и неметаллические неорганические. Общие требования к выбору
ГОСТ 111-2001 Стекло листовое. Технические условия
ГОСТ 166-89* Штангенциркули. Технические условия
ГОСТ 427-75 Линейки измерительные металлические. Технические условия
ГОСТ 538-2001 Изделия замочные и скобяные. Технические условия
ГОСТ 7502-98 Рулетки измерительные металлические. Технические условия
ГОСТ 8026-92 Линейки поверочные. Технические условия
ГОСТ 8828-89 Бумага-основа и бумага двухслойная водонепроницаемая упаковочная
ГОСТ 9416-83 Уровни строительные. Технические условия
ГОСТ 10354-82* Пленка полиэтиленовая. Технические условия
ГОСТ 22233-2001 Профили прессованные из алюминиевых сплавов для светопрозрачных ограждающих конструкций. Технические условия
ГОСТ 23166-99 Блоки оконные. Общие технические условия
ГОСТ 24404-80 Изделия из древесины и древесных материалов. Покрытия лакокрасочные. Классификация и обозначения
ГОСТ 24866-99 Стеклопакеты клееные строительного назначения. Технические условия
ГОСТ 26602.1-99 Блоки оконные и дверные. Методы определения сопротивления теплопередаче
ГОСТ 26433.0-85 Система обеспечения точности геометрических параметров в строительстве. Правила выполнения измерений. Общие положения
ГОСТ 26433.1-89 Система обеспечения точности геометрических параметров в строительстве. Правила выполнения измерений. Элементы заводского изготовления
ГОСТ 26602.2-99 Блоки оконные и дверные. Методы определения воздухо- и водопроницаемости
ГОСТ 26602.3-99 Блоки оконные и дверные. Метод определения звукоизоляции
ГОСТ 26602.4-99 Блоки оконные и дверные. Метод определения общего коэффициента пропускания света
ГОСТ 26602.5-2001 Блоки оконные и дверные. Методы определения сопротивления ветровой нагрузке
ГОСТ 30698-2000 Стекло закаленное строительное. Технические условия
ГОСТ 30733-2000 Стекло с низкоэмиссионным твердым покрытием. Технические условия
ГОСТ 30777-2001 Устройства поворотные, откидные и поворотно-откидные для оконных и балконных дверных блоков. Технические условия
ГОСТ 30778-2001 Прокладки уплотняющие из эластомерных материалов для оконных и дверных блоков. Технические условия
ГОСТ 30826-2002 Стекло многослойное строительного назначения. Технические условия
ГОСТ 30971-2001 Швы монтажные узлов примыканий оконных блоков к стеновым проемам. Общие технические условия
ГОСТ 31014-2002 Профили полиамидные стеклонаполненные. Технические условия
3.1 Изделия классифицируют по ГОСТ 23166, а также по вариантам конструктивного исполнения профилей и видам их защитно-декоративного покрытия.
3.2 По вариантам конструктивного исполнения профилей изделия подразделяют на изготовляемые из:
полых профилей из алюминиевых сплавов (А);
комбинированных профилей с термоизоляционной вставкой (АК);
комбинированных профилей с термоизоляционной вставкой, заполненной утеплителем (АКУ).
Оконные блоки могут быть облицованы с внутренней стороны накладными деревянными планками (АД, АКД, АКУД).
3.3 По видам защитно-декоративного покрытия профилей изделия классифицируют согласно ГОСТ 22233.
3.4 Условное обозначение изделий принимают по ГОСТ 23166 с указанием обозначения настоящего стандарта.
Допускается принимать следующую структуру условного обозначения:

* СПО - однокамерный стеклопакет; СПД - двухкамерный стеклопакет; С - одинарное стекло. Допускается указывать конструкцию стеклопакета по ГОСТ 24866, например 4М1-16Аг-К4.
** Допускается не указывать для оконных блоков, предназначенных для установки в неотапливаемые помещения.
*** Рекомендуемая составляющая условного обозначения: Ф - с форточками, Фр - с фрамугами, Р - с распашным (поворотным) открыванием, О - с откидным открыванием; ПД - с подвесным открыванием; ПО - с поворотно-откидным открыванием, К - с комбинированным открыванием; Л - левого исполнения, П - правого исполнения. Допускается вводить дополнительные буквенные обозначения конструктивных решений согласно технической документации изготовителя.
При экспортно-импортных поставках допускается применять другую структуру условного обозначения, оговоренную в договоре (контракте).
Примеры условного обозначения:
ОАК СПД 1660-1470-82 В2 ГОСТ 21519-2003 - оконный блок из алюминиевых комбинированных профилей, с двухкамерным стеклопакетом, высотой 1660 мм, шириной 1470 мм, толщиной (ширина коробки) 82 мм, класс по приведенному сопротивлению теплопередаче - В2, изготовленный по настоящему стандарту.
БА (4М1-16-4М1) 2160-870-62 Д1 РП ГОСТ 21519-2003 - балконный дверной блок из полых алюминиевых профилей, с однокамерным стеклопакетом (4М1-16-4М1), высотой 2160 мм, шириной 870 мм, толщиной (ширина коробки) 62 мм, класс по приведенному сопротивлению теплопередаче - Д1, с распашным открыванием, правого исполнения, изготовленный по настоящему стандарту.
В заказе (договоре) на изготовление изделий должны быть приведены подробное описание конструкции изделий, наименование системы и артикулы профилей, архитектурный рисунок и вид (схема) открывания; тип и расположение оконных приборов, наличие вентиляционных и климатических клапанов, цвет (согласно номеру образца-эталона), а также другие требования, отражающие специфику изделия.
3.5 К витринным оконным блокам относят изделия, предназначенные для заполнения стеновых проемов под витрину, обладающие повышенным сопротивлением к ударным и другим воздействиям и остекленные безопасными видами стекол.
К витражным светопрозрачным конструкциям (строительным витражам) относят крупногабаритные, как правило, многоячеистые конструкции из рамочных элементов со светопрозрачным заполнением, устанавливаемые в стеновые проемы зданий путем крепления профилей коробки (рамы) непосредственно к откосу проема (в отличие от навесных светопрозрачных фасадных конструкций).
4.1.1 Изделия должны соответствовать требованиям настоящего стандарта, ГОСТ 23166, условиям договоров на поставку и изготавливаться по конструкторской и технологической документации предприятия-изготовителя, утвержденной в установленном порядке.
4.1.2 Изделия представляют собой одинарные оконные конструкции из рамочных элементов, собираемых из алюминиевых профилей по ГОСТ 22233 или другой нормативной документации на угловых крепежных деталях с применением винтовых соединений. Допускается крепление углового соединения обжатием (опрессовкой) или применение комбинированного способа крепления.
Оконные блоки могут иметь распашное, откидное, поворотно-откидное, среднеповоротное и подвесное открывание створчатых элементов.
Изделия, предназначенные для отапливаемых помещений, для повышения термического сопротивления следует изготавливать из профилей с термоизоляционными вставками (термовкладышами).
С внутренней стороны изделия могут иметь деревянную облицовку.
Примеры сечений основных узлов конструкции изделий приведены на рисунках 1 - 13 и в приложении А.
4.1.3 Площадь открывающихся створок (полотен), как правило, не должна превышать 2,6 м2, масса открывающихся элементов изделий не должна превышать 100 кг, размеры створок и дверных полотен не должны быть более:
створки - по ширине 1200 мм, по высоте 2100 мм;
дверные полотна - по ширине 900 мм, по высоте 2300 мм.
Применение изделий со створками (полотнами) большей массы и размеров следует подтверждать прочностными расчетами или лабораторными испытаниями (например, испытаниями на безотказность и сопротивление ветровым нагрузкам).
Наибольшие размеры створчатых элементов оконных блоков конкретных типов в зависимости от моментов сопротивления сечения профилей, схемы открывания, вида применяемых петель, расчетных ветровых нагрузок, массы элементов остекления должны быть приведены в конструкторской документации предприятия-изготовителя.
4.2.1 Габаритные размеры и архитектурный рисунок изделий устанавливают в рабочей проектной и технической документации, а также в заказе на изготовление изделий.
1, 2 - профиль коробки и угловые крепежные детали; 3,
4 - профиль створки и угловые крепежные
детали; 5 - 7 - стеклопакет, уплотняющие прокладки, подкладка и опорная деталь;
8 - уплотняющие прокладки в притворе; 9 - козырек водосливного
отверстия;
10 - термоизоляционные вставки профилей коробки и створки
Рисунок 1
- Пример
конструктивного решения оконного блока с поворотно-откидным
открыванием створки внутрь помещения

Рисунок 2
- Пример конструктивного решения оконного
блока с откидным
открыванием створки внутрь помещения

Рисунок 3
- Вариант конструктивного решения узлов
притвора оконного блока
с поворотно-откидным открыванием внутрь помещения

Рисунок 4
- Вариант
конструктивного решения узлов притвора оконного блока
с откидным открыванием внутрь помещения

Рисунок 5
- Пример конструктивного решения оконного
блока с подвесным
открыванием створки наружу

А - открывание внутрь помещения; Б - открывание наружу
Рисунок 6 - Примеры конструктивных решений срединного притвора

Рисунок 7
- Пример конструктивного решения оконного
блока с комбинированным
остеклением: остекленная коробка внизу и открывающаяся фрамуга вверху

Рисунок 8
- Вариант конструктивного решения
срединного притвора
(открывание внутрь помещения)

Рисунок 9
- Вариант конструктивного решения
оконного блока с комбинированным
остеклением: остекленная коробка и открывающаяся створка (открывание внутрь
помещения)

Рисунок 10
- Пример конструктивного решения
балконного дверного блока
с распашным открыванием наружу

Рисунок 11
- Пример
конструктивного решения балконного дверного блока
с распашным открыванием внутрь

а - полые профили; б - комбинированные профили
с однокамерной термоизоляционной вставкой;
в - комбинированные профили с двух- и трехкамерной термоизоляционной
вставкой;
г - комбинированные профили с термоизоляционной вставкой, заполненной
пенным утеплителем
Рисунок 12 - Примеры конструктивного решения профильных систем
Рисунок 13 - Пример конструктивного решения профильной системы с деревянной облицовкой
Номинальные размеры элементов изделий, расположение и размеры функциональных отверстий, расположение оконных приборов, петель, а также другие необходимые размеры указывают в технической документации на изготовление изделий.
4.2.2 Предельные отклонения габаритных размеров изделий не должны превышать +2,0, -1,0 мм.
4.2.3 Предельные отклонения номинальных размеров сопрягаемых элементов изделий, зазоров под наплавом, размеров расположения оконных приборов и петель не должны превышать значений, установленных в таблице 1.
4.2.4 Разность длин диагоналей прямоугольных рамочных элементов не должна превышать 2 мм при длине наибольшей стороны до 1200 мм (включительно) и 3 мм - при длине более 1200 мм.
4.2.5 Фигурные изделия (арочные, стрельчатые, трапециевидные и т.д.) изготавливают по чертежам или шаблонам с допусками, установленными в настоящем стандарте для прямоугольных изделий с той же площадью.
Таблица 1 В миллиметрах
|
Предельные отклонения номинальных размеров |
||||
|
Внутренний размер коробок |
Наружный размер створок |
Зазор под наплавом |
Размеры расположения приборов и петель |
|
|
До 1000 включ. |
±1,0 |
-1,0 |
+ 1,0 |
±1,5 |
|
Св. 1000 до 2000 включ. |
+2,0 -1,0 |
±1,0 |
+ 1,0 -0,5 |
|
|
Св. 2000 |
+2,0 -1,0 |
+ 1,0 -2,0 |
+ 1,5 -0,5 |
|
|
Примечания 1 Значения предельных отклонений установлены для температурного интервала проведения измерения (16 - 24) °С. 2 Значения предельных отклонений размеров зазоров под наплавом приведены для закрытых створок с установленными уплотняющими прокладками. |
||||
4.2.6 Предельные отклонения номинальных размеров профилей створок и коробок по толщине и по ширине не должны превышать ± 0,4 мм.
4.2.7 Отклонения номинальных размеров расположения водосливных и других функциональных отверстий не должны быть более: ± 3,0 мм - по длине профиля; ± 0,5 мм - по высоте сечения.
4.2.8 Отклонения номинального размера (или изменение расстояния) между наплавами смежных закрытых створок не должны быть более 1,5 мм на 1 м длины притвора.
4.2.9 Провисание (завышение) открывающихся рамочных элементов (створок, полотен, форточек) в собранном изделии не должно превышать 2,0 мм на 1 м ширины.
4.2.10 Перепад лицевых поверхностей (провес) в угловых и Т-образных соединениях смежных деталей коробок и створок, установка которых предусмотрена в одной плоскости, не должен превышать 1,0 мм.
Зазоры в местах угловых и Т-образных соединений профилей не должны превышать 0,5 мм.
4.2.11 Отклонения от прямолинейности кромок деталей рамочных элементов не должны превышать 1,0 мм на 1 м длины.
4.3.1 Основные эксплуатационные характеристики изделий приведены в таблице 2.
Таблица 2
|
Значение показателя |
|||
|
Приведенное сопротивление теплопередаче, м2 °С/Вт, не менее: |
* |
** |
*** |
|
с однокамерным стеклопакетом: |
|||
|
4М1-16-4М1 |
0,27 |
0,32 |
0,36 |
|
4М1-16-К4 |
0,36 |
0,44 |
0,48 |
|
4М1-16-И4 |
0,48 |
0,52 |
|
|
4М1-16Аг-К4 |
0,48 |
0,52 |
|
|
4М1-16АГ-И4 |
0,53 |
0,57 |
|
|
с двухкамерным стеклопакетом: |
|||
|
4M1-8-4MI-8-4M1 |
0,31 |
0,41 |
0,44 |
|
4М1-10-4М1-10-4М1 |
0,43 |
0,46 |
|
|
4М1-12-4М1-12-4М1 |
0,45 |
0,48 |
|
|
4М1-14-4М1-14-4М1 |
0,35 |
0,47 |
0,49 |
|
4М1-14Аг-4М1-14Аг-4М1 |
0,49 |
0,51 |
|
|
с двухкамерным стеклопакетом с теплоотражающим покрытием: |
|||
|
4М1-8-4М1-8-К4 |
0,49 |
0,53 |
|
|
4М1-8-4М1-8-И4 |
0,52 |
0,55 |
|
|
4M1-12-4M1-12-K4 |
0,52 |
0,55 |
|
|
4М1-12-4М1-12-И4 |
0,55 |
0,58 |
|
|
4М1-8Аг-4М1-8Аг-К4 |
0,52 |
0,55 |
|
|
4М1-8Аг-4М1-8Аг-И4 |
0,55 |
0,58 |
|
|
4М1-12Аг-4М1-12Аг-К4 |
0,55 |
0,58 |
|
|
4М1-12Аг-4М1-12Аг-И4 |
0,57 |
0,60 |
|
|
4М1-14Аг-4М1-14Аг-К4 |
0,59 |
0,62 |
|
|
4М1-14Аг-4М1-14Аг-И4 |
0,62 |
0,65 |
|
|
Изоляция воздушного шума транспортного потока, дБА, не менее |
26 |
||
|
Класс звукоизоляции, не ниже |
Д |
||
|
Общий коэффициент светопропускания (справочное значение) |
0,35 - 0,60 |
||
|
Воздухопроницаемость при DР0 = 100 Па, м3/(ч×м2), не более |
17 |
||
|
Класс воздухо-, водопроницаемости, не ниже |
В |
||
|
Безотказность оконных приборов и петель, цикл «открывания - закрывания», не менее |
20000 |
||
|
1000 |
|||
|
Долговечность, условных лет эксплуатации: |
|||
|
стеклопакетов |
20 |
||
|
уплотняющих прокладок |
10 |
||
|
Примечания 1 Приведенное сопротивление теплопередаче установлено для изделий с отношением площади остекления к площади оконного блока равным 0,7. Под знаком * приведены значения сопротивления теплопередаче изделий из полых алюминиевых профилей; под знаком ** - из комбинированных профилей с шириной термоизоляционной вставки 18 - 28 мм; под знаком *** - то же, с шириной термоизоляционной вставки более 28 мм. В случае заполнения основной камеры профилей вспененным полиуретаном или применения многокамерной термоизоляционной вставки шириной более 28 мм сопротивление теплопередаче увеличивают на 5 % (многокамерная вставка - вставка, имеющая перегородки, образующие дополнительную камеру (камеры) по направлению теплового потока). 2 Показатель безотказности - 1000 циклов «открывания - закрывания» приведен для створчатых элементов, не предназначенных для проветривания помещений и открываемых для очистки стекол. |
|||
4.3.2 Сопротивление статической нагрузке, действующей в плоскости створки (полотна), должно быть не менее 1000 (1200) Н.
Сопротивление статической нагрузке, действующей перпендикулярно плоскости створки, должно быть не менее 250 Н, дверного полотна - 400 Н.
4.3.3 Прочность (несущая способность) углового соединения створчатых элементов изделий размером до 1500 ´ 900 мм и/или массой до 60 кг - не менее 800 Н; а в случае изготовления изделий большего размера и массой до 80 кг - не менее 1000 Н.
Прочность угловых соединений обвязок дверных полотен и створок оконных блоков массой более 80 кг - не менее 1200 Н.
Значения нагрузок при испытании прочности угловых соединений коробок устанавливают на 30 % ниже, чем для створок того же размера.
4.3.4 Показатели внешнего вида изделий (цвет, тональность, блеск) должны соответствовать образцу-эталону.
Предприятие-изготовитель должно иметь комплект образцов-эталонов видов и цветов отделочного покрытия.
4.3.5 Покрытия алюминиевых профилей должны отвечать требованиям ГОСТ 22233 или нормативной документации (НД), утвержденной в установленном порядке.
Дефекты покрытия, различимые невооруженным глазом с расстояния 1 м при интенсивности освещения 300 лк, не допускаются.
4.3.6 Требования к лакокрасочному покрытию деревянных облицовочных профилей устанавливают в договоре на изготовление изделий, но не ниже II класса по ГОСТ 24404.
4.3.7 Изделия должны быть безопасными при эксплуатации и выдерживать расчетную ветровую и другие нагрузки согласно действующим строительным нормам и правилам.
Условия безопасности применения изделий различных конструкций устанавливают в проектной документации. В необходимых случаях в изделиях следует предусматривать специальные конструктивные решения для обеспечения требований безопасности (например, применение безопасного закаленного стекла по ГОСТ 30698 или многослойного стекла по ГОСТ 30826).
4.3.8 Материалы, применяемые для изготовления изделий, должны быть экологически безопасными. Полимерные и синтетические материалы должны иметь санитарно-эпидемиологическое заключение, оформленное в установленном порядке.
4.4.1 В конструкции изделий должны быть предусмотрены функциональные отверстия, обеспечивающие надежный отвод дождевой воды, осушение внутренних полостей под стеклопакетами и, при необходимости, компенсацию ветрового давления.
Профили створок (полотен) наружных изделий должны иметь отверстия для вентилирования полости между кромками стеклопакетов и профилями створок, обеспечивающие осушения внутреннего пространства полости. Диаметр отверстий - не менее 5 мм или паз с размером 4 ´ 13 мм.
Нижние профили коробок и горизонтальные импосты наружных изделий должны иметь водосливные отверстия размером не менее 5 ´ 25 мм, защищенные козырьками.
Система отверстий в конструкциях с остекленными коробками не должна снижать теплотехнические и другие эксплуатационные характеристики изделий.
Число, расположение и размеры отверстий устанавливают в рабочих чертежах.
4.4.2 Стеклопакеты и стекла устанавливают на жестких полимерных подкладках. Схемы установки подкладок должны быть приведены в рабочих чертежах.
Конструкция подкладок должна исключать возможность касания стеклопакета (стекла) алюминиевых поверхностей и смещения подкладок при эксплуатации изделий.
4.4.3 Установка стеклопакетов (стекол) в рамочные элементы изделий и уплотнение притворов производят при помощи эластичных полимерных уплотняющих прокладок, устанавливаемых в пазы профилей внатяг по всему периметру притвора. Зазоры в стыках прокладок не допускаются.
Число контуров уплотняющих прокладок в притворах наружных изделий должно быть не менее двух. Прилегание прокладок должно быть плотным, препятствующим проникновению воды.
4.4.4 Соединение профилей осуществляется при помощи угловых и Т-образных металлических крепежных элементов (уголков) с использованием винтов, самонарезающих шурупов или путем опрессовки. Для повышения герметичности и прочности соединения заполняют клеями-герметиками, не вызывающими коррозии металлических деталей соединений.
При угловом соединении комбинированных профилей с термоизоляционными вставками уголки устанавливают в наружную и внутреннюю камеры.
4.4.5 Запирающие приборы должны обеспечивать надежное закрывание открывающихся элементов изделий. Открывание и закрывание должно происходить легко, плавно, без заеданий.
Ручки и засовы приборов не должны самопроизвольно перемещаться из положения «открыто» или «закрыто».
4.4.6 Конструкция изделий должна обеспечивать невозможность их несанкционированного открытия или демонтажа элементов изделий с наружной стороны.
4.4.7 Тип, количество и место расположения петель и запирающих приборов в изделии устанавливают в рабочей документации в зависимости от веса и размеров открывающихся элементов, а также конкретных условий эксплуатации.
4.5.1 Для изготовления изделий применяют профили из алюминиевых сплавов, которые должны соответствовать требованиям ГОСТ 22233 или НД, утвержденной в установленном порядке. Оконные блоки, предназначенные для эксплуатации в отапливаемых помещениях, должны изготавливаться с применением комбинированных профилей.
4.5.2 Термоизоляционные вставки должны изготавливаться из конструкционного стеклонаполненного полиамида по ГОСТ 31014. Термоизоляционные вставки могут заполняться жесткими вспененными пенопластами (например, пенополиуретаном) или другими теплоизоляционными материалами.
4.5.3 Соединение термовкладышей с алюминиевыми профилями должно быть прочным, стойким к климатическим воздействиям.
Усилие сдвига внутренней и наружной частей готовых (отделанных) алюминиевых профилей, соединенных через термовкладыши относительно друг друга, при испытании на образце длинной 100 мм не должно быть менее 3000 Н. Усилие сдвига комбинированных профилей, заполненных пенным утеплителем, должно быть не менее 3500 Н. Несущая способность при поперечном растяжении - не менее 6000 Н (на образце длиной 100 мм).
Долговечность комбинированных профилей (стойкость к длительным климатическим и эксплуатационным воздействиям) должна быть не менее 40 условных лет эксплуатации (показатель вводится в действие с 01.07.2006 г.).
4.6.1 Комплектующие детали и материалы, применяемые для изготовления изделий, должны соответствовать требованиям стандартов, технических условий, а также договоров на изготовление (поставку).
4.6.2 Для остекления изделий применяют стеклопакеты по ГОСТ 24866, листовое стекло по ГОСТ 111, закаленные стекла по ГОСТ 30698, стекла с низкоэмиссионным твердым покрытием по ГОСТ 30753, стекла с низкоэмиссионным мягким покрытием по НД, многослойные стекла по ГОСТ 30826, стекла с упрочняющими пленками и другие виды стекол по НД, утвержденной в установленном порядке.
4.6.3 Для изготовления изделий используют оконные и дверные приборы и запирающие изделия согласно ГОСТ 538, ГОСТ 30777.
Рекомендуется применение петель и оконных приборов, регулируемых в двух или трех плоскостях.
Детали приборов должны иметь анодно-окисное или полимерное защитно-декоративное покрытие по ГОСТ 9.301, ГОСТ 9.031. Покрытия должны быть стойкими к воздействию климатических факторов.
4.6.4 Крепежные детали следует изготавливать из нержавеющей стали или из стали с защитным цинковым покрытием по ГОСТ 9.303 толщиной не менее 12 мкм.
4.6.5 Оконные приборы должны обеспечивать сопротивление:
статической нагрузке, действующей на запорные приборы и петли, - не менее 500 Н;
крутящему моменту, приложенному к ручке в сторону закрывания (ручка в положении «закрыто»), - не менее 25 Н×м;
нагрузке, приложенной к ограничителю угла открывания в режиме проветривания, - не менее 500 Н;
статической нагрузке, приложенной к ручке перпендикулярно плоскости створки, - не менее 500 Н.
4.6.6 Оконные приборы должны удовлетворять следующим эргономическим требованиям:
усилие, прикладываемое к ручкам распашных створок (полотен) для их открывания, не должно превышать 50 Н (75 Н);
усилие, прикладываемое к ручкам поворотно-откидных устройств для открывания, закрывания и откидывания створки, не должно превышать 75 Н;
максимальный крутящий момент, прикладываемый к ручке, необходимый для перемещения тяг с запирающими элементами при закрывании и открывании изделия (т.е. при изменении положения ручки из положения «открыто» в положение «закрыто» и наоборот), не должен превышать 10 Н×м;
усилие, прикладываемое к створкам при их закрывании до требуемого сжатия уплотняющих прокладок, должно составлять не более 120 Н.
4.6.7 Непрозрачное заполнение балконных дверных блоков должно изготавливаться из трехслойных панелей, состоящих из облицовочных, например алюминиевых листов, с заполнением утеплителем.
Непрозрачные заполнения изделий для внутренних или неотапливаемых помещений допускается заполнять листовыми или профильными декоративными деталями.
4.6.8 Уплотняющие прокладки должны быть изготовлены из атмосфероморозостойких эластичных полимерных материалов по ГОСТ 30778 или другой НД, утвержденной в установленном порядке.
4.6.9 Герметики, крепежные элементы и другие компоненты конструкции должны быть совместимы между собой и не вызывать коррозию деталей из алюминиевых сплавов.
4.6.10 Опорные и фиксирующие подкладки для стеклопакетов (стекол) должны быть изготовлены из полиамида, полиэтилена низкого давления или других атмосферостойких полимерных материалов. Твердость материала прокладок должна быть 80 - 90 ед. по Шору А (справочный показатель).
4.6.11 Требования к деревянной облицовке (порода древесины, вид и качество отделки, способ крепления) устанавливают в конструкторской документации и договорах на поставку изделий.
4.7.1 Комплект поставки изделий определяется условиями договора (заказа).
4.7.2 Готовые изделия следует поставлять в собранном виде с окончательной отделкой, установленными элементами остекления, приборами и уплотнительными прокладками. Элементы крупногабаритных изделий могут поставляться в виде подготовленных к монтажу профильных деталей в комплекте с приборами, стеклами, стеклопакетами и другими комплектующими.
Выступающие части приборов открывания, нащельники, сливы, монтажные крепежные элементы допускается поставлять в отдельной упаковке в комплекте с изделиями.
4.7.3 В комплект поставки должны входить документ о качестве (паспорт), инструкция по эксплуатации и, по требованию потребителя, руководство по монтажу изделий.
Каждое изделие маркируют ярлыком (этикеткой) с водостойким покрытием или водостойкой краской на нелицевой поверхности верхней части коробок с указанием названия (товарного знака) предприятия-изготовителя, даты и (или) номера заказа на изготовление, марки изделия, знака (штампа), подтверждающего приемку изделий службой контроля качества.
Профильные детали изделий, поставляемых в разобранном виде, упаковывают в пачки, которые рекомендуется маркировать бирками с указанием тех же данных и с дополнительным указанием наименования элементов в пачке и их количества.
В случае если оконные блоки комплектуют стеклопакетами собственного изготовления, производитель может не маркировать стеклопакеты, при этом конструкция стеклопакета должна быть указана в паспорте и другой сопроводительной документации на изделие.
Упаковка изделий должна обеспечивать их сохранность при хранении, транспортировании и погрузочно-разгрузочных работах.
Требования к упаковке изделий устанавливают в договоре на поставку в зависимости от условий транспортирования и хранения изделий. Рекомендуется применение термоусадочных пленок по НД. Открывающиеся элементы изделий перед упаковкой должны быть закрыты по всем точкам запирания.
Не установленные на изделие приборы, части приборов или комплектующие детали должны быть завернуты в упаковочную бумагу по ГОСТ 8828 или упакованы в пакеты из полиэтиленовой пленки по ГОСТ 10354 или другие упаковочные материалы.
На каждое изделие должна быть закреплена любым способом этикетка (ярлык), содержащая следующую информацию, такую как:
наименование предприятия-изготовителя или его товарный знак;
наименование изделия;
номер заказа;
дата упаковки (изготовления);
другие сведения (по технической документации изготовителя).
Этикетка должна быть защищена от воздействия влаги.
5.1 Оконные блоки должны быть приняты техническим контролем предприятия-изготовителя на соответствие требованиям настоящего стандарта, стандартов организаций изделий, а также условиям договора на изготовление (поставку) изделий.
Изделия принимают партиями. При приемке изделий на предприятии-изготовителе за партию принимают число изделий, изготовленных в течение одной смены. Объем партии устанавливают в рабочей документации предприятия-изготовителя, например число изделий, изготовляемых по одному заказу, число изделий одной марки и т.д.
5.2 Требование к качеству продукции подтверждают:
входным контролем материалов и комплектующих деталей;
операционным производственным контролем;
приемочным контролем (приемосдаточными испытаниями);
периодическими испытаниями;
квалификационными и сертификационными испытаниями.
5.3 Порядок проведения входного контроля (в том числе требования к профилям и их отделке) и операционного производственного контроля на рабочих местах устанавливают в технологической документации.
В случае если предприятие-изготовитель комплектует оконные блоки стеклопакетами, оконными приборами и другими изделиями собственного изготовления, они должны быть испытаны и приняты в соответствии с требованиями нормативной документации на эти изделия.
внешний вид (отсутствие дефектов, видимых невооруженным глазом);
работу оконных приборов и петель;
наличие водосливных и других отверстий;
наличие и правильность установки элементов остекления и уплотняющих прокладок.
Изделия, не прошедшие приемочный контроль хотя бы по одному показателю, бракуют.
5.5 Служба контроля качества предприятия-изготовителя проводит производственные приемосдаточные испытания изделий по показателям, указанным в 5.4, а также контроль предельных отклонений от геометрических размеров и плотности прилегания уплотняющих прокладок не реже 1 раза в смену. Испытания изделий на прочность (несущую способность) угловых соединений проводят не реже 1 раза в месяц, а также при поступлении новой партии угловых крепежных деталей и клеев-герметиков.
5.6 Контрольные приемосдаточные испытания проводят на готовых изделиях либо на рабочих местах производственного операционного контроля качества. Порядок проведения контрольных испытаний уточняют в технологической документации.
Испытания проводят на трех образцах. В случае отрицательного результата испытаний хотя бы по одному показателю проводят повторную проверку качества изделий на удвоенном числе образцов по показателю, имевшему отрицательный результат испытаний. При повторном обнаружении несоответствия показателя установленным требованиям контролируемую и последующую партии изделий подвергают сплошному контролю (разбраковке). При положительном результате сплошного контроля возвращаются к установленному порядку контроля.
В случае отрицательного результата испытаний по показателю прочности угловых соединений проводят повторные испытания на удвоенном числе образцов. При неудовлетворительном результате повторных испытаний производство изделий останавливают до устранения причины брака. Изделия, изготовленные между контрольной и предыдущей проверкой, признают бракованными.
5.7 Квалификационные испытания по эксплуатационным показателям (по приведенному сопротивлению теплопередаче, звукоизоляции, воздухопроницаемости, безотказности и долговечности, сопротивлению статическим нагрузкам, нагрузки на оконные и дверные приборы (п. 4.6.5, 4.6.6), на прочность угловых соединений) проводят при постановке продукции на производство, а также при внесении изменений в конструкцию изделий или технологию их изготовления.
Периодические испытания изделий по этим показателям проводят не реже одного раза в пять лет.
Испытания на сопротивление ветровым нагрузкам и коррозионную стойкость защитно-декоративных покрытий проводят по требованию потребителя (заказчика) или проектных организаций.
Квалификационные, периодические и типовые испытания допускается совмещать с сертификационными испытаниями продукции.
Квалификационные, периодические, типовые и сертификационные испытания проводят в независимых испытательных центрах, аккредитованных на право их проведения.
5.8 Потребитель имеет право проводить контрольную проверку качества изделий, соблюдая при этом приведенный порядок отбора образцов и методы испытаний, указанные в настоящем стандарте.
При приемке изделий потребителем партией считают число изделий, отгружаемых по конкретному заказу, но не свыше 250 шт., оформленных одним документом о качестве.
При приемке изделий потребителем рекомендуется использовать план одноступенчатого контроля качества изделий, установленный в таблице 3.
Таблица 3
|
Объем выборки, шт. |
Приемочное число |
||
|
Малозначительные дефекты |
Критические и значительные дефекты |
||
|
От 1 до 12 |
Сплошной контроль |
3 |
0 |
|
13 - 25 |
5 |
3 |
0 |
|
26 - 50 |
8 |
4 |
0 |
|
51 - 90 |
12 |
5 |
0 |
|
91 - 150 |
18 |
7 |
1 |
|
151 - 250 |
26 |
10 |
2 |
|
Примечание - К значительным и критическим дефектам относят дефекты, ведущие к потере эксплуатационных характеристик, неустранимые без замены части изделия (поломка профиля или оконных приборов, треснувший стеклопакет и др.), превышение отклонений размеров более чем в 1,5 раза от установленных в настоящем стандарте, разукомплектованность изделий. К малозначительным дефектам относит устранимые дефекты, например незначительные повреждения поверхности, неотрегулированные оконные приборы и петли. |
|||
5.9 Каждая партия изделий должна сопровождаться документом о качестве (паспортом), в котором указывают:
наименование и адрес предприятия-изготовителя или его товарный знак;
условное обозначение изделия;
номер партии (заказа);
количество изделий в партии (шт. и м2);
спецификацию комплектующих деталей;
дату отгрузки.
Документ о качестве должен иметь знак (штамп), подтверждающий приемку партии изделий техническим контролем предприятия-изготовителя. Рекомендуется в документе о качестве указывать основные технические характеристики изделий, данные о сертификации и гарантийные обязательства.
При реализации изделий через предприятия розничной торговли паспортом сопровождают каждое изделие.
5.10 По договоренности сторон приемка изделий потребителем может производиться у изготовителя, на складе потребителя или в ином, оговоренном в договоре на поставку, месте.
5.11 Приемка изделий потребителем не освобождает изготовителя от ответственности при обнаружении скрытых дефектов, приведших к нарушению эксплуатационных характеристик изделий в течение гарантийного срока.
6.1 Методы испытаний при входном контроле качества материалов и комплектующих деталей устанавливают в технологической документации в соответствии с требованиями НД на эти материалы и детали и условиями договоров на их поставку.
Методы испытаний при проведении производственного операционного контроля устанавливают в технологической документации с учетом требований настоящего стандарта.
6.2 Качество изделий при приемочном контроле оценивают визуально. Работу оконных приборов проверяют по 6.3.7.
6.3 Методы контроля при приемосдаточных производственных испытаниях
6.3.1 Размеры изделий, а также отклонения от заданной формы определяют с использованием методов, установленных в ГОСТ 26433.0 и ГОСТ 26433.1.
Отклонения от номинальных размеров определяют при помощи рулетки по ГОСТ 7502, штангенциркуля по ГОСТ 166 и предельных калибров по НД.
Отклонения от прямолинейности кромок определяют путем приложения поверочной линейки по ГОСТ 8026 или строительного уровня с допуском плоскостности не менее 9-й степени точности по ГОСТ 9416 к испытываемой детали и замером наибольшего зазора при помощи щупов по НД.
6.3.2 Отклонения от номинальных размеров зазоров под наплавом и зазоров в угловых соединениях проверяют при помощи щупов по НД или линейкой по ГОСТ 427.
6.3.3 Размеры расстояния между наплавами закрытых створок и провисания открывающихся элементов проверяют штангенциркулем или линейкой по ГОСТ 427.
6.3.4 Провес поверхностей смежных деталей (угловые и Т-образные соединения) определяют щупом как расстояние от ребра линейки, приложенной к верхней сопрягаемой поверхности, до нижней поверхности.
6.3.5 Качество отделочного и защитно-декоративного покрытия, внешний вид и цвет проверяют визуально путем сравнения с образцом-эталоном, утвержденным руководителем предприятия-изготовителя.
Дефекты покрытия, различимые невооруженным глазом с расстояния 1 м при освещенности 300 лк, не допускаются.
6.3.6 Наличие отверстий для отвода воды, оконных приборов и петель, подкладок, крепежных и других деталей проверяют визуально, а их расположение - при помощи рулетки по ГОСТ 7502.
6.3.8 Для определения плотности прилегания уплотняющих прокладок в притворах на прокладки наносят красящее вещество (например, цветной мел). Открывающиеся элементы изделий плотно закрывают. После раскрытия изделий проверяют непрерывность оставленного следа. Если имеется хотя бы одно прерывание следа, результат испытания считают неудовлетворительным.
6.3.9 Результаты входного контроля и приемосдаточных производственных испытаний фиксируют в контрольных журналах.
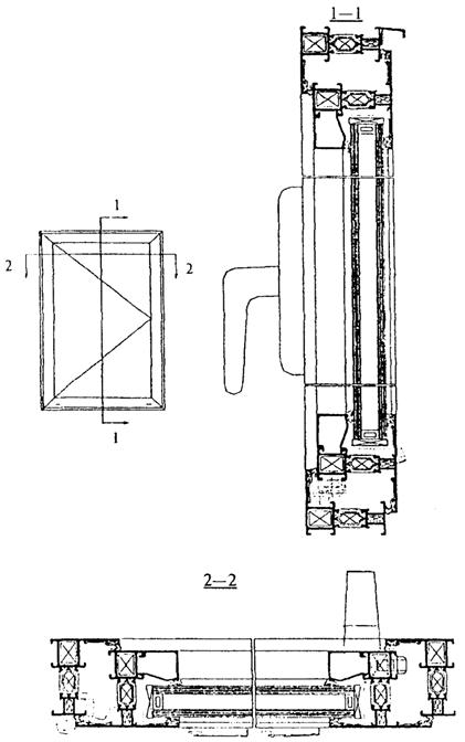
6.3.10 Прочность (несущую способность) угловых соединений определяют в соответствии со схемой, приведенной на рисунке 14.
Величину нагрузок принимают по 4.3.3.
Образцы углов изготавливают на оборудовании и по режимам, установленным в технологической документации. Для испытаний изготавливают по три образца угловых соединений створок (обвязок полотен) и коробок. Свободные концы обрезают под прямым углом.
Размеры образцов и схема приложения нагрузки указаны на рисунке 14.
Порядок проведения испытаний образцов
Образец одной из сторон жестко закрепляют к вертикальной или горизонтальной опоре. К другой стороне в плоскости образца прикладывают нагрузку (например, при помощи винтового устройства). Величина нагрузки измеряется динамометром. При вертикальном расположении образца допускается создавать нагрузку путем навешивания свободного груза на горизонтальную сторону образца вручную на тросе или проволоке. Образцы выдерживают под нагрузкой не менее трех минут. Допускается прикладывать нагрузку через рычаг (при этом следует пересчитывать величину нагрузки).
Средства испытаний и вспомогательные устройства:
установка, включающая приспособление для крепления образца (хомуты, болтовой зажим);
винтовой механизм для создания нагрузки;
динамометр с погрешностью измерений (±10) Н;
в случае приложения нагрузки вручную - грузы для проведения испытаний общей массой согласно 4.3.3 (допускаемые отклонения массы груза ±2 %);
линейка металлическая по ГОСТ 427.
1 - опора; 2 - упор; 3 - образец; 4 -
съемные хомуты крепления (или винтовые соединения);
5 - точка приложения нагрузки
Рисунок 14 - Определение прочности (несущей способности) угловых соединений
Обработка результатов испытаний
Результаты испытаний признают положительными, если все образцы выдержали контрольную нагрузку без разрушения, образования трещин. Рекомендуется доводить нагрузку до разрушения образца с целью проведения анализа характера разрушения угловых крепежных элементов.
6.4 Методы контроля при проведении квалификационных, периодических и сертификационных испытаний
6.4.1 Сопротивление теплопередаче определяют по ГОСТ 26602.1.
6.4.2 Сопротивление воздухо-, водопроницаемости определяют по ГОСТ 26602.2.
6.4.3 Звукоизоляцию определяют по ГОСТ 26602.3.
6.4.4 Общий коэффициент светопропускания определяют по ГОСТ 26602.4.
6.4.5 Сопротивление ветровой нагрузке определяют по ГОСТ 26602.5 либо расчетным методом по методикам, утвержденным в установленном порядке.
6.4.6 Безотказность оконных приборов, сопротивление статическим нагрузкам, эргономические требования к оконным приборам (п. 4.6.5, 4.6.6) определяют по методикам, утвержденным в установленном порядке.
6.4.7 Прочность (несущую способность) угловых соединений определяют по 6.3.10, при этом вариант приложения нагрузки путем навешивания свободного груза не допускается.
6.4.8 Требования к качеству деревянных облицовочных деталей устанавливают в технической документации завода-изготовителя.
6.5 Упаковку и маркировку изделий контролируют внешним осмотром.
7.1 Изделия транспортируют всеми видами транспорта в соответствии с правилами перевозок грузов, действующими на данном виде транспорта.
7.2 При транспортировании изделия должны быть установлены вертикально, по направлению движения транспорта.
7.3 Изделия должны храниться в крытых сухих помещениях в вертикальном положении под углом 10 - 15° на деревянных подкладках, рассортированными по типам и размерам.
Между изделиями должны быть проложены прокладки одинаковой толщины.
7.4 Условия хранения, транспортирования, а также погрузки и выгрузки изделий должны обеспечивать их полную сохранность и соответствовать требованиям ГОСТ 23166.
7.5 Гарантийный срок хранения - 1,5 года со дня отгрузки изделий с завода-изготовителя.
8.1 Эксплуатацию оконных и дверных блоков следует производить в соответствии с инструкцией по эксплуатации изделий, утвержденной руководителем предприятия-изготовителя.
8.2 Требования к монтажу изделий устанавливают в рабочей проектной документации на строительство (реконструкцию, ремонт) или в инструкции по монтажу (при замене оконных блоков в эксплуатируемых помещениях) с учетом принятых вариантов исполнения узлов примыкания, рассчитанных на заданные климатические и другие нагрузки, согласно требованиям ГОСТ 30971.
Предприятие-изготовитель гарантирует соответствие изделий требованиям настоящего стандарта при соблюдении потребителем условий транспортирования, хранения, монтажа, эксплуатации и области применения изделий, установленных в стандарте.
Гарантийный срок изделий устанавливают в договоре на поставку, но не менее 3 лет со дня отгрузки изделий изготовителем.
Примеры конструкций узлов оконных блоков

а - соединительный уголок; б - соединение
опрессовкой крепежного уголка;
в - соединение крепежным уголком с дополнительной фиксацией винтами;
г - соединение уголком с эксцентриковым зажимом
Рисунок А.1 - Примеры конструкций угловых соединений

Рисунок А.2 - Примеры конструктивного решения узла крепления импоста

Рисунок А.3 - Примеры конструктивных
решений импостного соединения и
узла порога балконной двери (вариант конструкции «с порогом»)

Рисунок А.4 - Примеры конструктивных решений узлов угловых соединений створки и коробки

Рисунок А.5 - Примеры конструктивных решений узлов угловых соединений створки и коробки
Сведения о разработчиках стандарта
Настоящий стандарт разработан группой специалистов в составе:
Спиридонов А.В., Ассоциация «АПРОК»;
Гудман М., «REYNAERS Aluminium»;
Долгополов О.И., ООО «Агрисовгаз»;
Кузнецов Г.Б., ООО «Агрисовгаз»;
Власова Т.В., ЦС ОДТ;
Шведов Д.Н., ЦС ОДТ;
Спиридонов В.А., Ассоциация «АПРОК»;
Стоян Ю.Ф., АНО «Красноярскстройсертификация»;
Куренкова А.Ю., НИУПЦ «Межрегиональный институт окна»;
Савич B.C., ФГУП ЦНС;
Александров Ю.П., ОАО «ЦНИИПромзданий»;
Ковалев В.В., ГК «Техноком»;
Писмарев В.А., ГК «Техноком»;
Мильков В.Г., ФГУП ФЦС;
Шведов Н.В., Госстрой России.
Ключевые слова: оконные блоки, дверные балконные блоки, алюминиевый профиль, профильная система, притвор, наплав, уплотняющие прокладки