Скачать ГОСТ Р 54442-2011 Котлы отопительные. Часть 3. Газовые котлы центрального отопления. Агрегат, состоящий из корпуса котла и горелки с принудительной подачей воздуха. Требования к теплотехническим испытаниямДата актуализации: 01.01.2021
|
| Обозначение: | ГОСТ Р 54442-2011 |
| Обозначение англ: | GOST R 54442-2011 |
| Статус: | введен впервые |
| Название рус.: | Котлы отопительные. Часть 3. Газовые котлы центрального отопления. Агрегат, состоящий из корпуса котла и горелки с принудительной подачей воздуха. Требования к теплотехническим испытаниям |
| Название англ.: | Heating boilers. Part 3. Gas-fired central heating boilers - assembly comprising boiler body and a forced draught burner. Testing of heat engineering |
| Дата добавления в базу: | 01.09.2013 |
| Дата актуализации: | 01.01.2021 |
| Дата введения: | 01.07.2012 |
| Область применения: | Стандарт устанавливает требования и методы испытаний, относящиеся к конструкции, безопасности и рациональному использованию энергии в агрегатах, собранных из корпуса котла, соответствующего ГОСТ Р 54440 и газовой горелки с принудительной подачей воздуха, соответствующей ГОСТ Р 51383. Настоящий стандарт применяют к стандартным и низкотемпературным котлам с номинальной выходной мощностью не более 1000 кВт и максимальной рабочей температурой воды не более 115 градусов С. Данный стандарт не включает в себя все необходимые требования к: - узлам сконструированным из блоков; - конденсационным котлам; - котлам, предназначенным для установки вне помещений; - котлам с несколькими постоянными выходами для топочных газов; - котлам, имеющим устройство для отвода тяги; - котлам, предназначенным для подсоединения к общему дымоходу с механической вытяжкой. Стандарт не распространяется на котлы, предназначенные для жилых помещений. |
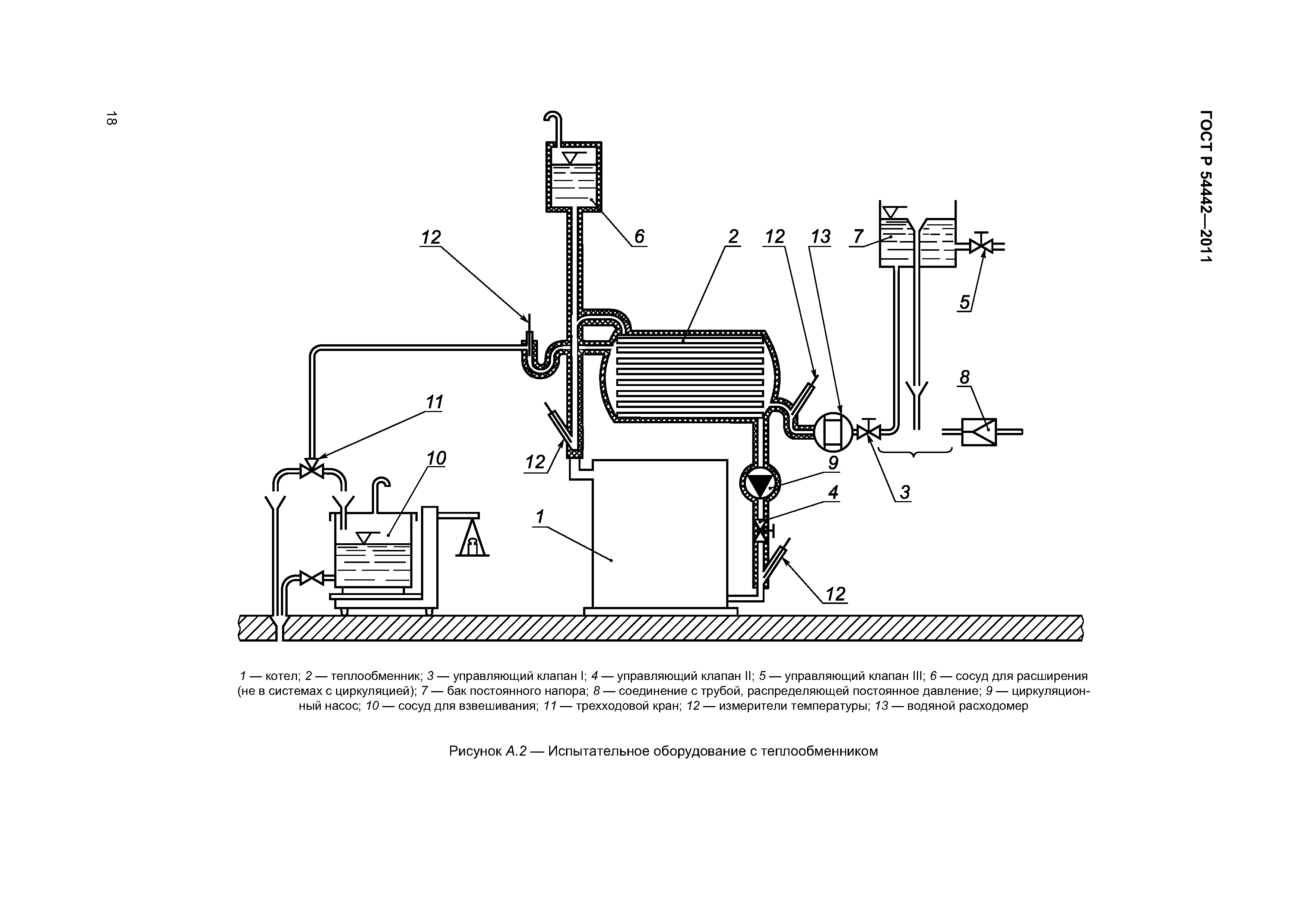
| Оглавление: | 1 Область применения 2 Нормативные ссылки 3 Термины и определения 4 Технические требования 4.1 Требования к конструкции 4.2 Требования к материалам 4.3 Отвод конденсата для низкотемпературных котлов 5 Эксплуатационные требования 5.1 Общие требования 5.2 Подводимая теплота 5.3 Требования безопасной работы 5.4 Коэффициент полезного действия (КПД) 5.5 Требуемая тяга и сопротивление контура продуктов горения 5.6 Конденсация 5.7 Сопротивление материалов давлению 5.8 Температура уходящих газов при номинальной теплопроизводительности 6 Методы испытаний 6.1 Общие положения 6.2 Подводимая теплота 6.3 Проверка безопасной работы 6.4 Коэффициент полезного действия (КПД) котла 6.5 Требуемая тяга и сопротивление контура продуктов горения 6.6 Проверка температуры уходящих газов при номинальной теплопроизводительности 7 Инструкции Приложение А (рекомендуемое) Испытательные установки и испытательное оборудование Приложение Б (справочное) Практический метод калибрования испытательного оборудования, предназначенного для определения тепловых потерь Dр Приложение В (справочное) Определение косвенным методом тепловых потерь испытательного оборудования и доли тепла, вносимой циркуляционным насосом Приложение Г (справочное) Определение времени зажигания на полную мощность Приложение Д (справочное) Испытания для котлов, соответствующих производственной номенклатуре Приложение Е (справочное) Испытания корпуса котла, который ранее испытан с горелкой на жидком топливе Приложение ДА (справочное) Сопоставление структуры настоящего стандарта со структурой примененного в нем европейского регионального стандарта Библиография |
| Разработан: | ОАО НПО ЦКТИ |
| Утверждён: | 28.09.2011 Федеральное агентство по техническому регулированию и метрологии (390-ст) |
| Издан: | Стандартинформ (2012 г. ) |
| Нормативные ссылки: |
|

































