Heating boilers. Part 3. Gas-fired central heating boilers - assembly comprising boiler body and a forced draught burner. Testing of heat engineering

ФЕДЕРАЛЬНОЕ АГЕНТСТВО
ПО ТЕХНИЧЕСКОМУ РЕГУЛИРОВАНИЮ И МЕТРОЛОГИИ

НАЦИОНАЛЬНЫЙ
СТАНДАРТ
РОССИЙСКОЙ
ФЕДЕРАЦИИ

ГОСТ Р
54442-
2011

(ЕН 303-3:1998)

КОТЛЫ ОТОПИТЕЛЬНЫЕ

Часть 3

Газовые котлы центрального отопления.
Агрегат, состоящий из корпуса котла и горелки
с принудительной подачей воздуха.
Требования
к теплотехническим испытаниям

EN 303-3:1998

Heating boilers - Part 3:

Gas-fired central heating boilers - Assembly comprising boiler body and a forced
draught burner - Testing of heat engineering

(MOD)

Москва

Стандартинформ

2012

Предисловие

Цели и принципы стандартизации в Российской Федерации установлены Федеральным законом от 27 декабря 2002 г. № 184-ФЗ, а правила применения национальных стандартов Российской Федерации - ГОСТ Р 1.0-2004 «Стандартизация в Российской Федерации. Основные положения»

Сведения о стандарте

1 ПОДГОТОВЛЕН ОАО «Научно-производственное объединение по исследованию и проектированию энергетического оборудования» (ОАО «НПО ЦКТИ»)

2 ВНЕСЕН Федеральным агентством по техническому регулированию и метрологии (Ростехрегулирование)

3 УТВЕРЖДЕН И ВВЕДЕН В ДЕЙСТВИЕ Приказом Федерального агентства по техническому регулированию и метрологии от 28 сентября 2011 г. № 390-ст

4 Настоящий стандарт является модифицированным по отношению к европейскому региональному стандарту ЕН 303-3:1998 «Котлы отопительные. Часть 3. Газовые котлы центрального отопления. Агрегат, состоящий из корпуса котла и горелки с принудительной подачей воздуха. Требования к теплотехническим испытаниям» (ЕН 303-3:1998 «Heating boilers - Part 3: Gas-fired central heating boilers - Assembly comprising boiler body and a forced draught burner - Testing of heat engineering») путем изменения:

- отдельных фраз (слов, значений показателей, ссылок), которые выделены в тексте курсивом;

- его структуры для приведения в соответствии с правилами, установленными в ГОСТ Р 1.5 (подразделы 4.2 и 4.3).

Сравнение структуры настоящего стандарта со структурой указанного европейского регионального стандарта приведено в дополнительном приложении ДА

5 ВВЕДЕН ВПЕРВЫЕ

Информация об изменениях к настоящему стандарту публикуется в ежегодно издаваемом информационном указателе «Национальные стандарты», а текст изменений и поправок - в ежемесячно издаваемых информационных указателях «Национальные стандарты». В случае пересмотра (замены) или отмены настоящего стандарта соответствующее уведомление будет опубликовано в ежемесячно издаваемом информационном указателе «Национальные стандарты». Соответствующая информация, уведомление и тексты размещаются также в информационной системе общего пользования - на официальном сайте Федерального агентства по техническому регулированию и метрологии в сети Интернет

СОДЕРЖАНИЕ

1 Область применения. 3

2 Нормативные ссылки. 3

3 Термины и определения. 4

4 Технические требования. 5

4.1 Требования к конструкции. 5

4.2 Требования к материалам.. 5

4.3 Отвод конденсата для низкотемпературных котлов. 5

5 Эксплуатационные требования. 5

5.1 Общие требования. 5

5.2 Подводимая теплота. 6

5.3 Требования безопасной работы.. 6

5.4 Коэффициент полезного действия (КПД) 6

5.5 Требуемая тяга и сопротивление контура продуктов горения. 8

5.6 Конденсация. 8

5.7 Сопротивление материалов давлению.. 8

5.8 Температура уходящих газов при номинальной теплопроизводительности. 8

6 Методы испытаний. 9

6.1 Общие положения. 9

6.2 Подводимая теплота. 11

6.3 Проверка безопасной работы.. 12

6.4 Коэффициент полезного действия (КПД) котла. 14

6.5 Требуемая тяга и сопротивление контура продуктов горения. 19

6.6 Проверка температуры уходящих газов при номинальной теплопроизводительности. 19

7 Инструкции. 19

Приложение А (рекомендуемое) Испытательные установки и испытательное оборудование. 20

Приложение Б (справочное) Практический метод калибрования испытательного оборудования, предназначенного для определения тепловых потерь DP. 24

Приложение В (справочное) Определение косвенным методом тепловых потерь испытательного оборудования и доли тепла, вносимой циркуляционным насосом.. 24

Приложение Г (справочное) Определение времени зажигания на полную мощность. 25

Приложение Д (справочное) Испытания для котлов, соответствующих производственной номенклатуре. 25

Приложение Е (справочное) Испытания корпуса котла, который ранее испытан с горелкой на жидком топливе. 25

Приложение ДА (справочное) Сопоставление структуры настоящего стандарта со структурой примененного в нем европейского регионального стандарта. 26

Библиография. 26

ГОСТ Р 54442-2011

НАЦИОНАЛЬНЫЙ СТАНДАРТ РОССИЙСКОЙ ФЕДЕРАЦИИ

КОТЛЫ ОТОПИТЕЛЬНЫЕ

Часть 3

Газовые котлы центрального отопления. Агрегат, состоящий из корпуса котла
и горелки с принудительной подачей воздуха.
Требования к теплотехническим испытаниям

Heating boilers. Part 3. Gas-fired central heating boilers. Assembly comprising boiler body and a forced draught burner.
Testing of heat engineering

Дата введения - 2012-07-01

1 Область применения

Настоящий стандарт устанавливает требования и методы испытаний к конструкции, безопасности и рациональному использованию энергии в агрегатах, собранных из корпуса котла, соответствующего ГОСТ Р 54440, и газовой горелки с принудительной подачей воздуха, соответствующей ГОСТ Р 51383 (далее - котел).

Настоящий стандарт применяют к стандартным и низкотемпературным котлам с номинальной выходной мощностью не более 1000 кВт и максимальной рабочей температурой воды не более 115 °С.

Данный стандарт не включает в себя все необходимые требования к:

- узлам, сконструированным из блоков;

- конденсационным котлам;

- котлам, предназначенным для установки вне помещений;

- котлам с несколькими постоянными выходами для топочных газов;

- котлам, имеющим устройство для отвода тяги;

- котлам, предназначенным для подсоединения к общему дымоходу с механической вытяжкой. Настоящий стандарт не распространяется на котлы, предназначенные для жилых помещений. Если корпус котла ранее подвергался испытаниям совместно с горелкой на жидком топливе по ГОСТ Р 54440, ГОСТ Р 54441 и ГОСТ Р 54820, то необходимо выполнять испытания, описанные в приложении Е.

Для котлов, соответствующих производственной номенклатуре при одинаковых конструктивных схемах, см. приложение Д.

Настоящий стандарт предусматривает только испытания типа указанных котлов.

2 Нормативные ссылки

В настоящем стандарте использованы нормативные ссылки на следующие стандарты:

ГОСТ Р 8.568-97 Государственная система обеспечения единства измерений. Аттестация испытательного оборудования. Основные положения

ГОСТ Р 51383-99 Горелки газовые автоматические с принудительной подачей воздуха. Технические требования, требования безопасности и методы испытаний (ЕН 676:1998, MOD)

ГОСТ Р 54440-2011 Котлы отопительные. Часть 1. Отопительные котлы с горелками с принудительной подачей воздуха. Терминология, общие требования, испытания и маркировка (ЕН 303-1:1999 «Котлы отопительные. Часть 1. Отопительные котлы с паяльными горелками. Терминология, общие требования, испытания и маркировка», MOD)

ГОСТ Р 54441-2011 Котлы отопительные. Часть 2. Отопительные котлы с горелкой с принудительной подачей воздуха. Специальные требования к отопительным котлам с распылительной горелкой на жидком топливе (ЕН 303-2:1998 «Котлы отопительные. Часть 2. Котлы отопительные с горелками с принудительной подачей воздуха. Специальные требования к отопительным котлам с распылительной горелкой на жидком топливе», MOD)

ГОСТ Р 54820-2011 Котлы отопительные. Правила испытаний отопительных котлов с дутьевыми горелками на жидком топливе. (ЕН 304:1992 «Отопительные котлы. Правила испытания отопительных котлов с горелками с механическим распыливанием жидкого топлива», MOD)

Примечание - При пользовании настоящим стандартом целесообразно проверить действие ссылочных стандартов в информационной системе общего пользования - на официальном сайте Федерального агентства по техническому регулированию и метрологии в сети Интернет или по ежегодно издаваемому информационному указателю «Национальные стандарты», который опубликован по состоянию на 1 января текущего года, и по соответствующим ежемесячно издаваемым информационным указателям, опубликованным в текущем году. Если ссылочный стандарт заменен (изменен), то при пользовании настоящим стандартом следует руководствоваться заменяющим (измененным) стандартом. Если ссылочный стандарт отменен без замены, то положение, в котором дана ссылка на него, применяется в части, не затрагивающей эту ссылку.

3 Термины и определения

В настоящем стандарте применены следующие термины с соответствующими определениями.

3.1 объемный расход газа V, Vr, м3/ч: Объем газа, поступающий в котел в единицу времени при непрерывной работе.

Примечание - V - при условиях испытаний; Vr - при стандартных условиях.

3.2 расход массы газа М, Мr, кг/ч или г/ч: Масса газа, поступающая в котел в единицу времени при непрерывной работе.

Примечание - М - при условиях испытаний; Мr - при стандартных условиях.

3.3 подводимая теплота Q, кВт: Произведение объемного или массового расхода на величину низшей теплотворной способности газа, при таких же стандартных условиях.

3.4 номинальная подводимая теплота1) Qn, кВт: Значение подводимой теплоты, установленное изготовителем.

______________

1) Котлы, оборудованные устройством для установки номинального значения, работают при номинальном значении подводимой теплоты, регулируемом в пределах от максимума до минимума. Плавно регулируемые котлы работают между номинальным значением подводимой теплоты и минимальным регулируемым значением подводимой теплоты. Максимальная подводимая теплота соответствует номинальной выходной мощности.

3.5 полезная выходная мощность Р, кВт: Количество тепла, передаваемое теплоносителю в единицу времени.

3.6 номинальная выходная мощность Рп, кВт: Полезная выходная мощность, установленная изготовителем.

3.7 коэффициент полезного действия h, %: Отношение полезной выходной мощности к подводимой теплоте.

3.8 напряжение номинальное: Напряжение или диапазон напряжений, установленных изготовителем, при которых котел может работать нормально.

3.9 котел, устанавливаемый в жилом помещении: Котел, имеющий эффективную номинальную выходную мощность менее 40 кВт, спроектированный для подачи тепла в ту часть жилого помещения, в которой он установлен, путем эмиссии тепла от кожуха с открытой диффузионной камерой, а также снабжающий горячей водой по принципу гравитационной циркуляции.

3.10 блок: Агрегат, состоящий из корпуса котла и горелки с принудительной подачей воздуха, спроектированный и поставляемый на рынок, как котел в сборе.

4 Технические требования

4.1 Требования к конструкции

Корпус котла должен соответствовать ГОСТ Р 54440.

Элементы трубной системы котла должны соответствовать [1].

Газовая горелка с принудительной тягой должна соответствовать ГОСТ Р 51383.

Примечание - Допускается также распространять результаты испытаний конструкции, проведенных в соответствии с требованиями настоящего стандарта, на конструкции, состоящие из такого же корпуса котла и других горелок аналогичного типа.

Для низкотемпературных котлов все части теплообменника(ов) и другие части котла, которые контактируют с конденсатом, должны быть выполнены из коррозионно-стойкого материала или из материалов с соответствующим покрытием, чтобы гарантировать установленный срок службы котла при условии его установки, эксплуатации и обслуживания в соответствии с инструкциями производителя.

Поверхности, контактирующие с конденсатом (за исключением системы дренажа, сифонов и влагоотделителей), должны быть сконструированы таким образом, чтобы предотвращать появление конденсата.

4.2 Требования к материалам

Материалы, применяемые в конструкции котла, не должны содержать асбест.

4.3 Отвод конденсата для низкотемпературных котлов

Для низкотемпературных котлов необходимо снижать уровень конденсата, если из-за него:

- снижается безопасная и корректная работа;

- происходит утечка конденсата из котла;

- происходит разрушение материала.

Для отвода конденсата, если это необходимо, применяют трубу или систему труб. Внутренний диаметр наружного соединения трубы или системы труб для отвода конденсата должен быть не менее 13 мм.

Система утилизации конденсата, являющаяся составной частью котла или присоединяемая к нему, должна быть сконструирована таким образом, чтобы:

- она была доступна для осмотра и очистки в соответствии с инструкциями производителя;

- она предотвращала возможность проникновение продуктов сгорания в помещение, где установлен котел, - это требование должно выполняться, если система утилизации конденсата оборудована водоотделителем (пароосушителем);

- водоотделитель имел затвор не менее 25 мм при максимальном давлении в камере сгорания и при максимальной длине газохода, указанной изготовителем.

5 Эксплуатационные требования

5.1 Общие требования

Если нет специальных требований, то следующие требования поверяют при условиях испытаний по 6.1.

5.2 Подводимая теплота

При нормальном испытательном давлении (условия испытаний по 6.2 и 6.1.2.8) максимальное и минимальное значения подводимой теплоты могут отличаться от значений, указанных в технической документации на котел, не более чем на ±5 %.

5.3 Требования безопасной работы

5.3.1 Предельная температура устройств регулирования, управления и обеспечения безопасности

При условиях 6.3.1 температура устройств для регулирования, управления и обеспечения безопасности не должна превышать максимальное значение, установленное изготовителем.

Температура поверхности кнопок управления и всех деталей, к которым необходимо прикасаться при обычном использовании котла, измеренная только в тех зонах, где происходит контакт, при условиях, установленных в 6.3.1, не должна превышать окружающую температуру более чем на:

35 °С - для металлов;

45 °С - для фарфора;

60 °С - для пластмассы.

5.3.2 Предельная температура боковых стенок, передней части и верха кожуха котла

Температура поверхности стенок, передней части и верха кожуха котла при условиях, указанных в 6.3.2, не должна превышать температуру в помещении более чем на 80 °С.

Вместе с тем, дверцы котла, части его корпуса в пределах 5 см от смотрового стекла и в пределах 15 см от выходов для продуктов сгорания исключаются из этого требования.

При условиях 6.3.2 средняя температура дверец котла не должна превышать температуру окружающей среды более чем на 100 °С.

5.3.3 Предельная температура пола и испытательных панелей

Температура пола, на котором установлен котел, и испытательных панелей, помещенных сбоку и позади котла, не должна ни в какой точке превышать 80 °С при условиях, указанных в 6.3.3.

Если температура в указанных местах находится в пределах от 50 °С до 80 °С, в техническое руководство изготовителя должна быть включена информация, касающаяся установки защитного приспособления между котлом и полом или стенками в тех местах, где пол или стенки включают в себя горючие материалы.

5.3.4 Работа термостатов регулирования и безопасности

При условиях 6.3.4 термостаты регулирования и безопасности должны отключать подачу газа в горелку до того, как будет превышена температура потока воды, определенная технической документацией на котел.

5.3.5 Содержание окиси углерода в уходящих газах

При условиях 6.3.5 для котлов на природном газе теплопроизводительностью от 0,1 до 1,0 МВт содержание оксида углерода СО в сухих неразбавленных уходящих газах (в пересчете на коэффициент избытка воздуха, равный единице, и нормальные физические условия: 760 мм рт.ст. и 0 °С) не должно превышать 0,1 %, когда объем подаваемого в котел стандартного газа соответствует максимальному номинальному значению подводимой теплоты.

5.4 Коэффициент полезного действия (КПД)

5.4.1 Значение КПД при максимальном номинальном значении подводимой теплоты

При условии 6.4.1 значение КПД при максимальном номинальном значении подводимой теплоты, выраженное в процентах, должно быть более или равно значениям, указанным в таблице 1.

Таблица 1 - Значение КПД при максимальном номинальном значении подводимой теплоты

Диапазон номинальной выходной тепловой мощности Р, кВт

Тип котла

кпд, %

4 £ Р £ 400

Стандартный

84 + 2logРn1)

низкотемпературный

87,5+ 1,5logРn1)

400 < Р £ 1000

Стандартный

89,2

низкотемпературный

91,4

1) Рn - максимальное номинальное значение подводимой теплоты, кВт.

5.4.2 Значение КПД при частичной нагрузке

При условии 6.4.2 значение КПД, соответствующее 30 % от максимального номинального значения подводимой теплоты, выраженное в процентах, должно быть более или равно значениям, указанным в таблице 2.

Таблица 2 - Значение КПД при частичной нагрузке

Диапазон номинальной выходной тепловой мощности Р, кВт

Тип котла

кпд, %

4 £ Р £ 400

Стандартный

80 + 3 log Рn1)

низкотемпературный

87,5+ 1,5logРn1)

400 < Р £ 1000

Стандартный

87,8

низкотемпературный

91,4

1) Рn - максимальное номинальное значение подводимой теплоты, кВт.

Значения коэффициента полезного действия при частичной нагрузке приведены на рисунке 1.

Примечание - Кривая 1 соответствует значениям при максимальном номинальном подведении теплоты; кривая 2 - при частичной нагрузке.

а - номинальная полезная выходная мощность Рn, кВт; b - воздушный коэффициент;
с - избыток воздуха, %;
d - коэффициент полезного действия котла, %

Рисунок 1 - Коэффициент полезного действия для котлов, работающих на стандартном газе

5.5 Требуемая тяга и сопротивление контура продуктов горения

Для котлов, работающих при отрицательном давлении в топочной камере, значения, определяющие требования к тяге и приведенные на рисунке 2, обычно следует рассматривать как предельные. Ими необходимо руководствоваться при определении размеров дымохода.

а - номинальная полезная выходная мощность Рn, кВт; b - максимальная требуемая тяга, Па

Рисунок 2 - Максимальная тяга для котлов, работающих при отрицательном давлении

Для котлов, работающих при положительном давлении в топочной камере, значения сопротивления контура продуктов горения, приведенные на рисунке 3, должны также рассматриваться как предельные.

Если указанные значения сопротивления контура продуктов горения или требований к тяге превышены, необходимо отметить это в техническом описании.

а - номинальная полезная выходная мощность Рn, кВт; b - разница давления, кПа

Рисунок 3 - Максимальное падение давления в контуре продуктов горения для котлов, работающих при положительном давлении

5.6 Конденсация

Низкотемпературные котлы могут быть спроектированы с учетом возникновения конденсации.

Для стандартных котлов и низкотемпературных котлов, которые не имеют конденсационного режима, не должно возникать конденсации при рабочих температурах, предусмотренных элементами управления.

5.7 Сопротивление материалов давлению

Для низкотемпературных котлов коррозионно-стойкое покрытие не должно иметь повреждений после испытаний давлением.

5.8 Температура уходящих газов при номинальной теплопроизводительности

Для котлов, работающих на газе, температура уходящих газов должна быть не более 200 °С. Если температура уходящих газов при номинальной теплопроизводительности составляет менее 160 °С, то в руководстве по эксплуатации должны быть даны указания по устройству тракта уходящих газов, в т.ч. дымовой трубы.

6 Методы испытаний

6.1 Общие положения

Испытания котлов должны проводиться в соответствии с методами, приведенными в настоящем стандарте, а также по методикам испытаний действующих нормативных документов на отдельные виды испытаний и по документации (ТУ) на котлы конкретных типов. Объем и последовательность испытаний устанавливают в программе испытаний на котлы конкретных типов. Обычно применяются приведенные ниже условия испытаний, кроме исключений, когда в отдельных подразделах установлено другое.

6.1.1 Выполнение испытаний

Для выполнения испытаний котел снабжают стандартным природным газом, предусмотренным проектом для данной категории котлов и указанном в паспорте завода-изготовителя. Производят регулировку котла в соответствии с информацией изготовителя. Если не обусловлено другое, испытания проводят при максимальном номинальном подводе теплоты.

Образцы, предназначенные для проведения испытаний, должны иметь нормативную и/или техническую документацию в объеме, необходимом для проведения испытаний, и быть полностью укомплектованы в соответствии с этой документацией.

6.1.2 Общие требования

6.1.2.1 Помещение для испытаний

Котел устанавливают в хорошо вентилируемом помещении без сквозняков, окружающая температура в котором равна приблизительно 20 °С; котел защищают от прямых солнечных лучей.

Все испытания, кроме оговоренных в документации (ТУ) на котлы конкретных типов, проводят в нормальных климатических условиях, если не установлено иное:

температура (25 ± 10) °С;

относительная влажность воздуха 45 % - 80 %;

атмосферное давление 84,0 - 106,7 кПа (630 - 800 мм рт.ст.),

если в стандартах на отдельные изделия не приняты другие пределы, обусловленные их спецификой и указанные изготовителем.

Помещения для проведения испытаний должны соответствовать необходимому уровню безопасности работ, а испытательные приборы и оборудование - использоваться в соответствии с конкретными инструкциями по эксплуатации.

6.1.2.2 Требования к монтажу

При всех испытаниях котел устанавливают, запускают и приводят в рабочее состояние при условиях, указанных в инструкциях изготовителя.

Отбор продуктов сгорания производят с помощью устройств, показанных на рисунках А.4 или А.5 приложения А.

6.1.2.3 Водяной контур

Котел соединяют с изолированным испытательным устройством, показанным на рисунках А.1 или А.2, или с другим оборудованием, позволяющим получить эквивалентные результаты. Из котла удаляют воздух в соответствии с указаниями в инструкциях изготовителя.

Если котел снабжен термостатом для регулировки температуры воды, испытания проводят при температуре потока воды (80 ± 2) °С.

Однако, когда эти условия не могут быть выполнены (из-за конструкции котла или нерегулируемого термостата), испытания проводят при максимально возможной температуре воды.

Клапаны I и II на рисунках А.1 или А.2 используют для получения разницы температур между вытекающим и обратным потоками, равной (20 ± 1) °С, или это значение устанавливает изготовитель, если конструкция системы управления котлом не позволяет осуществлять правильную работу котла при разнице температур 20 °С.

6.1.2.4 Тепловое равновесие

Кроме специально оговоренных случаев, испытания проводят на котле в состоянии теплового равновесия, т.е. когда значения температуры втекающего и вытекающего потоков воды стабилизированы с точностью ±2 °С.

6.1.2.5 Электропитание

Электропитание котла должно осуществляться при номинальном напряжении.

6.1.2.6 Погрешность измерений

Средства измерений, применяемые при испытаниях, должны быть поверены, а испытательное оборудование аттестовано в соответствии с ГОСТ Р 8.568.

Состав измерительной аппаратуры выбирают исходя из условия пригодности для измерения всего диапазона возможных значений и требуемой точности измерений.

Кроме специально оговоренных в некоторых разделах случаев, максимально допустимые погрешности измерений приведены ниже.

а) атмосферное давление ±50 Па (±5 мбар);

б) давление в топочной камере или в испытательном газоходе, ±5 % от полной шкалы или ±5 Па (±0,05 мбар);

в) давление газа ±2 % от полной шкалы;

г) потери давления воды на боковых стенках ±5 %;

д) расход воды ±1 %;

е) расход газа ±1 %;

ж) время:

до 1 ч ± 0,2 с,

более 1 ч ± 0,1 %;

и) вспомогательная электроэнергия ±2 %;

к) значения температуры:

- окружающей ±1 °С;

- воды ±2 °С;

- продуктов горения ±5 °С;

- газа ±0,5 °С;

- поверхности ±5 °С;

л) теплотворная способность газа ±1 %;

м) плотность газа ±0,5 %;

н) масса ±0,05 %.

Полный диапазон измерительной аппаратуры выбирается исходя из условия пригодности для измерения максимально возможных значений.

Указанные погрешности измерения относятся к результатам отдельных измерений. При измерениях, требующих применения комбинации отдельных измерений (например, измерение коэффициента полезного действия), для получения требуемой величины общей погрешности могут быть необходимы более низкие погрешности отдельных измерений.

6.1.2.7 Регулирование подводимой теплоты

Значение подводимой теплоты Q, кВт, получаемое при испытаниях, вычисляют с помощью одной из следующих формул:

- при измерении расхода сухого газа по массе:

Q = 0,278MrHi;                                                           (1)

- при измерении объемного расхода сухого газа:

Q = 0,278VrНi,                                                            (2)

где Hi - низшая теплотворная способность газа, используемого при испытаниях (сухого, 15 °С, 101,325 кПа), в мегаджоулях на кубический метр (МДж/м3), если использовать объемные величины, или в мегаджоулях на килограмм (МДж/кг) в массовом выражении;

Мr - расход сухого газа по массе, кг/ч;

Vr - объемный расход сухого газа, м3/ч, вычисляемый по формуле

                                         (3)

где ра - атмосферное давление во время испытаний, Па;

рk - давление газа в расходомере в Па;

ps - давление насыщенного водяного пара при tg, Па;

tg - температура газа на расходомере, °С.

6.1.2.8 Регулирование избыточного воздуха

Воздушный коэффициент регулируется в соответствии со значениями, приведенными в таблице 3 (см. также рисунок 1).

Таблица 3 - Регулирование воздушного коэффициента

Номинальная тепловая выходная мощность, кВт

Воздушный коэффициент

Допуски, %

До 100 включ.

1,4 - 0,1logPn1)

±10

Свыше 100 до 300 включ.

1,2

±10

Свыше 300 до 1000 включ.

1,2

±5

1) Рn - номинальная выходная мощность, кВт.

6.2 Подводимая теплота

Значение подводимой горелкой теплоты должно быть отрегулировано на максимальную величину для данного котла, а затем и на минимальную. В течение испытаний с целью проверки значения подводимой теплоты скорректированное значение подводимой теплоты Qc, основанное на низкой теплотворной способности, кВт, которое получено в случае проведения испытаний при нормальных условиях (сухой газ, 0 °С, 101,325 кПа), вычисляют по формулам:

- если измеряют объемный расход газа V:

                       (4)

следовательно,

                                     (5)

- если измеряют расход газа по массе М:

                                (6)

следовательно,

                                  (7)

где V - объемный расход газа, выраженный при определенных условиях влажности, температуры и давления на расходомере, м3/ч;

М - расход по массе влажного газа, кг/ч;

Hi - когда это целесообразно, низшая теплотворная способность сухого стандартного газа при 15 °С, 101,325 кПа, МДж/м3 в объемном выражении; или низшая теплотворная способность сухого стандартного газа (МДж/кг) по массе;

tg - температура газа на расходомере, °С;

d - относительная плотность испытываемого газа1);

dr - относительная плотность стандартного газа;

рg - давление газа в расходомере, Па;

ра - атмосферное давление во время испытаний, Па.

______________

1) При использовании при измерениях объемного расхода измерителя влажности может оказаться необходимой корректировка плотности газа с целью учета влияния влажности. Величина d заменяется при этом на dh, определяемую по следующей формуле

где ps - давление насыщенных паров воды при температуре tg, Па.

Значение подводимой теплоты, скорректированное как указано выше, должно соответствовать требованиям 5.2:

- для стандартного газа и для котлов, имеющих номинальную выходную мощность менее 300 кВт;

- для поставляемого газа и для котлов, имеющих номинальную выходную мощность, равную или более 300 кВт.

6.3 Проверка безопасной работы

6.3.1 Проверка предельной температуры приборов регулировки, управления и обеспечения безопасности

Значения температуры измеряют в условиях теплового равновесия котла и при установке регулирующего термостата в положение, соответствующее наиболее высокой температуре.

Если электрический компонент может вызвать повышение температуры, например автоматическое выключение клапана, измерение температуры компонента не производят. В этом случае датчики для измерения температуры помещают таким образом, чтобы производилось измерение температуры воздуха вокруг прибора.

Проверку выполнения требований проводят по 5.3.1.

6.3.2 Проверка предельной температуры боковых стенок, передней части и верха

Проверку предельной температуры боковых стенок, передней части и верха выполняют при установке регулирующего термостата и соответствующей наиболее высокой температуре.

Значения температуры в наиболее горячих местах боковых стенок, передней части и верха измеряют с помощью датчиков температуры, чувствительный элемент которых помещен на внешнюю поверхность этих частей котла.

Температуру измеряют после достижения теплового равновесия.

Окружающую температуру измеряют на высоте 1,5 м над уровнем пола с помощью датчиков температуры, защищенных от радиации испытательной установки.

Проверку выполнения требований проводят по 5.3.2.

6.3.3 Измерение предельных температур пола и испытательных панелей

a) Измерение предельной температуры пола

При определении температуры пола котел должен быть установлен на испытательном полу, соответствующем рисунку А.1. Значения температуры испытательного пола следует измерять не менее чем в пяти местах при максимальной номинальной выходной мощности котла.

Рекомендуется выполнять измерение значений температуры поверхности с помощью термопар согласно рисунку А.3 или с помощью датчиков температуры поверхности.

b) Измерение предельных температур испытательных панелей

Для котлов, которые согласно указаниям изготовителя могут быть установлены вблизи стены или стен, расстояние между боковой или задней стенкой котла и деревянными испытательными панелями должно соответствовать значениям, установленным изготовителем; однако это расстояние не должно быть меньше 200 мм.

Для котлов, которые согласно указаниям изготовителя могут быть установлены под выступом или в аналогичном положении, соответствующая панель помещается над котлом на минимальном расстоянии, указанном в инструкциях по установке.

В тех случаях, когда изготовитель не дает подробной инструкции по установке котла вблизи от стены/стен или под выступом, испытания проводят с использованием панелей, помещенных непосредственно на котел.

Деревянные панели должны иметь толщину (25 ± 1) мм и матово-черный цвет; их размеры должны быть по крайней мере на 50 мм больше соответствующих размеров котла.

Датчики температуры вставляют в панели в центре квадратов со стороной 100 мм таким образом, чтобы они проходили через них и рабочий спай термопары находился на расстоянии в 3 мм от поверхности, обращенной к котлу.

После установки котла в рабочем состоянии значения температуры испытательных панелей при измерениях должны быть стабильны в пределах ±2 °С.

Проверку выполнения требований проводят по 5.3.3.

6.3.4 Проверка работы термостатов управления и безопасности

Состояние внутренних стенок котла должно соответствовать требованиям для создания максимальной номинальной выходной мощности. Горелку регулируют таким образом, чтобы она создавала в котле номинальное значение подводимой теплоты. Выходная мощность на испытательном оборудовании должна быть равна (40 ± 5) % от номинального значения подводимой теплоты.

Циркуляционный насос должен непрерывно работать. Регулирующий термостат следует установить на его максимальную величину. Проверяют работу регулирующего термостата.

Аналогичные испытания повторяют после короткого замыкания регулирующего термостата. Прерывание работы термостата безопасности проверяют при значении температуры, установленном изготовителем, которое должно быть ниже 115 °С.

Проверку выполнения требований проводят по 5.3.4.

6.3.5 Проверка концентрации окиси углерода

Отбор образца продуктов горения производят после достижения котлом состояния теплового равновесия.

Концентрацию СО в сухих, не содержащих воздуха продуктах горения (при нейтральном горении), %, вычисляют по формуле

                                                   (8)

где (CO2)N - максимальная концентрация двуокиси углерода в сухих, не содержащих воздуха продуктах горения соответствующего газа, %;

(СО)M и (O2)M - измеренные концентрации в образцах, отобранных при испытаниях горения, %.

Концентрации (CO2)N для испытуемых газов приведены в таблице 3.

Таблица 4 - Концентрация (CO2)N в испытуемых газах

Обозначение газа

Концентрация, %

G20

11,7

G25

11,5

G30

14,0

G31

13,7

При испытаниях для фактически поставляемых газов значения (CO2)N следует определять с помощью анализа.

Концентрацию СО в сухих, не содержащих воздуха продуктах горения, %, вычисляют по формуле

                                                 (9)

где (O2)M и (СО)M - измеренные концентрации кислорода и окиси углерода в образцах, отобранных при испытаниях горения, %.

Проверку выполнения требований проводят по 5.3.5.

6.4 Коэффициент полезного действия (КПД) котла

6.4.1 Коэффициент полезного действия котла при максимальном номинальном значении подводимой теплоты

Котел соединяют с испытательным дымоходом, имеющим наибольший диаметр, указанный изготовителем в инструкциях.

Температуру потока воды на выходе из котла регулируют на величину (80 ± 2) °С, а разница температур между вытекающим из котла и обратным потоками должна соответствовать значению, указанному в 6.1.2.3.

Измерения коэффициента полезного действия котла можно начинать сразу после того, как котел достигнет состояния теплового равновесия при отключенном регулирующем термостате, а температуры вытекающего из котла и обратного потоков будут постоянными.

Горячую воду пропускают в сосуд, помещенный на весах (тарированных перед началом испытаний), и одновременно начинают измерения расхода газа (по расходомеру).

Периодически снимают показания температуры воды в вытекающем и обратном потоках таким образом, чтобы можно было получить достаточно точное усредненное значение.

Массу воды m1 собирают в течение 10 мин. Однако, если в соответствии с величиной подводимой к котлу теплоты требуется увеличить количество собираемой воды, испытания могут проводиться в течение более короткого периода времени.

Если нельзя измерить массу воды, допускается проводить измерения расхода потока воды в течение заданного периода времени и рассчитывать, исходя из этих данных, эквивалентную массу воды. Точность измерения расхода потока воды должна быть достаточной для расчета коэффициента полезного действия с необходимой точностью.

Период времени, равный 10 мин (или при необходимости более короткий), требуется для оценки испарения, соответствующего периоду испытаний. Получают массу т2.

Затем рассчитывают массу т3 = m1 - т2, представляющую собой величину, на которую необходимо увеличить m1, чтобы учесть испарение, и, таким образом, скорректированная масса воды т = m1 + m3.

Количество теплоты, переданное в котле воде, собираемой в сосуде, пропорционально скорректированной массе т и разнице значений температуры t1 холодной воды на входе и температуры воды t2 на выходе из котла.

Коэффициент полезного действия h, %, вычисляют по формуле

                                            (10)

где m - скорректированное количество воды, кг;

Vr(10) - потребление газа, измеренное в течение 10 мин испытаний, скорректированное на 15 °С; 101,325 кПа, м3;

Hi - низшая теплотворная способность используемого газа, МДж/м3 (при 15 °С и 101,325 кПа, сухого);

Dp - потери тепла в испытательном оборудовании, соответствующие средней температуре потока воды, кДж, с учетом теплового вклада циркуляционного насоса (практический метод калибрования при определении Dp описан в приложении Б).

Погрешности измерения выбраны таким образом, что гарантируется полная погрешность измерения коэффициента полезного действия ±2 %.

КПД определяют при максимальном номинальном значении подведенной теплоты. Проверку выполнения требований проводят по 5.4.1.

6.4.2 КПД котла при частичной нагрузке

6.4.2.1 Общие положения

При испытаниях можно выбрать прямой или косвенный метод для определения КПД при частичной нагрузке, соответствующей 30 % от максимального номинального подведения теплоты. Проверку выполнения требований проводят по 5.4.2.

6.4.2.2 Прямой метод

Котел устанавливают согласно 6.1.2 и соединяют с источниками питания согласно 6.1.1 аналогично схеме определения коэффициента полезного действия при максимальном номинальном подведении теплоты.

В процессе испытаний поддерживают объемный расход воды постоянным с точностью ±1 % с учетом вариаций температуры и при непрерывной работе насоса.

6.4.2.2.1 Режим работы № 1

Котел соединяют с испытательным оборудованием, показанным на рисунках А.1 и А.2 (или с любым другим испытательным оборудованием, на котором можно получить сравнимые результаты и эквивалентную точность измерений).

Температура обратного потока воды поддерживается постоянной, допустимые максимальные отклонения температуры ±1 °С в течение всего периода измерений, назначенная температура:

(47 ± 1) °С - для стандартных котлов;

(37 ± 1) °С - для низкотемпературных котлов.

Если система управления котлом не позволяет проводить работу при указанной достаточно низкой температуре обратного потока воды, испытания проводят при наиболее низкой температуре обратного потока, допускаемой системой управления котлом.

Выключатель с часовым механизмом подключают к комнатному тепловому реле таким образом, чтобы получить рабочий цикл 10 мин.

Время отключения t3 и значения времени работы t1, t2, t21 и t22 определяют согласно 6.4.2.3.2.

Температуру измеряют непрерывно непосредственно в вытекающем и обратном потоках воды.

Котел считается находящимся в тепловом равновесии, когда результаты измерения коэффициента полезного действия в трех последовательных циклах отличаются друг от друга не более чем на 0,5 % для любой пары. В этом случае результат измерения равен среднему значению из трех последовательных циклов измерения. В любом другом случае среднюю величину необходимо рассчитывать по результатам не менее десяти последовательных циклов.

Измерение соответствующего потребления воды и газа проводят на полных циклах.

Коэффициент полезного действия определяют по формуле (10).

В измерениях при 30 % от номинальной величины подведения тепла допускается отклонение ±2 %. При отклонениях до ±4 % необходимо выполнить два измерения: одно выше, а другое ниже 30 % от номинального значения подводимого тепла. Значение коэффициента полезного действия при 30 % определяют с помощью линейной интерполяции.

6.4.2.2.2 Режим работы № 2

Котел соединяют с испытательным оборудованием, показанным на рисунках А.1 и А.2 (или с любым другим испытательным оборудованием, на котором можно получить сравнимые результаты и эквивалентную точность измерений).

Значения температуры вытекающей и обратной воды, а также рабочие циклы и циклы отключения задаются органами управления котла. Измерение температуры производится непрерывно, как можно ближе к местам вытекания и втекания в котле, когда через теплообменник проходит (30 ± 2) % от максимального номинального значения подведения теплоты.

Средняя температура воды должна быть не меньше:

50 °С - для стандартного котла;

40 °С - для низкотемпературного котла.

Если система управления котлом не позволяет проводить работу при указанной достаточно низкой температуре обратного потока воды, испытания проводят при наиболее низкой температуре обратного потока, допускаемой системой управления котлом.

Котел считается находящимся в тепловом равновесии, когда результаты измерения КПД в трех последовательных циклах отличаются друг от друга не более чем на 0,5 % для любой пары.

В этом случае результат измерения равен среднему значению на трех последовательных циклах измерения. В любом другом случае среднюю величину необходимо вычислять по результатам не менее десяти последовательных циклов.

Измерение соответствующего потребления воды и газа проводят на полных циклах.

КПД определяется по формуле (10).

В измерениях при 30 % от номинальной величины подведения тепла допускается отклонение ±2 %. При отклонениях до ±4 % необходимо выполнить два измерения: одно выше, а другое ниже 30 % от номинального значения подводимого тепла. Значение коэффициента полезного действия при 30 % определяют с помощью линейной интерполяции.

6.4.2.3 Косвенный метод

6.4.2.3.1 Измерения

а) КПД при номинальном подведении теплоты

Испытания по 6.4.1 при максимальном номинальном подведении теплоты повторяют при температурах, указанных в таблице 5.

Таблица 5

Котел

Температура вытекающего потока, °С

Температура обратного потока, °С

Средняя температура, °С

Стандартный

60 ± 2

40 ± 1

50 ± 1

Низкотемпературный

50 ± 2

30 ± 1

40 ± 1

Измеренное значение КПД h1 записывают.

б) КПД при минимальной допускаемой системой управления мощности

Если котел снабжен системой управления, допускающей уменьшенную мощность главной горелки, проводят испытания минимального допускаемого системой управления подведения теплоты при температурах, указанных в таблице 6.

Таблица 6

Котел

Температура вытекающего потока, °С

Температура обратного потока, °С

Средняя температура, °С

Стандартный

55 ± 2

45 ± 1

50 ± 1

Низкотемпературный

45 ± 2

35 ± 1

40 ± 1

Измеренное значение КПД h2 записывают.

Если котел оборудован системой управления, допускающей два значения уменьшенной мощности главной горелки, одно из которых соответствует подведению теплоты большему чем 30 % от номинального подведения теплоты, а другой - меньшему, то определяют значения КПД, соответствующие двум указанным режимам.

Измеренное значение КПД h2 записывают:

h21 - для большей подведенной теплоты;

h22 - для меньшей подведенной теплоты.

в) Потери в горячем резерве

Испытательная установка приведена в приложении А на рисунке А.6.

Контуры, соединяющие различные части установки, должны быть изолированными и, насколько возможно, короткими. Собственные потери испытательной установки и доля тепла от насоса при различных величинах расхода воды следует определять в начале испытаний, чтобы иметь возможность учета их в дальнейшем (см. приложение В).

Котел снабжают испытательными дымоходами наибольшего диаметра и всех допустимых, указанных изготовителем в технических инструкциях.

Температуру воды в котле доводят до средней температуры на (30 ± 5) °С - для стандартного котла или на (20 ± 5) °С - для низкотемпературного котла выше окружающей. Затем подачу газа отключают, останавливают дополнительный насос 11 и насос котла, если они имеются, выключают контур теплообменника 12 (см. рисунок А.6).

При непрерывной циркуляции воды с помощью насоса 5 испытательного оборудования проводят регулировку тепловой нагрузки электрического котла так, чтобы получить в стационарном состоянии разницу между средней температурой воды и окружающей температурой (30 ± 5) °С - для стандартного котла и (20 ± 5) °С - для низкотемпературного котла.

На протяжении всех испытаний изменение температуры в помещении не должно превышать 2 °С в час.

Потери в горячем резерве Ps, кВт, при температуре окружающей среды 20 °С определяют по формулам:

для стандартного котла при средней температуре воды 50 °С:

                                                    (11)

для низкотемпературного котла при средней температуре воды 40 °С:

                                                    (12)

где Pm - электрическая мощность, потребляемая вспомогательным электрическим котлом, скорректированная на потери в испытательном оборудовании и доли тепла от насоса 5, кВт;

Т - средняя температура воды, равная среднему по двум значениям температуры, показанным двумя датчиками 2 (см. рисунок А.6) в трубопроводах входа и выхода воды испытуемого котла, °С;

ТА - температура окружающей среды испытаний, °С.

6.4.2.3.2 Расчет КПД

Расчет КПД производят для контрольного цикла при нагрузке 30 % от величины максимального номинального подвода теплоты и средней температуре воды 50 °С - для стандартного котла или 40 °С - для низкотемпературного котла.

Обозначения, используемые при расчете КПД котла приведены в таблице 7.

Таблица 7 - Обозначения, используемые при расчете КПД котла

Рабочая фаза основной горелки

Подводимая теплота, кВт

Время, с

Измеренные значения КПД, % при 50 °С

Полная мощность

Q1

t1

h1

Редуцированная мощность

Q2

t2

h2

Редуцированная мощность > 0,3Q1

Q21

t21

h21

Редуцированная мощность < 0,3Q1

Q22

t22

h22

Контроль

-

t3

Потери в горячем резерве Ps, кВт

Расчет коэффициента полезного действия производят по отношению полезной энергии к энергии, поступающей с газом в течение цикла, равного 10 мин.

В зависимости от применяемых средств управления могут быть указаны следующие виды рабочих циклов, соответствующие формулам, приведенным в таблице 8:

1) непрерывная работа при Q2 = 0,3Qi (фиксированная уменьшенная мощность или плавно изменяемая мощность);

2) полная мощность/работа без управления (одна фиксированная мощность);

3) сниженная мощность/работа без управления (одно или несколько значений сниженной мощности или ее плавное изменение при минимальном подведении тепла Q2 > 0,3Qi) (или цикл 6, если согласно проекту зажигание осуществляется при полной мощности);

4) работа при полной/уменьшенной мощности (одно или несколько значений уменьшенной мощности, когда минимальное подведение тепла Q2 < 0,3Qi);

5) работа при двух значениях уменьшенной мощности (Q21 > 0,3Qi и Q22 < 0,3Qi);

6) работа при полной мощности/уменьшенной мощности/без управления (согласно проекту зажигание выполняют при Q1 за время t1 с одним или несколькими значениями редуцированной или модулированной мощности таковой, что цикл включает в себя контрольное отключение при t3 > 0, в противном случае выполняют цикл 4, как указано выше).

Коэффициент полезного действия вычисляют согласно таблице 8, при этом время зажигания на полную мощность рекомендуется определять согласно приложению Г.

Таблица 8 - Коэффициент полезного действия при частичной нагрузке

Условия работы

Подведение тепла, кВт

Время циклов, с

Замер

Коэффициент полезного действия, %

Мощность уменьшенная до 30 %

Q2 = 0,3Q1

t2 = 600

h2

hи = h2

Полная мощность

Q1 = Qn1)

h1

Без управления

Q3 - постоянная запальная горелка

t3 = 600 - t1

Ps

Редуцированная мощность

Q21 > 0,3Qn

h21

Без управления

Q3 - постоянная запальная горелка

t3 = 600 - t21

Ps

Полная мощность.

Q1 = Qn1)

h1

Редуцированная мощность

Q22 < 0,3Qn

t22 = 600 - t1

h22

Редуцированная мощность 1

Q21 > 0,3Qn

h21

Редуцированная мощность 2

Q22 < 0,3Qn

t3 = 600 - t21

h22

Полная мощность.

Q1 = Qn1)

t1 = измеренное значение

h1

Редуцированная мощность

Q2

h2

Без управления

Q3 - постоянная запальная горелка

t3 = 600 - (t1 + t2)

Ps

1) Qn заменяют среднеарифметическим Qa, вычисленным при максимальной и минимальной подведенной теплоте к бойлеру.

6.5 Требуемая тяга и сопротивление контура продуктов горения

Для котлов, работающих при отрицательном давлении в топочной камере, всасывание в дымоходе по отношению к атмосферному давлению измеряют на выходе продуктов горения из котла.

Для котлов, работающих при положительном давлении в топочной камере, измеряют разницу давления между камерой и выходом для продуктов горения котла.

6.6 Проверка температуры уходящих газов при номинальной теплопроизводительности

Температуру уходящих газов измеряют в газоходе за котлом. Значения температуры уходящих газов должны соответствовать требованиям 5.8.

7 Инструкции

В инструкции по эксплуатации (и монтажу) корпусов котлов и горелок необходимо указать производителей изделий их совместимость. При отсутствии данной информации монтажнику необходимо обеспечить совместимость этих изделий путем консультации с их производителями.

В инструкции по эксплуатации (и монтажу) на корпус котла и горелку должны содержать следующую информацию:

- максимальную температуру воды, меньшую или равную 105 °С;

- предупреждение для котлов с нормальной рабочей температурой, превышающей 90 °С;

- котел при сборке должен быть снабжен оборудованием, которое должно быть работоспособно при аварийных температурах в диапазоне от 110 °С до 120 ° С.

Для низкотемпературного котла производитель должен предусмотреть взаимодействие с химическими соединениями от конденсата (рН, тяжелые металлы и т.д.) в соответствии с требованиями законов страны.

Вся информация должна быть представлена на языке(ах) страны, в которой устанавливается котел, в соответствии с существующей там практикой.

Приложение А
(рекомендуемое)

Испытательные установки и испытательное оборудование

1 - испытуемый котел; 2 - циркуляционный насос; 3 - управляющий клапан I; 4 - управляющий клапан II;
5 - управляющий клапан III; 6 - бак постоянного напора; 7 - соединение с трубой, распределяющей
постоянное давление; 8 - компенсационный бак; 9 - охладитель; 10 - трехходовой кран;
11 - сосуд для взвешивания; 12 - водяной расходомер; 13 - измерения температуры

Рисунок А.1 - Испытательное оборудование с прямой рециркуляцией

1 - котел; 2 - теплообменник; 3 - управляющий клапан I; 4 - управляющий клапан II; 5 - управляющий
клапан III; 6 - сосуд для расширения (не в системах с циркуляцией); 7 - бак постоянного напора;
8 - соединение с трубой, распределяющей постоянное давление; 9 - циркуляционный насос; 10 - сосуд
для взвешивания; 11 - трехходовой кран; 12 - измерители температуры; 13 - водяной расходомер

Рисунок А.2 - Испытательное оборудование с теплообменником

1 - термопара, припаянная к медной пластине; 2 - отверстие для присоединения медной пластины

Рисунок А.3 - Конструкция термопары для измерения температуры поверхности испытательного пола

1 - отверстия в каждом ответвлении: 8´Æ 1 мм; 2 - термопара; 3 - пробоотборник

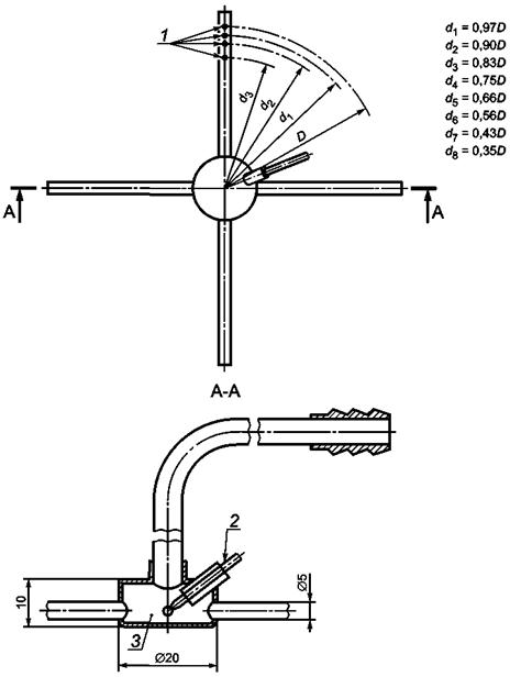
Рисунок А.4 - Пробоотборник для диаметров дымоходов больше Æ 100 мм

1 - трубка Æ 6 мм; 2 - трубка Æ 5 мм; 3 - термопара; 4 - отверстия: 8´Æ 1 мм

Рисунок А.5 - Пробоотборник для дымоходов диаметров не больше Æ 100 мм

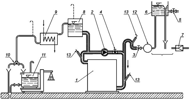
1 - испытуемый котел; 2 - датчики температуры; 3 - низкоинерционные термопары; 4 - самописец;
5 - насос; 6 - вспомогательный электрический котел; 7 - устройство для измерения электрической
мощности; 8 - регулятор напряжения; 9 - клапаны с поворотом на 1/4; 10 - электропитание;
11 - дополнительный насос (при необходимости); 12 - система охлаждения (теплообменник)

Рисунок А.6 - Испытательная установка для определений тепловой эмиссии от котла при выключенной горелке

Приложение Б
(справочное)

Практический метод калибрования испытательного оборудования,
предназначенного для определения тепловых потерь
DP

Заменяют котел 1 (см. рисунки А.1 и А.2) хорошо изолированным контейнером с водой небольшого объема (приблизительно 250 см3), содержащим электрический погружной нагреватель. Заполняют систему циркуляции и запускают насос в нормальном режиме. Погружной нагреватель должен быть соединен с сетью через трансформатор с непрерывно изменяемым выходным напряжением и ваттметром. Производят регулировку трансформатора таким образом, чтобы температура циркулирующей воды достигла равновесного состояния (это может занять 4 ч или более). Отмечают окружающую температуру и измеряют количество подводимой теплоты. Серия испытаний при различных температурах позволяет получить данные о тепловых потерях испытательного оборудования при различных значениях превышения температуры оборудования над температурой окружающей среды.

При фактическом выполнении испытаний регистрируют температуру окружающей среды, и могут быть определены тепловые потери, соответствующие разнице температуры между средней температурой испытательного оборудования и температурой окружающей среды.

Приложение В
(справочное)

Определение косвенным методом тепловых потерь испытательного оборудования
и доли тепла, вносимой циркуляционным насосом

Из состава испытательного оборудования, соответствующего рисунку А.6, исключают котел путем непосредственного соединения труб подвода и отвода воды.

Останавливают дополнительный насос 11, путем установки клапанов 9 в соответствующее положение исключают из контура теплообменник 12.

Запускают насос 5 и выполняют непрерывную работу при предусмотренном расходе воды.

Измеряют величины (Т - ТА) в стационарном состоянии и при соблюдении следующих условий:

- без подвода тепла от электрического котла 6;

- с подводом тепла от электрического котла б таким образом, чтобы получить значение

(Т - ТА) = (40 ± 5) °С;

- с подводом тепла от электрического котла б таким образом, чтобы получить значение

(Т - ТА) = (60 ± 5) °С,

где Т - среднее значение температуры, показанное двумя датчиками 2 в трубопроводах входа и выхода испытуемого котла 1; ТА - окружающая температура.

Эти три измеренные величины наносятся на график для определения доли тепла от электрического котла, Вт, как функции величины (Т - ТА).

В результате пересечения получается прямая линия.

Уравнение этой прямой линии дает при заданном расходе воды тепловые потери и значения доли тепла от циркуляционного насоса испытательного контура в виде функции от (Т - ТА).

Приложение Г
(справочное)

Определение времени зажигания на полную мощность

Котел устанавливают, как показано на рисунке А.6. При этом водяной контур представляет собой изолированный контур с резервуаром.

Установка содержит не менее 6 дм3 воды на киловатт номинальной выходной мощности.

Газовый контур снабжен расходомером для газа или манометром, измеряющим давление выше по потоку от инжектора.

Запускают котел при начальной температуре воды (47 ± 1) °С и измеряют время tb, в секундах, протекающее между моментом зажигания горелки и моментом, когда вследствие действий органов управления:

- подведенная теплота достигает значения, равного

0,37Qном + 0,63Qy;

- или давление в инжекторе достигает значения, равного

где Qном - подводимая теплота, соответствующая полной мощности, кВт;

Qу - подводимая теплота, соответствующая уменьшенной мощности, кВт;

рном - давление, соответствующее полной мощности, Па;

ру - давление, соответствующее уменьшенной мощности, Па.

Приложение Д
(справочное)

Испытания для котлов, соответствующих производственной номенклатуре

Для котлов, соответствующих производственной номенклатуре, имеющей одинаковую конструктивную схему, достаточно проводить испытания только для наименьшего и наибольшего типа котла при условии, что отношение значений номинальной выходной мощности этих котлов меньше или равно 2:1. Если в пределах той же производственной номенклатуры это отношение больше 2:1, то должно быть испытано достаточное число дополнительных размеров котлов, так чтобы отношение 2:1 не было превышено.

Изготовитель котлов должен гарантировать, что все котлы производственной номенклатуры, даже те, которые не были испытаны, соответствуют требованиям настоящего стандарта. Результаты для не подвергавшихся испытаниям котлов определяют путем интерполяции по номинальным значениям выходной тепловой мощности.

При выборе котлов, подлежащих испытаниям, могут быть также использованы и другие методы, например изучение характера изменения областей теплообмена в зависимости от номинальных значений выходной мощности.

Приложение Е
(справочное)

Испытания корпуса котла, который ранее испытан с горелкой на жидком топливе

Если корпус котла уже подвергался испытаниям с горелкой на жидком топливе, необходимо провести только следующие испытания:

по 6.3.2 - предельной температуры боковых стенок, передней части и верха (кроме части испытаний, касающейся температуры дверец котла);

по 6.3.3 - предельной температуры пола и испытательных панелей (кроме части испытаний, касающейся температуры пола);

по 6.3.5 - замеры окиси углерода;

по 6.4.2 - КПД котла при частичной нагрузке

Приложение ДА
(справочное)

Сопоставление структуры настоящего стандарта со структурой
примененного в нем европейского регионального стандарта

При применении текста указанного регионального стандарта в модифицированном по отношению к нему настоящем стандарте изменена структура, при этом введено дополнительное приложение ДА «Сопоставление структуры настоящего стандарта со структурой примененного в нем регионального стандарта», представленное в таблице ДА.1.

Графический материал в настоящем стандарте размещен сразу после текста, в котором он упоминается впервые.

Таблица ДА.1

Структура настоящего стандарта

Структура регионального стандарта

ЕН 303-3:1998

Раздел

Пункт

Подпункт

Раздел

Пункт

Подпункт

3

3.1

-

3

3.1

3.1.1

3.1.2

3.2

-

3.2

3.2.1

3.3

-

3.4

-

3.3

3.3.1

3.3.2

3.5

-

3.6

-

3.7

-

3.4

-

3.8

-

3.5

-

3.9

-

3.6

-

3.10

-

3.7

-

Приложения

А1)

Приложения

-

-

А

Б

В

В

С

Г

D

Д

Е

-

F

Е

G

-

Н

-

ZA

ДА

-

1) См. 6.1.2.3 в ЕН 303-3:1998.

Примечание - Сопоставление структуры национального и европейского регионального стандартов приведено для раздела 3 и приложений, т.к. остальные разделы стандарта и их структурные элементы, за исключением предисловия, идентичны.

Библиография

[1] РД 10-249-98 Нормы расчета на прочность стационарных котлов и трубопроводов пара и горячей воды

Ключевые слова: отопительные агрегаты, газовые приборы, котлы, центральное отопление, отопительные установки, горелки, определения, классификация, технические условия на оборудование, оценка характеристик, испытания, заводские таблички, технические сообщения, маркировка