Скачать ГОСТ Р ИСО/ТС 10303-1304-2012 Системы автоматизации производства и их интеграция. Представление данных об изделии и обмен этими данными. Часть 1304. Прикладной модуль. Регистрация состояния изделия по прикладному протоколу ПП239Дата актуализации: 01.01.2021
|
| Обозначение: | ГОСТ Р ИСО/ТС 10303-1304-2012 |
| Обозначение англ: | GOST R ISO/TS 10303-1304-2012 |
| Статус: | заменен |
| Название рус.: | Системы автоматизации производства и их интеграция. Представление данных об изделии и обмен этими данными. Часть 1304. Прикладной модуль. Регистрация состояния изделия по прикладному протоколу ПП239 |
| Название англ.: | Industrial automation systems and integration. Product data representation and exchange. Part 1304. Application module. AP 239 product status recording |
| Дата добавления в базу: | 01.10.2014 |
| Дата актуализации: | 01.01.2021 |
| Дата введения: | 01.05.2013 |
| Дата окончания срока действия: | 01.10.2020 |
| Область применения: | Стандарт определяет прикладной модуль «Регистрация состояния изделия по прикладному протоколу ПП239». Требования стандарта распространяются на: - задание наблюдаемого состояния для идентифицированного изделия или группы изделий; - задание наблюдаемого состояния для соединения, интерфейса или другой взаимосвязи между двумя изделиями; - установление связи между действием и заданием наблюдаемого состояния; - задание обоснования для наблюдаемого состояния; - задание местоположения для изделия или группы изделий; - задание действия для оценки наблюдаемого состояния; - включение изделия или группы изделий в контекстную среду наблюдения; - связь перевода наблюдения на конкретный язык с результатом наблюдения. Требования стандарта не распространяются на: - задание характеристики для идентифицированного состояния или индивидуального состояния; - регистрацию перехода данных об изделии в конкретное состояние как события; - регистрацию использования изделия; - регистрацию состояния действий. |
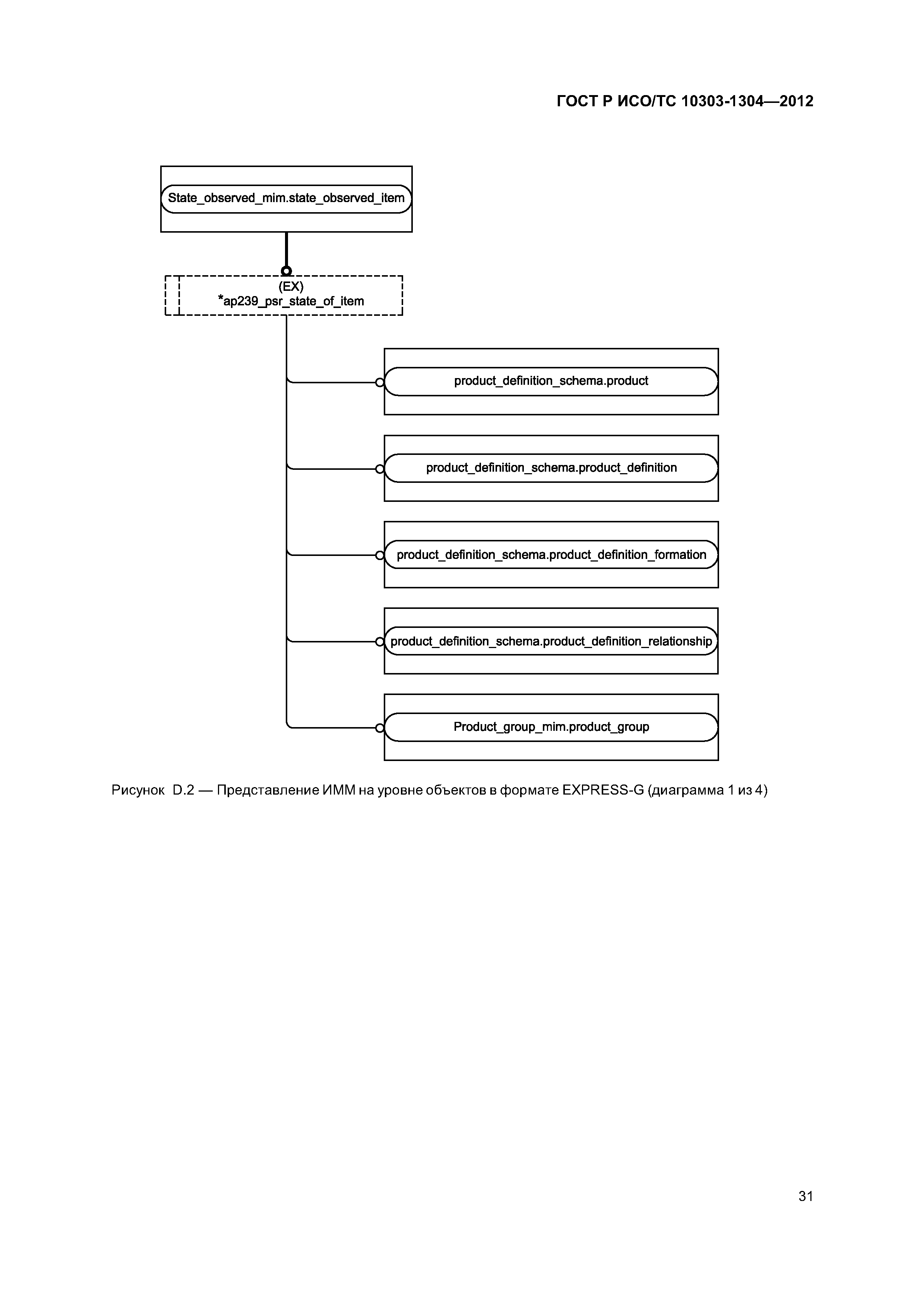
| Оглавление: | 1 Область применения 2 Нормативные ссылки 3 Термины и сокращения 4 Информационные требования 4.1 Необходимые ПЭМ прикладных модулей 4.2 Определение типов данных ПЭМ 4.2.1 Тип данных ар239_psr_activity_item 4.2.2 Тип данных ар239_psr_justification_item 4.2.3 Тип данных ар239_psr_location_assignment_select 4.2.4 Тип данных ар239_psr_observed_context 4.2.5 Тип данных ар239_psr_state_of_item 4.2.6 Тип данных ар239_psr_string_select 5 Интерпретированная модель модуля 5.1 Спецификация отображения 5.1.1 Объект Applied_activity_assignment 5.1.2 Объект Applied_state_assignment 5.1.3 Объект Attribute_translation_assignment 5.1.4 Объект Justification_assignment 5.1.5 Объект Location_assignment 5.1.6 Объект Language_indication 5.1.7 Объект Observation 5.2 Сокращенный листинг ИММ на языке EXPRESS 5.2.1 Определение типов данных ИММ Приложение А (обязательное) Сокращенные наименования объектов ИММ Приложение В (обязательное) Регистрация информационных объектов Приложение С (справочное) EXPRESS-G диаграммы ПЭМ Приложение D (справочное) EXPRESS-G диаграммы ИММ Приложение Е (справочное) Машинно-интерпретируемые листинги Приложение ДА (справочное) Сведения о соответствии ссылочных международных стандартов и документов национальным стандартам Российской Федерации Библиография |
| Разработан: | ГНУ Центральный научно-исследовательский и опытно-конструкторский институт роботехники и технической кибернетики |
| Утверждён: | 29.06.2012 Федеральное агентство по техническому регулированию и метрологии (146-ст) |
| Издан: | Стандартинформ (2013 г. ) |
| Нормативные ссылки: |
|








































