Скачать Технические условия. Типовые решения. Металлические ограждающие конструкции промышленных зданий

Дата актуализации: 01.01.2021

Технические условия. Типовые решения. Металлические ограждающие конструкции промышленных зданий

Статус:справочные материалы, мп, тпр
Название рус.:Технические условия. Типовые решения. Металлические ограждающие конструкции промышленных зданий
Дата добавления в базу:01.09.2013
Дата актуализации:01.01.2021
Область применения:В документе приведены технические условия на ограждающие конструкции и извлечения из стандартов на материалы и полуфабрикаты, а также систематизированные сведения по основным вопросам проектирования металлических стен и покрытий промышленных зданий, действующие нормы и рекомендации по проектированию легких ограждений. Для инженерно-технических работников проектных, строительных и научно-исследовательских организаций, а также предприятий строительной индустрии.
Оглавление:Предисловие
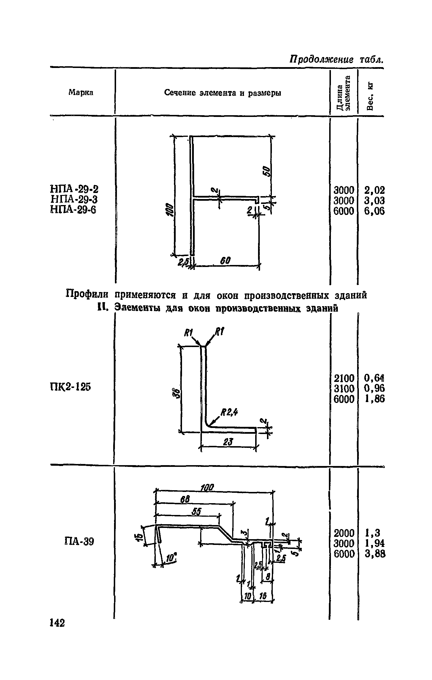
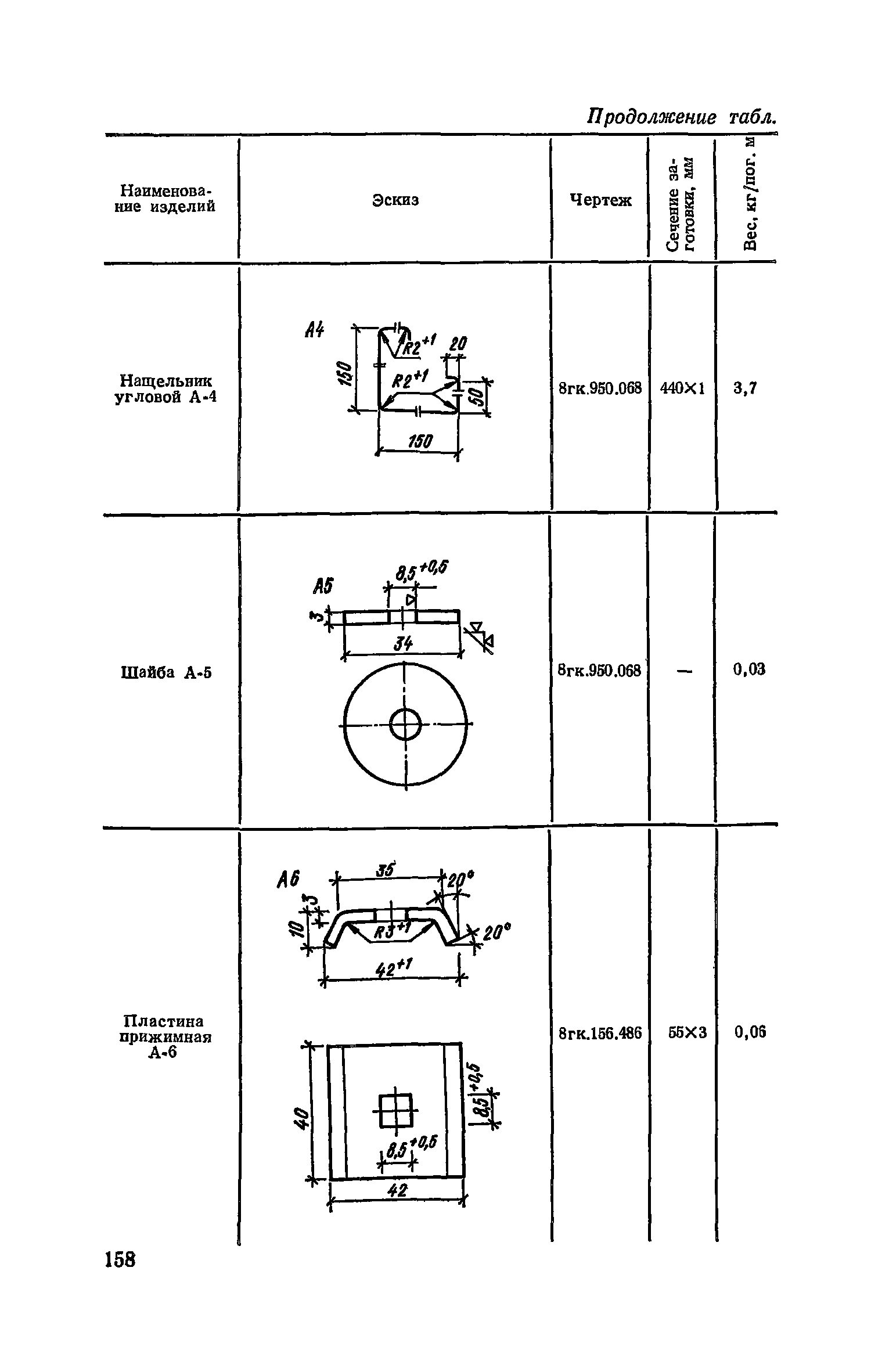
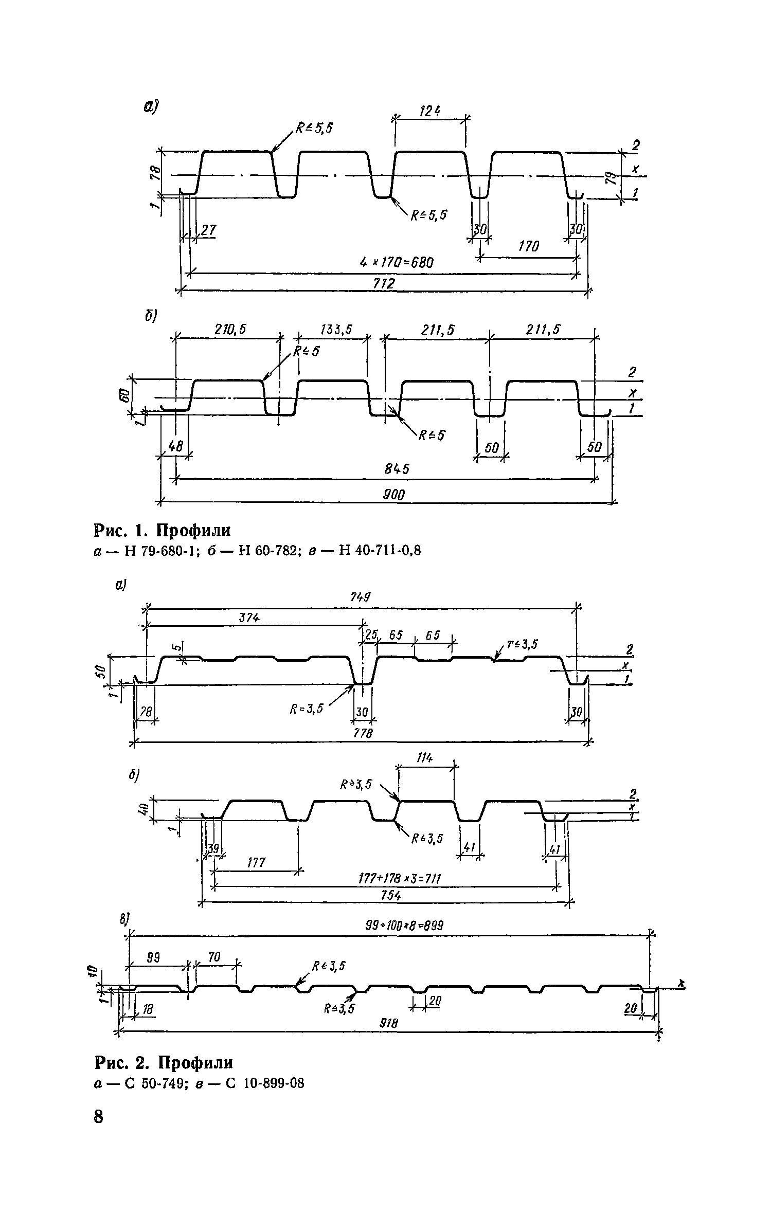
Глава 1. Профилированный лист, панели и комплектующие элементы, изготовляемые на заводах металлических ограждающих конструкций
Глава 2. Материалы и изделия, применяемые в конструкциях металлических стен и покрытий
Глава 3. Основные принципы проектирования металлических стен и покрытий промышленных зданий
Разработан: ЦНИИпромзданий
Утверждён: ЦНИИпромзданий Госстроя СССР (TsNIIpromzdaniy, USSR Gosstroy )
Издан: Стройиздат (1980 г. )
Список изменений:
Нормативные ссылки:

Текстовое изменение опечатки

опечатки