Скачать Временные технические указания по организации, механизации и технологии ремонта крупнопанельных зданийДата актуализации: 01.01.2021 |
| Статус: | справочные материалы, мп, тпр |
| Название рус.: | Временные технические указания по организации, механизации и технологии ремонта крупнопанельных зданий |
| Дата добавления в базу: | 01.10.2014 |
| Дата актуализации: | 01.01.2021 |
| Область применения: | В документе рассмотрены эксплуатационные недостатки крупнопанельных жилых зданий и основные причины их возникновения. Изложена технология ремонта крупнопанельных жилых зданий после гарантийных сроков эксплуатации. Описаны способы герметизации стыков наружных стеновых панелей, устранения протечек, улучшения звукоизоляции ограждающих конструкций, утепления стен и стыков, антисептирования органических материалов, усиления перекрытий. Временные технические указания предназначены для работников жилищно-эксплуатационных и ремонтно-строительных организаций, занятых эксплуатацией и ремонтом крупнопанельных жилых зданий. |
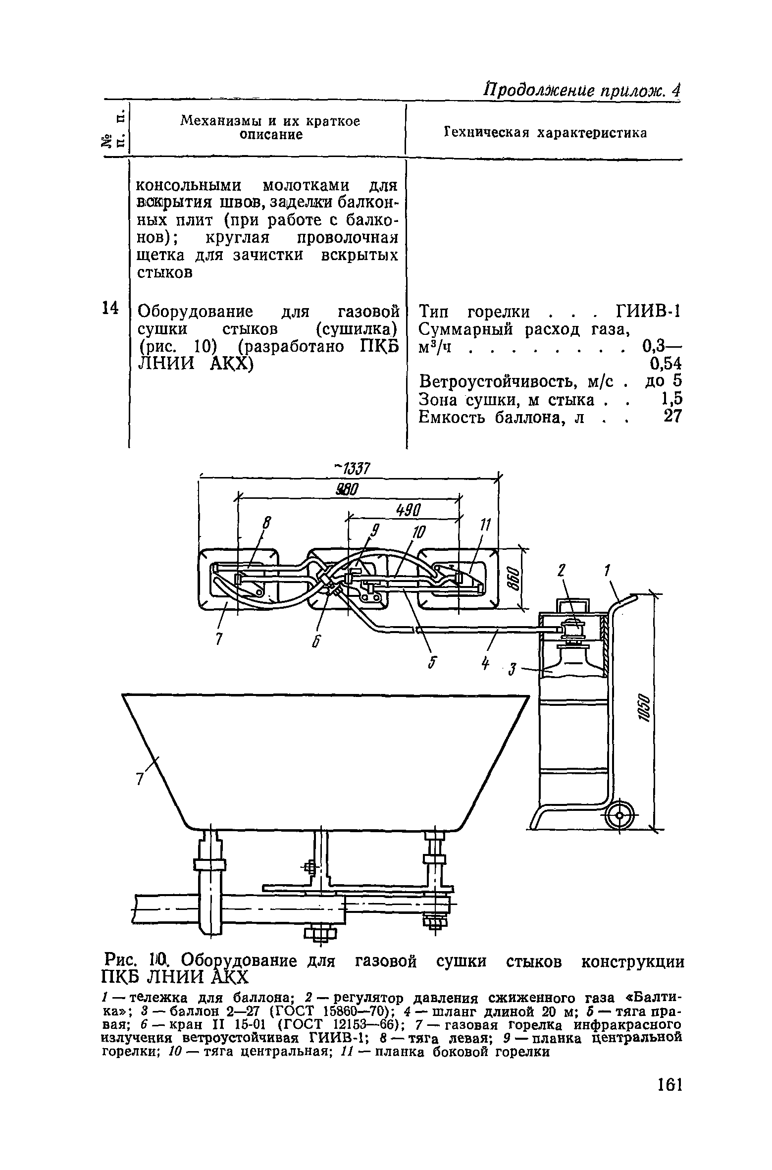
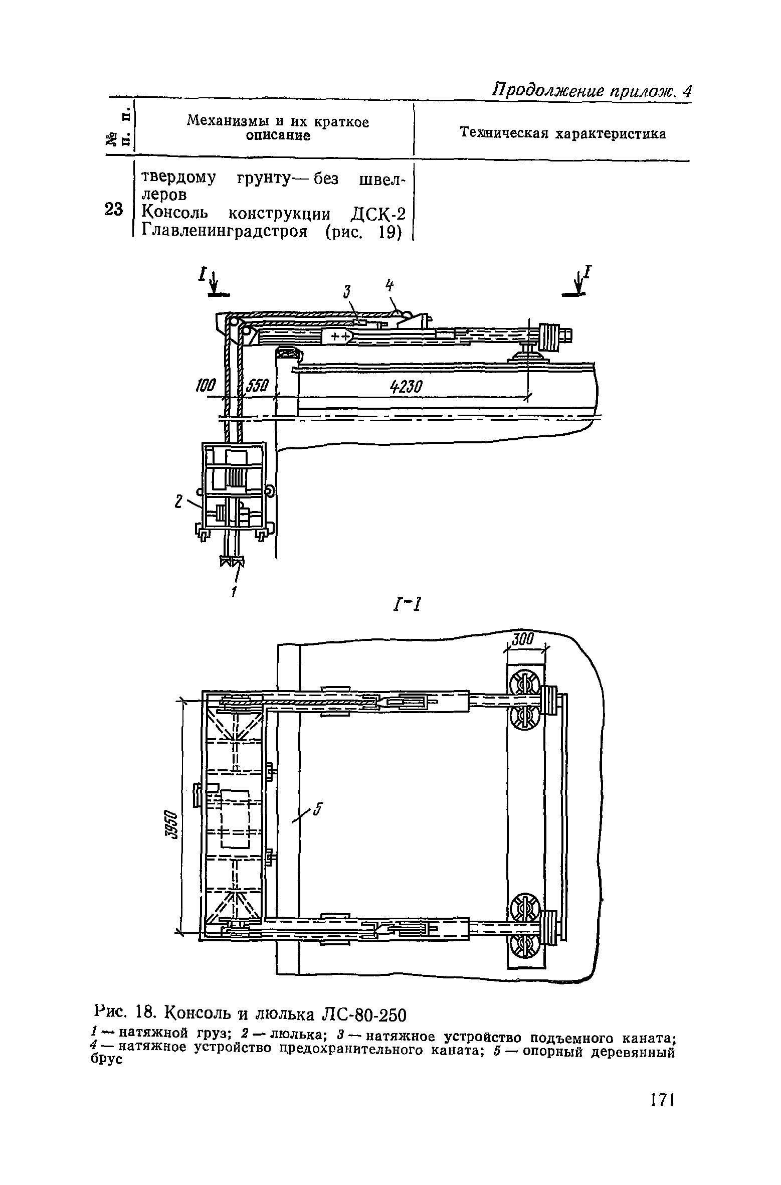
| Оглавление: | Введение 1. Организация ремонтных работ 2. Герметизация стыков панелей наружных стен 3. Устранение протечек через стыки в местах сопряжений балконных плит со стенами зданий 4. Улучшение звукоизоляции жилых помещений 5. Устранение протечек через оконные заполнения 6. Утепление промерзающих стен и стыков 7. Ремонт кровли пологоскатных невентилируемых крыш и устранение сырых пятен на потолках 8. Устранение протечек через стыки вентиляционных панелей и панелей с замоноличенными канализационными стояками 9. Антисептирование органических материалов, применяемых в конструкциях крупнопанельных зданий 10. Усиление перекрытий и устранение зыбкости ненесущих перегородок 11. Ремонт фасадов 12. Прочие работы Приложение 1. Перечень дефектов в крупнопанельных жилых домах, находящихся в эксплуатации Приложение 2. Журналы наблюдения за выполнением работ по устранению эксплуатационных недостатков крупнопанельных жилых домов Приложение 3. Пример калькуляции трудовых затрат на герметизацию стыков крупнопанельных жилых домов серии 1ЛГ-507 Приложение 4. Основные средства механизации, применяемые при ремонте крупнопанельных жилых домов Приложение 5. Сборно-разборная щитовая опалубка для утепления вертикальных углов Список литературы |
| Разработан: | ЛенНИИ АКХ им. К.Д. Памфилова |
| Утверждён: | ЛенНИИ АКХ им. К.Д. Памфилова |
| Издан: | Стройиздат (1978 г. ) |
| Нормативные ссылки: |
|

















































































































































































