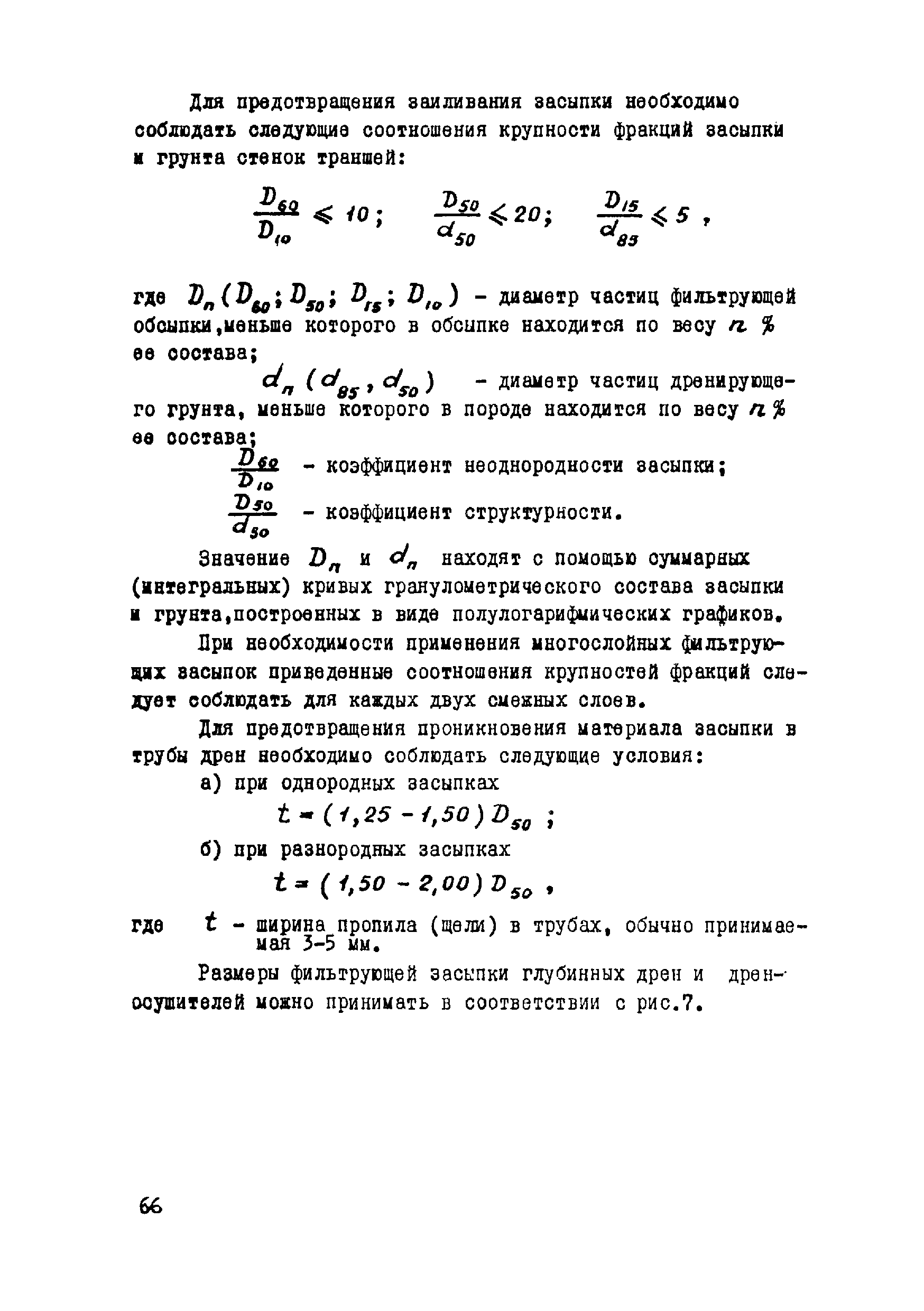
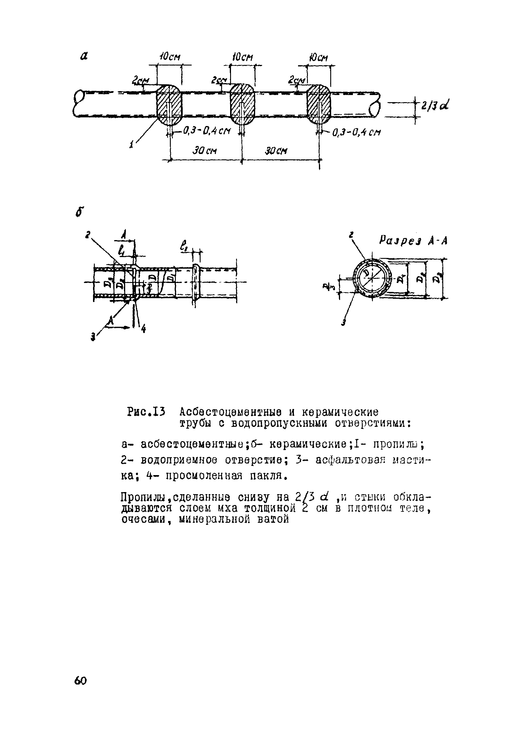
Скачать ВСН 17-79/Минобороны Инструкция по проектированию водоотвода на летных полях постоянных аэродромов

Дата актуализации: 01.01.2021

ВСН 17-79/Минобороны

Инструкция по проектированию водоотвода на летных полях постоянных аэродромов

Обозначение: ВСН 17-79/Минобороны
Обозначение англ: VSN 17-79/Минобороны
Статус:не определен законодательством
Название рус.:Инструкция по проектированию водоотвода на летных полях постоянных аэродромов
Дата добавления в базу:01.10.2014
Дата актуализации:01.01.2021
Дата введения:01.06.1979
Область применения:Инструкцией следует руководствоваться при проектировании водоотвода и дренажа на искусственных покрытиях и грунтовых участках летных полей постоянных аэродромов ВС.
Оглавление:1 Общая часть
2 Основные принципы проектирования водоотвода
3 Высотно-плановое положение водосточной и дренажно-осушительной сети
4 Гидравлический расчет водоотводных сетей
5 Требования к конструкциям отдельных элементов водоотводных сетей
6 Проектирование водоотводных и дренажных сетей в особых инженерно-геологических условиях
7 Состав проекта и оформление чертежей
Приложение 1. Картограммы
Приложение 2. Таблицы
Приложение 3. Номограммы, графики
Утверждён:27.01.1976 Министерство обороны (Ministry of Defense )
Принят: Госстрой СССР (Государственный комитет Совета Министров СССР по делам строительства) (USSR Gosstroy )
Заменяет собой:
  • ВСН 17-75/МО СССР
Нормативные ссылки:
ВСН 17-79/МинобороныВСН 17-79/МинобороныВСН 17-79/МинобороныВСН 17-79/МинобороныВСН 17-79/МинобороныВСН 17-79/МинобороныВСН 17-79/МинобороныВСН 17-79/МинобороныВСН 17-79/МинобороныВСН 17-79/МинобороныВСН 17-79/МинобороныВСН 17-79/МинобороныВСН 17-79/МинобороныВСН 17-79/МинобороныВСН 17-79/МинобороныВСН 17-79/МинобороныВСН 17-79/МинобороныВСН 17-79/МинобороныВСН 17-79/МинобороныВСН 17-79/МинобороныВСН 17-79/МинобороныВСН 17-79/МинобороныВСН 17-79/МинобороныВСН 17-79/МинобороныВСН 17-79/МинобороныВСН 17-79/МинобороныВСН 17-79/МинобороныВСН 17-79/МинобороныВСН 17-79/МинобороныВСН 17-79/МинобороныВСН 17-79/МинобороныВСН 17-79/МинобороныВСН 17-79/МинобороныВСН 17-79/МинобороныВСН 17-79/МинобороныВСН 17-79/МинобороныВСН 17-79/МинобороныВСН 17-79/МинобороныВСН 17-79/МинобороныВСН 17-79/МинобороныВСН 17-79/МинобороныВСН 17-79/МинобороныВСН 17-79/МинобороныВСН 17-79/МинобороныВСН 17-79/МинобороныВСН 17-79/МинобороныВСН 17-79/МинобороныВСН 17-79/МинобороныВСН 17-79/МинобороныВСН 17-79/МинобороныВСН 17-79/МинобороныВСН 17-79/МинобороныВСН 17-79/МинобороныВСН 17-79/МинобороныВСН 17-79/МинобороныВСН 17-79/МинобороныВСН 17-79/МинобороныВСН 17-79/МинобороныВСН 17-79/МинобороныВСН 17-79/МинобороныВСН 17-79/МинобороныВСН 17-79/МинобороныВСН 17-79/МинобороныВСН 17-79/МинобороныВСН 17-79/МинобороныВСН 17-79/МинобороныВСН 17-79/МинобороныВСН 17-79/МинобороныВСН 17-79/МинобороныВСН 17-79/МинобороныВСН 17-79/МинобороныВСН 17-79/МинобороныВСН 17-79/МинобороныВСН 17-79/МинобороныВСН 17-79/МинобороныВСН 17-79/МинобороныВСН 17-79/МинобороныВСН 17-79/МинобороныВСН 17-79/МинобороныВСН 17-79/МинобороныВСН 17-79/МинобороныВСН 17-79/МинобороныВСН 17-79/МинобороныВСН 17-79/МинобороныВСН 17-79/МинобороныВСН 17-79/МинобороныВСН 17-79/МинобороныВСН 17-79/МинобороныВСН 17-79/МинобороныВСН 17-79/МинобороныВСН 17-79/МинобороныВСН 17-79/МинобороныВСН 17-79/МинобороныВСН 17-79/МинобороныВСН 17-79/МинобороныВСН 17-79/МинобороныВСН 17-79/МинобороныВСН 17-79/МинобороныВСН 17-79/МинобороныВСН 17-79/МинобороныВСН 17-79/МинобороныВСН 17-79/МинобороныВСН 17-79/МинобороныВСН 17-79/МинобороныВСН 17-79/МинобороныВСН 17-79/МинобороныВСН 17-79/МинобороныВСН 17-79/МинобороныВСН 17-79/МинобороныВСН 17-79/МинобороныВСН 17-79/МинобороныВСН 17-79/МинобороныВСН 17-79/МинобороныВСН 17-79/МинобороныВСН 17-79/МинобороныВСН 17-79/МинобороныВСН 17-79/МинобороныВСН 17-79/Минобороны