Скачать Руководство по учету техники безопасности и производственной санитарии в проектах производства работДата актуализации: 01.01.2021 |
| Статус: | справочные материалы, мп, тпр |
| Название рус.: | Руководство по учету техники безопасности и производственной санитарии в проектах производства работ |
| Дата добавления в базу: | 01.10.2014 |
| Дата актуализации: | 01.01.2021 |
| Область применения: | В документе содержатся основные требования техники безопасности и производственной санитарии при организации стройплощадки и производстве основных видов строительно-монтажных работ. Для инженерно-технических работников проектных и строительных организаций, разрабатывающих проекты производства работ |
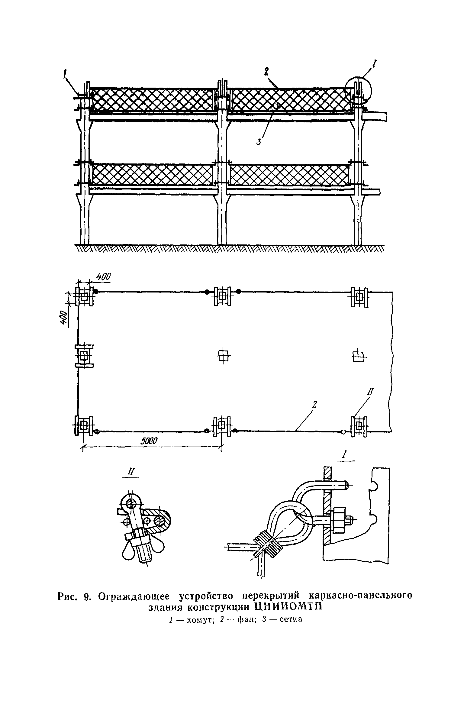
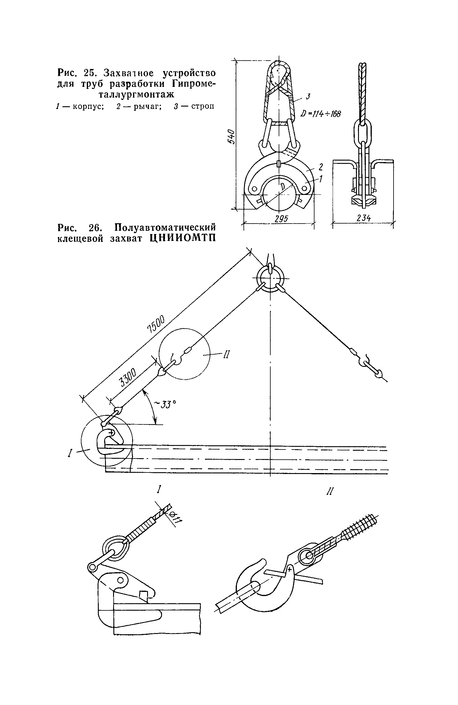
| Оглавление: | Предисловие 1. Общие положения 2. Внутриплощадочные подготовительные работы Санитарно-бытовое обеспечение Питьевое водоснабжение Выбор системы искусственного освещения Устройство временных дорог Ограждение стройплощадки, участков производства работ и опасных зон 3. Производство строительно-монтажных работ Земляные работы Монтаж конструкций Бетонные и железобетонные работы Каменные работы Погрузочно-разгрузочные и транспортные работы Кровельные работы Изоляционные работы Отделочные работы Санитарно-технические работы Специальные работы Приложение 1. Классификация строительно-монтажных работ по степени их электробезопасности Приложение 2. Режимы труда в отдыха Приложение 3. Расчетные показатели площадей инвентарных зданий и помещений различного назначения |
| Разработан: | ВНИПИ труда в строительстве Госстроя СССР ЦНИИОМТП Госстроя СССР |
| Утверждён: | ЦНИИОМТП Госстроя СССР (TsNIIOMTP, USSR Gosstroy ) |
| Издан: | Стройиздат (1980 г. ) |
| Нормативные ссылки: |
|































































