Скачать ГОСТ Р ИСО/ТС 10303-1272-2012 Системы автоматизации производства и их интеграция. Представление данных об изделии и обмен этими данными. Часть 1272. Прикладной модуль. Задание параметров и классификация действийДата актуализации: 01.01.2021
|
| Обозначение: | ГОСТ Р ИСО/ТС 10303-1272-2012 |
| Обозначение англ: | GOST R ISO/TS 10303-1272-2012 |
| Статус: | введен впервые |
| Название рус.: | Системы автоматизации производства и их интеграция. Представление данных об изделии и обмен этими данными. Часть 1272. Прикладной модуль. Задание параметров и классификация действий |
| Название англ.: | Industrial automation systems and integration. Product data representation and exchange. Part 1272. Application module. Activity characterized |
| Дата добавления в базу: | 01.10.2014 |
| Дата актуализации: | 01.01.2021 |
| Дата введения: | 01.07.2013 |
| Область применения: | Требования стандарта распространяются на: - спецификацию определений, необходимых для задания информации о ресурсах управления для действия или класса действий; - спецификацию определений, необходимых для классификации действий; - классификацию действий. Требования стандарта не распространяются на определение классов действий. |
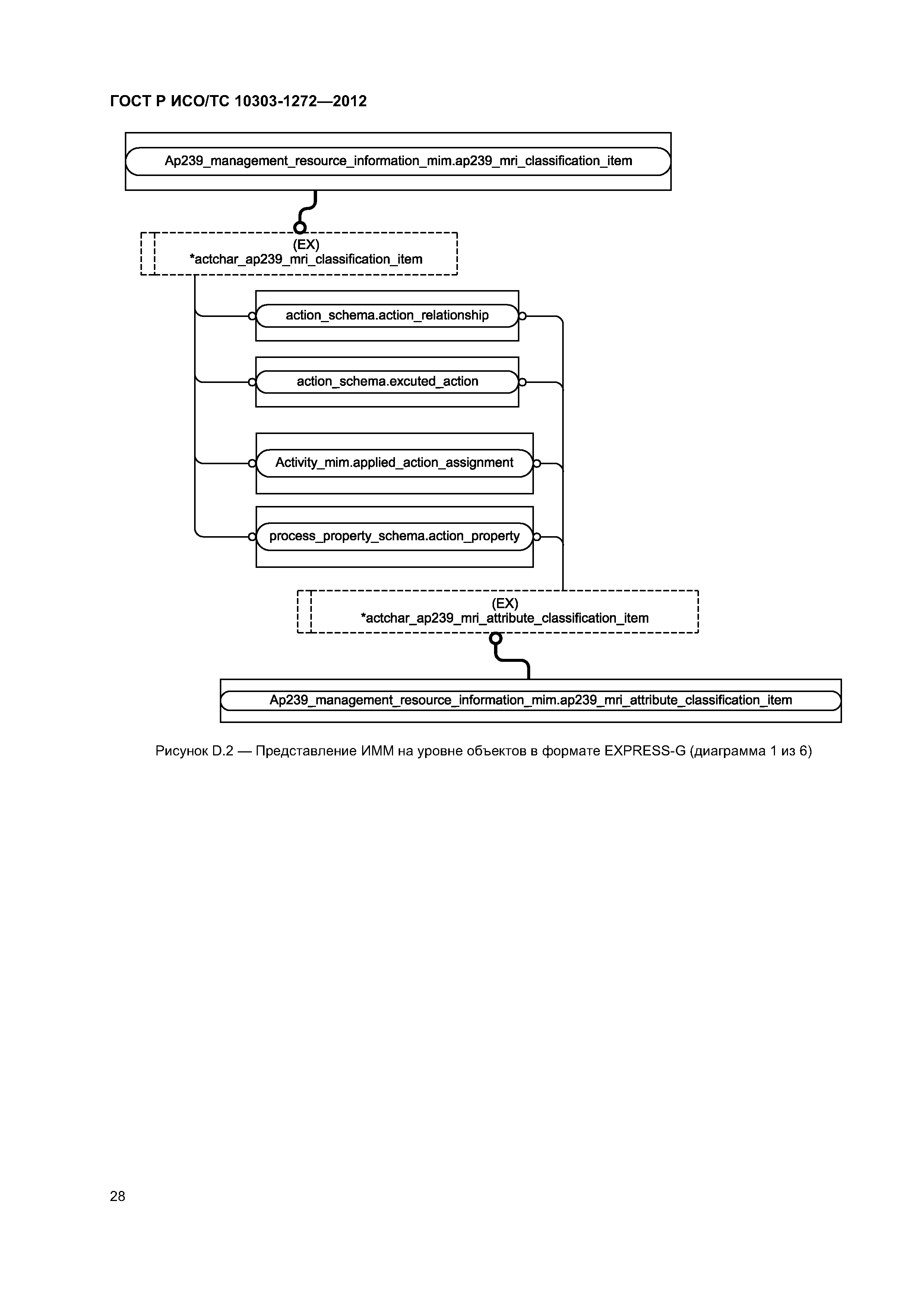
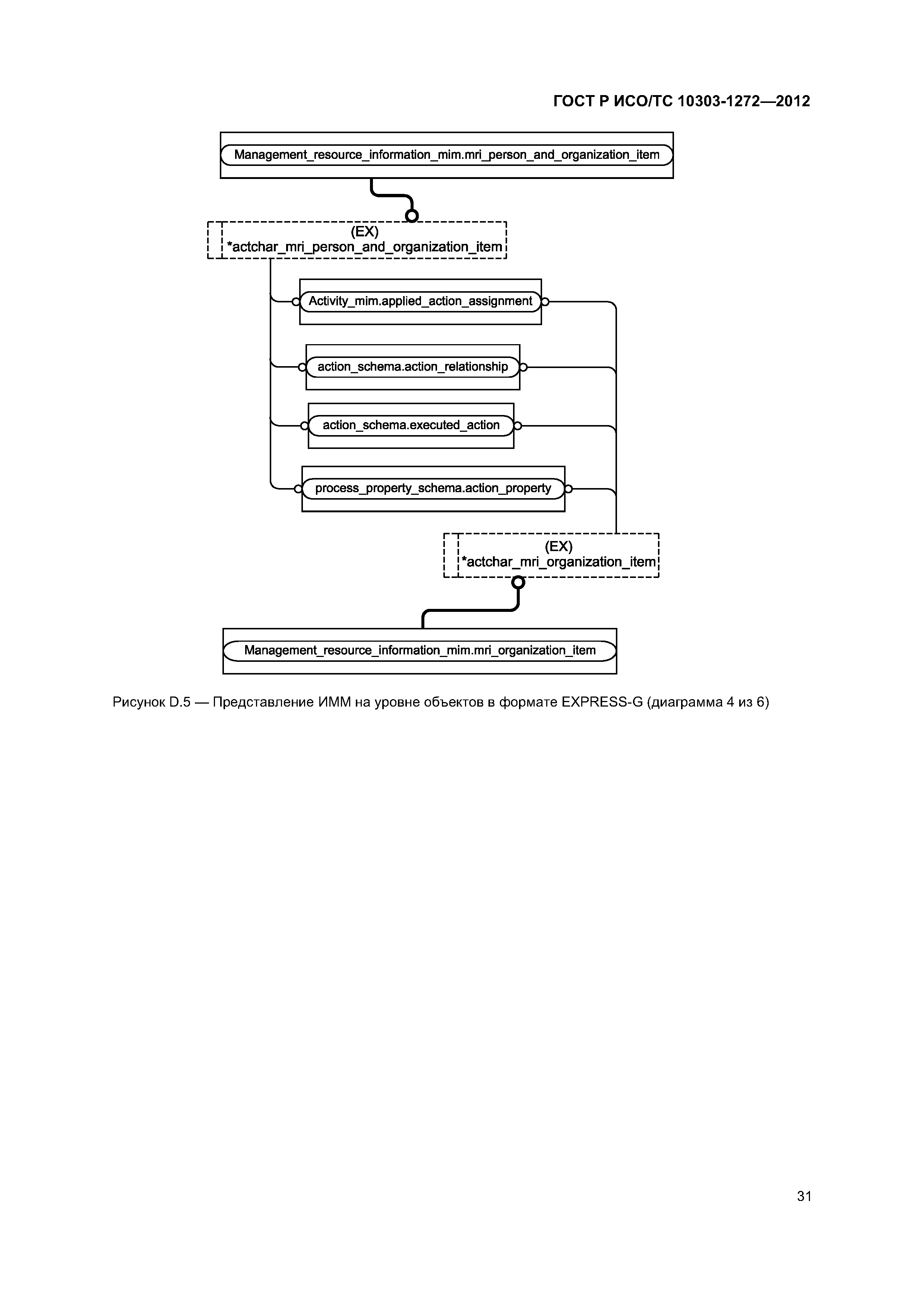
| Оглавление: | 1 Область применения 2 Нормативные ссылки 3 Термины и сокращения 4 Информационные требования 4.1 Необходимые ПЭМ прикладных модулей 4.2 Определение типов данных ПЭМ 4.2.1 Тип данных actchar_ap239_mri_classification_item 4.2.2 Тип данных actchar_ap239_mri_classified_attribute_select 4.2.3 Тип данных actchar_mri_approval_item 4.2.4 Тип данных actchar_mri_date_or_date_time_item 4.2.5 Тип данных actchar_mri_identification_item 4.2.6 Тип данных actchar_mri_organization_or_person_in_organization_item 4.2.7 Тип данных actchar_mri_string_select 4.2.8 Тип данных actchar_property_assignment_select 5 Интерпретированная модель модуля 5.1 Спецификация отображения 5.1.1 Объект Assigned_property 5.1.2 Объект Approval_assignment 5.1.3 Объект Attribute_classification 5.1.4 Объект Classification_assignment 5.1.5 Объект Date_or_date_time_assignment 5.1.6 Объект Identification_assignment 5.1.7 Объект Language_indication 5.1.8 Объект Attribute_translation_assignment 5.1.9 Объект Organization_or_person_in_organization_assignment 5.2 Сокращенный листинг ИММ на языке ЕХРRЕSS 5.2.1 Определение типов данных ИММ 5.2.2 Определение объекта ИММ Приложение А (обязательное) Сокращенное наименование объекта ИММ Приложение В (обязательное) Регистрация информационных объектов Приложение С (справочное) ЕХРRЕSS-G диаграммы ПЭМ Приложение D (справочное) ЕХРRЕSS-G диаграммы ИММ Приложение Е (справочное) Машинно-интерпретируемые листинги Приложение ДА (справочное) Сведения о соответствии ссылочных международных стандартов и документов национальным стандартам Российской Федерации Библиография |
| Разработан: | Федеральное государственное автономное научное учреждение Центральный научно-исследовательский и опытно-конструкторский институт робототехники и технической кибернетики |
| Утверждён: | 29.10.2012 Федеральное агентство по техническому регулированию и метрологии (582-ст) |
| Издан: | Стандартинформ (2014 г. ) |
| Нормативные ссылки: |
|







































