Скачать ГОСТ 31195.2.5-2012 Соединительные устройства для низковольтных цепей бытового и аналогичного назначения. Часть 2-5. Дополнительные требования к соединительным коробкам (присоединения и/или ответвления медных проводников) для зажимов или соединительных устройствДата актуализации: 01.01.2021
|
| Обозначение: | ГОСТ 31195.2.5-2012 |
| Обозначение англ: | GOST 31195.2.5-2012 |
| Статус: | введен впервые |
| Название рус.: | Соединительные устройства для низковольтных цепей бытового и аналогичного назначения. Часть 2-5. Дополнительные требования к соединительным коробкам (присоединения и/или ответвления медных проводников) для зажимов или соединительных устройств |
| Название англ.: | Connecting devices for low voltage circuits for household and similar purposes. Part 2-5. Particular requirements for connecting boxes ( junction and/or tapping of copper conductors) for terminals of connecting devices |
| Дата добавления в базу: | 01.10.2014 |
| Дата актуализации: | 01.01.2021 |
| Дата введения: | 01.01.2014 |
| Область применения: | Стандарт распространяется на соединительные коробки присоединения и/или ответвления медных проводников: - с неподвижными (составляющими единое целое или встроенными) контактными зажимами или соединительными устройствами; - с неподвижными контактными зажимами или соединительными устройствами; - с незакрепленными (плавающими) контактными зажимами или соединительными устройствами. Стандарт не распространяется: - на монтажные корпуса или кожуха для изделий бытовой и аналогичной стационарной установки. |
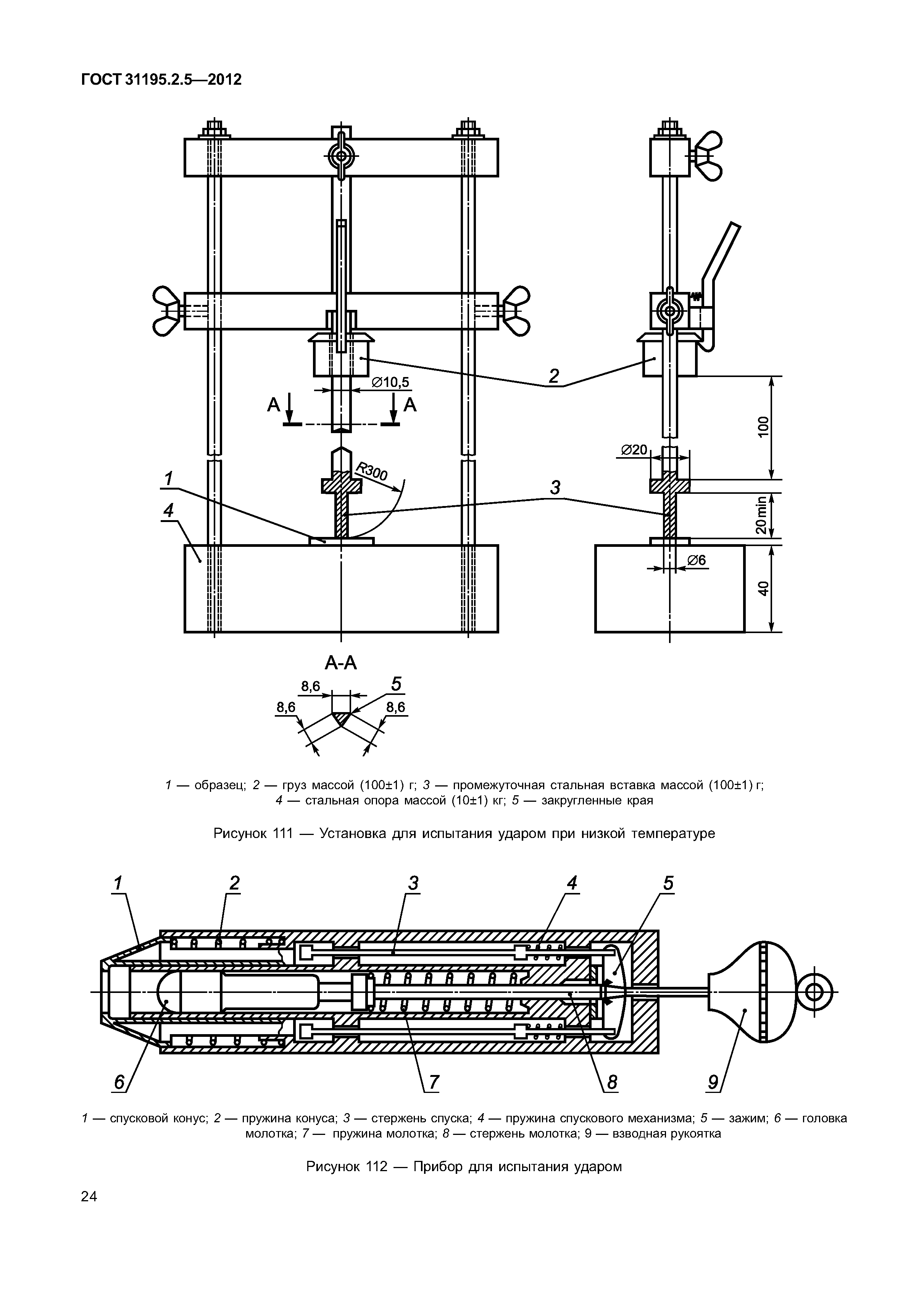
| Оглавление: | 1 Область применения 2 Нормативные ссылки 3 Определения 4 Общие требования 5 Общие требования к испытаниям 6 Основные характеристики 7 Классификация 8 Маркировка 9 Защита от поражения электрическим током и обеспечение заземления 10 Соединение проводников 11 Конструкция 12 Устойчивость к старению, влажности, проникновению твердых частиц и защита от попадания воды 13 Сопротивление и электрическая прочность изоляции 14 Механическая прочность 15 Превышение температуры 16 Нагревостойкость 17 Пути утечки тока, воздушные зазоры и расстояния через заливочную массу 18 Теплостойкость и огнестойкость 19 Стойкость к токам поверхностного разряда 20.101 Коррозиеустойчивость Рисунки Приложение А (обязательное) Последовательность испытаний и число испытуемых образцов Приложение В (справочное) Примеры соединительных коробок Приложение С (справочное) Примеры открытой и скрытой установок коробок Приложение D (обязательное) Дополнительные требования к коробкам бытового и аналогичного назначения, устанавливаемые в стандартах и технических условиях на изделия конкретных типов и учитывающие потребности экономик стран, упомянутых в предисловии как проголосовавших за принятие межгосударственного стандарта Библиография |
| Разработан: | ФГУП ВНИИНМАШ |
| Утверждён: | 24.05.2012 Межгосударственный Совет по стандартизации, метрологии и сертификации (Inter-Governmental Council on Standardization, Metrology, and Certification 41) 15.11.2012 Федеральное агентство по техническому регулированию и метрологии (856-ст) |
| Издан: | Стандартинформ (2013 г. ) |
| Список изменений: |
|
| Нормативные ссылки: |
|
































Текстовое изменение Поправка от 20.02.2016