Скачать ГОСТ 31195.1-2012 Соединительные устройства для низковольтных цепей бытового и аналогичного назначения. Часть 1. Общие требованияДата актуализации: 01.01.2021
|
| Обозначение: | ГОСТ 31195.1-2012 |
| Обозначение англ: | GOST 31195.1-2012 |
| Статус: | введен впервые |
| Название рус.: | Соединительные устройства для низковольтных цепей бытового и аналогичного назначения. Часть 1. Общие требования |
| Название англ.: | Connecting devices for low-voltage circuits for household and similar purposes. Part 1. General requirements |
| Дата добавления в базу: | 01.10.2014 |
| Дата актуализации: | 01.01.2021 |
| Дата введения: | 01.01.2014 |
| Область применения: | Стандарт распространяется на соединительные устройства бытового и аналогичного назначения, предназначенные для соединения двух или более медных проводников (в соответствии с ГОСТ 22483) жестких (одно- или многожильных) или гибких с площадью поперечного сечения от 0,5 до 35 мм2 включительно и эквивалентных проводников AWG на номинальное переменное напряжение до 1000 В частоты до 1000 Гц и постоянное напряжение до 1500 В. Соединительные устройства, отвечающие требованиям настоящего стандарта, не требуют применения никаких специальных инструментов, за исключением скручивающих соединительных устройств. Стандарт содержит общие требования и применяется с ГОСТ 31195.2.1, содержащим конкретные требования. |
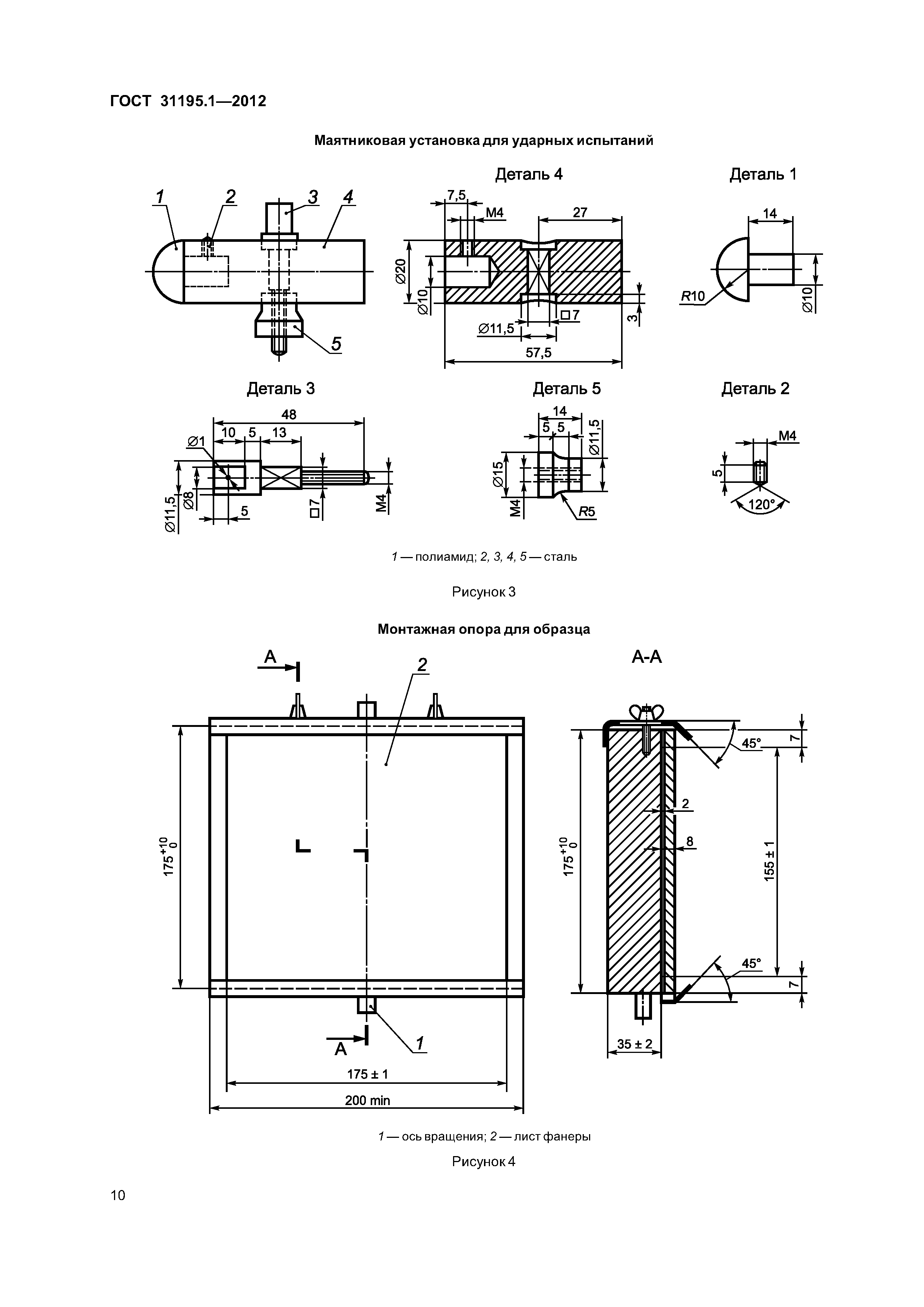
| Оглавление: | 1 Область распространения 2 Нормативные ссылки 3 Термины и определения 4 Общие положения 5 Общие замечания 6 Основные характеристики 7 Классификация 8 Маркировка 9 Защита от поражения электрическим током 10 Соединение проводников 11 Конструкция 12 Сопротивление старению, влажности, прониканию твердых объектов и опасному прониканию воды 13 Сопротивление изоляции и электрическая прочность изоляции 14 Механическая прочность 15 Превышение температуры 16 Стойкость к нагреванию 17 Расстояния утечки по поверхности изолятора, зазоры и расстояние через герметизирующий компаунд 18 Стойкость изоляционного материала к чрезмерному нагреву, огнестойкость 19 Стойкость изоляционного материала к трекингу Приложение 1 (справочное) Блок-схема соединительного устройства Приложение 2 (справочное) Приближенные соотношения между проводниками с площадью поперечного сечения в квадратных миллиметрах и калибрами AWG, принятыми в Северной Америке |
| Разработан: | ФГУП ВНИИНМАШ |
| Утверждён: | 24.05.2012 Межгосударственный Совет по стандартизации, метрологии и сертификации (Inter-Governmental Council on Standardization, Metrology, and Certification 41) 15.11.2012 Федеральное агентство по техническому регулированию и метрологии (852-ст) |
| Издан: | Стандартинформ (2013 г. ) |
| Список изменений: |
|
| Нормативные ссылки: |
|





















Текстовое изменение Поправка от 20.02.2016