Скачать Руководство по проектированию градирен

Дата актуализации: 01.01.2021

Руководство по проектированию градирен

Статус:не установлен срок действия
Название рус.:Руководство по проектированию градирен
Дата добавления в базу:01.10.2014
Дата актуализации:01.01.2021
Область применения:Документ распространяется на привязку типовых башенных, вентиляторных и открытых градирен, предназначенных для применения на территории СССР (за исключением районов вечной мерзлоты).
Оглавление:Раздел А. Общие положения
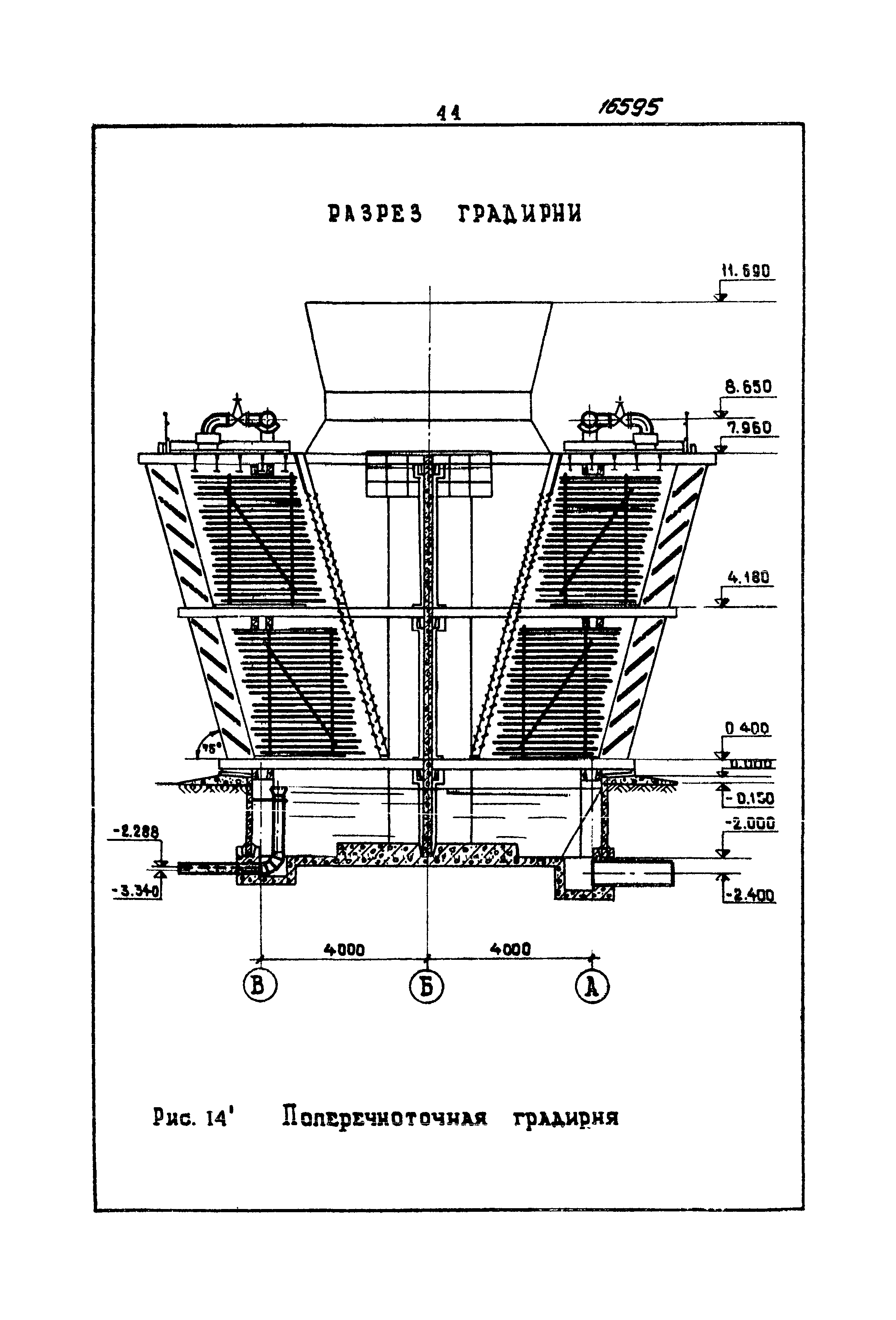
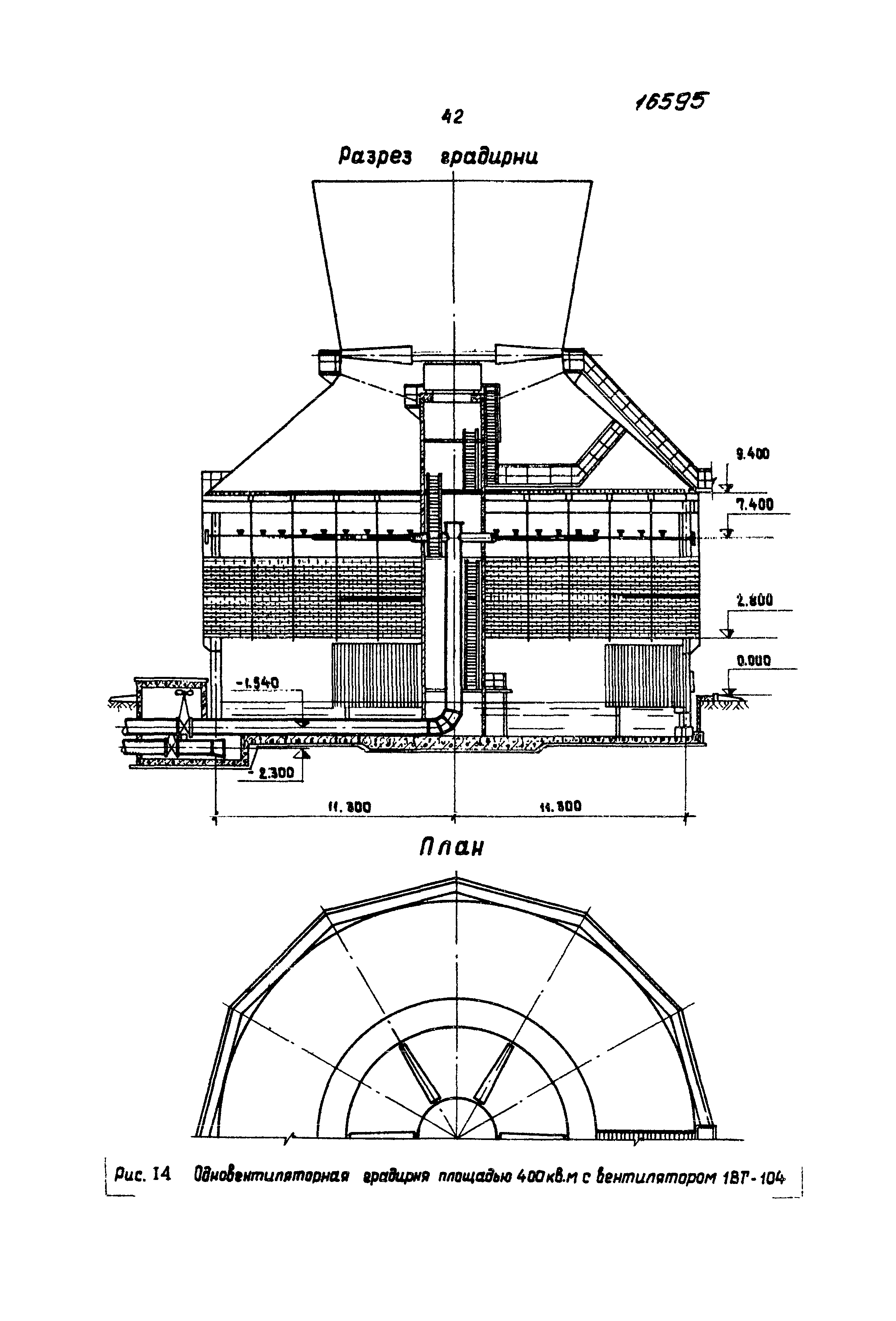
Раздел Б. Вентиляторные градирни
   Общие указания по выбору типов, режимов работы и расположению
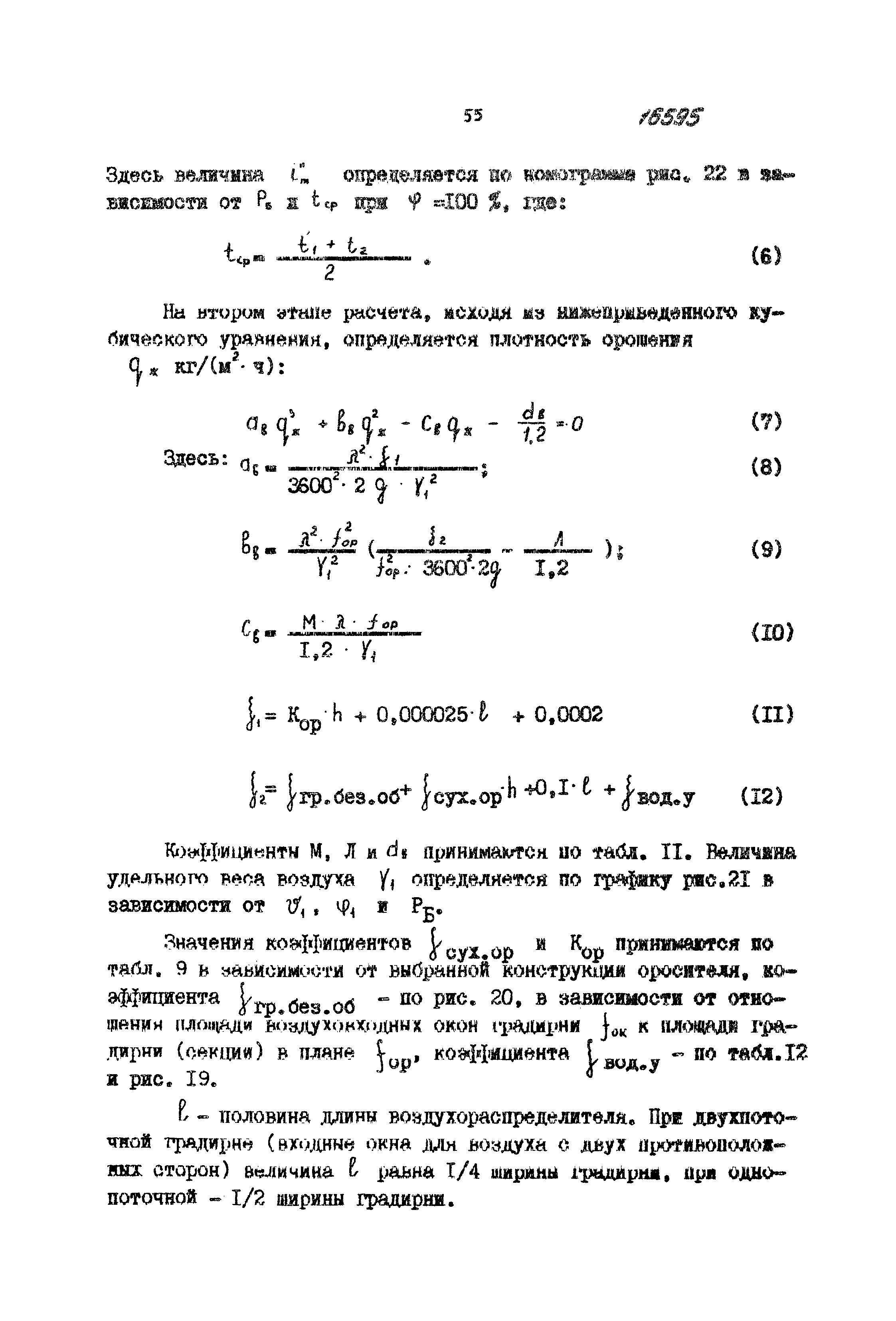
   Тепловой и аэродинамический расчеты вентиляторных градирен
   Указания по строительному проектированию вентиляторных градирен
Раздел В. Башенные градирни
   Общие указания по выбору типо-размеров, режимов работы и расположению
Раздел Г. Открытые градирни
   Общие указания по выбору типо-размеров, режимов работы и расположению
Раздел Д. Технико-экономическое обоснование применения различных типов градирен
Разработан: ВНИИ ВОДГЕО Госстроя СССР
Союзводоканалпроект
ЦНИИпроектстальконструкция
Теплоэлектропроект
Промстройпроект
Утверждён:24.01.1980 Союзводоканалпроект (Soyuzvodokanalproject )
Нормативные ссылки: