Скачать ГОСТ Р 53037-2013 Мобильные подъемники с рабочими платформами. Расчеты конструкции, требования безопасности, испытанияДата актуализации: 01.01.2021
|
| Обозначение: | ГОСТ Р 53037-2013 |
| Обозначение англ: | GOST R 53037-2013 |
| Статус: | отменен |
| Название рус.: | Мобильные подъемники с рабочими платформами. Расчеты конструкции, требования безопасности, испытания |
| Название англ.: | Mobile elevating work platforms. Design, calculations, safety requirements, tests |
| Дата добавления в базу: | 21.05.2015 |
| Дата актуализации: | 01.01.2021 |
| Дата введения: | 01.09.2014 |
| Дата окончания срока действия: | 01.07.2019 |
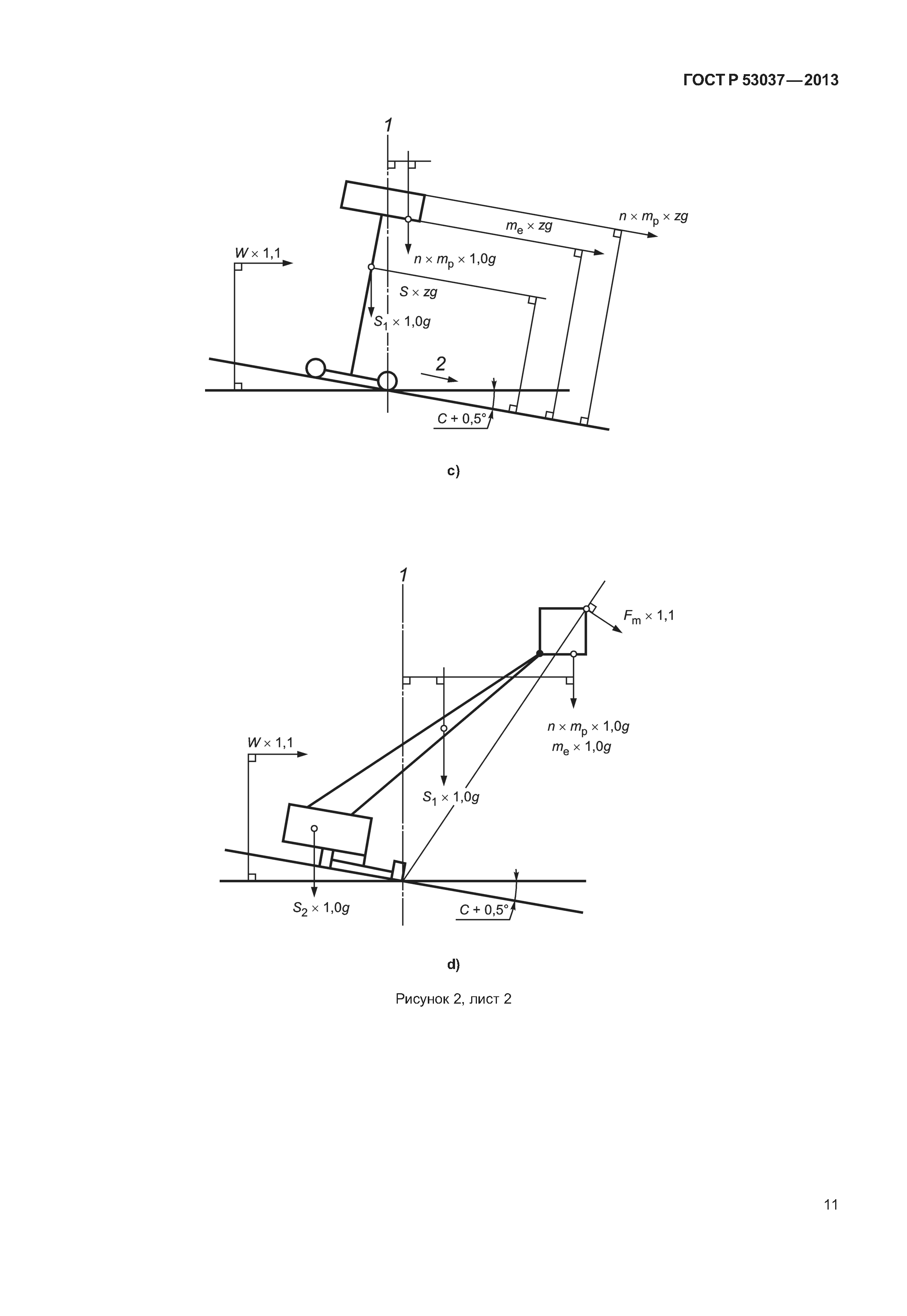
| Область применения: | Стандарт устанавливает требования, обеспечивающие единство проектирования, расчетов и испытания всех типов мобильных подъемников с рабочими платформами (МПРП) для обеспечения их безопасного применения. Стандарт применяется при конструкторских расчетах металлоконструкций, критерия устойчивости, испытаниях и проверках безопасности перед пуском МПРП в работу. Стандарт определяет опасные факторы, возникающие при эксплуатации МПРП, и описывает методы устранения или снижения этих факторов. |
| Оглавление: | 1 Область применения 2 Нормативные ссылки 3 Термины и определения 4 Требования безопасности и/или мероприятия по обеспечению безопасности на стадиях проектирования и изготовления 4.1 Общие положения 4.2 Расчеты металлоконструкций и устойчивости 4.3 Требования к базовому шасси и выносным опорам 4.4 Требования к подъемному оборудованию 4.5 Требования к системам привода подъемного оборудования 4.6 Требования к рабочей платформе 4.7 Требования к органам управления 4.8 Требования к электрооборудованию 4.9 Требования к гидравлической системе, гидравлическому оборудованию и трубопроводам 4.10 Гидравлические цилиндры 4.11 Требования к устройствам (приборам) безопасности 5 Проверки и испытания МПРП на соответствие требованиям безопасности 5.1 Проверки и испытания 5.2 Типовые испытания 5.3 Испытания перед выпуском в обращение 6 Эксплуатационные документы и информационные таблички 6.1 Общие положения 6.2 Эксплуатационные документы 6.3 Информационные таблички Приложение А (справочное) Эксплуатация МПРП при скоростях ветра выше 12,5 м/с, 6 баллов по шкале Бофорта Приложение В (справочное) Динамические коэффициенты в расчетах устойчивости напряжений металлоконструкции Приложение С (обязательное) Расчет систем привода с использованием стальных канатов Приложение D (справочное) Пример вычислений. Системы приводов с использованием стальных канатов Приложение Е (справочное) Расчеты для испытания устойчивости при наезде на бордюр или углубление Приложение F (справочное) Эксплуатационная техническая документация Приложение G (обязательное) Дополнительные требования к дистанционным системам управления Приложение Н (справочное) Перечень значимых потенциальных опасностей Приложение ДА (справочное) Сведения о соответствии ссылочных национальных и межгосударственных стандартов международным стандартам, используемым в качестве ссылочных в примененном международном стандарте Приложение ДБ (справочное) Сопоставление структуры настоящего стандарта со структурой примененного в нем международного стандарта ИСО 16368:2003 Библиография |
| Разработан: | ПТОУ-Фонд |
| Утверждён: | 22.11.2013 Федеральное агентство по техническому регулированию и метрологии (1756-ст) |
| Издан: | Стандартинформ (2014 г. ) |
| Заменяет собой: | |
| Нормативные ссылки: |
|






















































































