Скачать ГОСТ CISPR 15-2014 Нормы и методы измерения характеристик радиопомех от электрического осветительного и аналогичного оборудованияДата актуализации: 01.01.2021
|
| Обозначение: | ГОСТ CISPR 15-2014 |
| Обозначение англ: | 15-2014 |
| Статус: | введен впервые |
| Название рус.: | Нормы и методы измерения характеристик радиопомех от электрического осветительного и аналогичного оборудования |
| Название англ.: | Limits and methods of measurement of radio disturbance characteristics of electrical lighting and similar equipment |
| Дата добавления в базу: | 21.05.2015 |
| Дата актуализации: | 01.01.2021 |
| Дата введения: | 01.03.2015 |
| Область применения: | Стандарт распространяется на эмиссию (излучаемую и кондуктивную) радиочастотных помех от: - всего осветительного оборудования, основной функцией которого является создание и/или распределение света, предназначенного для освещения и питающегося от низковольтной электрической сети или от батарей; - световых частей многофункционального оборудования, одной из основных функций которого является освещение; - отдельного вспомогательного оборудования, предназначенного для использования исключительно с осветительным оборудованием; - оборудования ультрафиолетового и инфракрасного излучения; - рекламного неонового оборудования; - уличного/прожекторного осветительного оборудования, предназначенного для наружного использования; - осветительного оборудования, применяемого на транспорте (установленного внутри автобусов и поездов). Стандарт не распространяется: - на осветительное оборудование, работающее в частотных диапазонах для промышленного, научного и медицинского оборудования [как определено в резолюции 63 (1979) Регламента радиосвязи Международного союза электросвязи]; - осветительное оборудование для воздушного транспорта и аэропортов; - оборудование, для которого требования электромагнитной совместимости в полосе радиочастот однозначно установлены в других стандартах CISPR. |
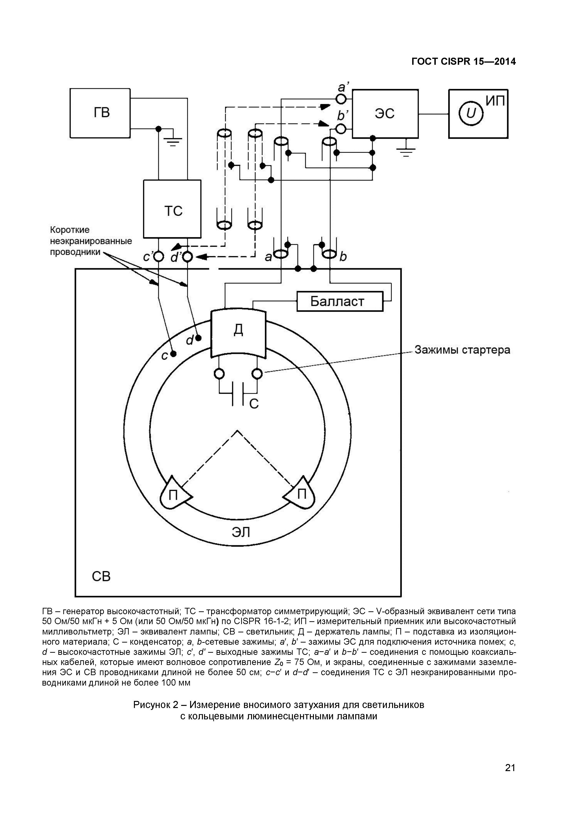
| Оглавление: | 1 Область применения 2 Нормативные ссылки 3 Термины и определения 4 Нормы 4.1 Полосы частот 4.2 Вносимое затухание 4.3 Напряжения помех 4.4 Излучаемые электромагнитные помехи 5 Применение норм 5.1 Общие положения 5.2 Светильники для помещений 5.3 Отдельное вспомогательное оборудование, предназначенное для работы исключительно с осветительным оборудованием 5.4 Лампы со встроенным балластом 5.5 Осветительное оборудование наружного освещения 5.6 Оборудование УФ- и ИК-излучения 5.7 Осветительное оборудование, применяемое на транспортных средствах 5.8 Требования к светильникам с трубчатыми газоразрядными лампами с холодным катодом (например, неоновыми трубками) используемым, например, для рекламных целей 5.9 Автономные светильники аварийного освещения 5.10 Заменяемые стартеры для люминесцентных ламп 5.11 Светодиодные источники света и связанные с ними светильники 6 Условия работы осветительного оборудования 6.1 Общие положения 6.2 Осветительное оборудование 6.3 Напряжение и частота электропитания 6.4 Условия окружающей среды 6.5 Лампы 6.6 Заменяемые стартеры 7 Метод измерения вносимого затухания 7.1 Схемы измерения вносимого затухания 7.2 Подготовка и проведение измерений 7.3 Светильники 7.4 Проведение измерений 8 Метод измерения напряжений помех 8.1 Подготовка и проведение измерений 8.2 Светильники внутреннего и наружного освещения 8.3 Отдельные светорегулирующие устройства 8.4 Отдельные трансформаторы и преобразователи для ламп накаливания или светодиодных источников света 8.5 Отдельные балласты для люминесцентных и других разрядных ламп 8.6 Лампы с встроенным балластом и полусветильники 8.7 Приборы УФ- и ИК-излучения 8.8 Автономные светильники аварийного освещения 8.9 Отдельные стартеры и устройства зажигания для люминесцентных и других разрядных ламп 9 Метод измерения излучаемых электромагнитных помех 9.1 Подготовка и проведение измерений, относящихся к 4.4.1 9.2 Подготовка и проведение измерений, относящихся к 4.4.2 9.3 Светильники внутреннего и наружного освещения 9.4 Отдельные преобразователи для ламп накаливания или светодиодных источников света 9.5 Отдельные балласты для люминесцентных и других разрядных ламп 9.6 Лампы со встроенным балластом и полусветильники 9.7 Приборы УФ- и ИК-излучения 9.8 Автономные светильники для аварийного освещения 10 Интерпретация норм радиопомех СISPR 10.1 Значимость норм СISPR 10.2 Испытания 10.3 Статистический метод оценки 10.4 Несоответствие 11 Неопределенность измерений Рисунок 1 — Измерение вносимого затухания для светильников с линейными и U-образными люминесцентными лампами Рисунок 2 — Измерение вносимого затухания для светильников с кольцевыми люминесцентными лампами Рисунок 3 — Измерение вносимого затухания для одноцокольных люминесцентных ламп со встроенным стартером Рисунок 4а — Конфигурация эквивалентов линейной и U-образной ламп Рисунок 4b — Конфигурация эквивалента кольцевых ламп Рисунок 4с — Эквивалент линейной люминесцентной лампы с диаметром трубки 15 мм Рисунок 4d — Эквивалент одноцокольной люминесцентной лампы с диаметром трубки 15мм Рисунок 4е — Эквивалент одноцокольной двухтрубчатой линейной люминесцентной лампы с диаметром трубок 12 мм Рисунок 4f — Эквивалент одноцокольной четырехтрубчатой линейной люминесцентной лампы с диаметром трубок 12 мм Рисунок 5 — Схема испытаний для отдельного устройства регулирования света, трансформатора или преобразователя Рисунок 6 — Схемы измерений светильников (рисунок 6а), отдельных балластов для люминесцентных и других разрядных ламп (рисунок 6b), ламп со встроенным балластом (рисунок 6с) Рисунок 7 — Конический металлический корпус для люминесцентных ламп со встроенным балластом Приложение А (обязательное) Требования к электрической схеме и конструкции симметрирующего трансформатора малой емкости Приложение В (обязательное) Независимый метод измерения излучаемых помех Приложение С (обязательное) Пример размещения оборудования при измерении излучаемых радиопомех в соответствии с CISPR 32 Приложение D (справочное) Применимость методов и норм для различных типов оборудования Библиография Приложение ДА (справочное) Сведения о соответствии межгосударственных стандартов ссылочным международным стандартам |
| Разработан: | ТК 30 Электромагнитная совместимость технических средств ЗАО НИЦ САМТЕС |
| Утверждён: | 14.11.2014 Межгосударственный Совет по стандартизации, метрологии и сертификации (Inter-Governmental Council on Standardization, Metrology, and Certification 72-П) 24.11.2014 Федеральное агентство по техническому регулированию и метрологии (1709-ст) |
| Издан: | Стандартинформ (2015 г. ) |
| Нормативные ссылки: |
|























































