Скачать Противопожарные требования при применении в строительстве систем фасадных теплоизоляционных композиционных с наружными защитно-декоративными штукатурными слоями. РекомендацииДата актуализации: 01.01.2021 |
| Статус: | действует |
| Название рус.: | Противопожарные требования при применении в строительстве систем фасадных теплоизоляционных композиционных с наружными защитно-декоративными штукатурными слоями. Рекомендации |
| Дата добавления в базу: | 21.05.2015 |
| Дата актуализации: | 01.01.2021 |
| Область применения: | В рекомендациях изложены общие сведения о пожарной опасности систем фасадных теплоизоляционных композиционных с наружными защитно-декоративными штукатурными слоями, рассмотрены основные механизмы распространения пожара по фасадам. Представлены особенности пожарной опасности горючих утеплителей. На основе анализа пожаров и огневых испытаний даны противопожарные требования при применении в строительстве систем фасадных теплоизоляционных композиционных с наружными защитно-декоративными штукатурными слоями. Рекомендации предназначены для работников государственного пожарного надзора, проектировщиков и специалистов, занимающихся вопросами пожарной безопасности, изготовления. монтажа и эксплуатации фасадных систем утепления |
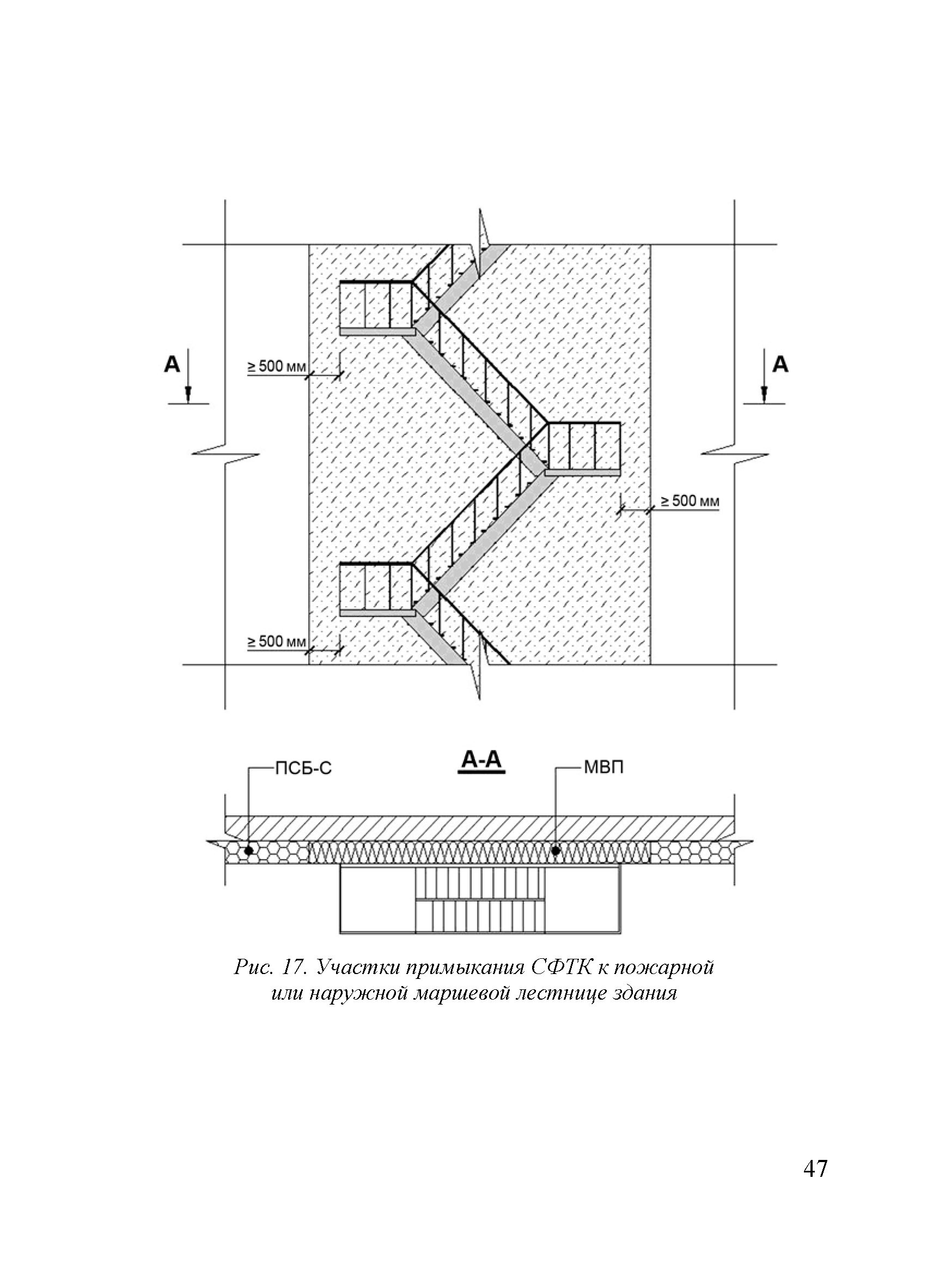
| Оглавление: | Введение 1 Особенности пожарной опасности систем фасадных теплоизоляционных композиционных с наружными защитно-декоративными штукатурными слоями 2 Основные виды систем фасадных теплоизоляционных композиционных с наружными защитно-декоративными штукатурными слоями 3 Противопожарные требования при применении в строительстве фасадных теплоизоляционных композиционных с наружными защитно-декоративными штукатурными слоями Литература Приложение. Примеры технических решений по проектированию и монтажу СФТК |
| Разработан: | ЦНИИСК им. В.А. Кучеренко ФГБУ ВНИИПО МЧС России ДНПР МЧС РОССИИ НО Ассоциация АНФАС ООО Алгоритмы безопасности |
| Утверждён: | ФГБУ ВНИИПО МЧС России |
| Принят: | 20.11.2014 Департамент надзорной деятельности и профилактической работы МЧС России (19-2-13-4950) |
| Издан: | МЧС России (2014 г. ) |
| Нормативные ссылки: |
|



















































