Скачать Рекомендации по проектированию инженерных коммуникаций, прокладываемых в торфах и илистых грунтах (в условиях г. Архангельска и других аналогичных условиях)Дата актуализации: 01.01.2021 |
| Статус: | справочные материалы, мп, тпр |
| Название рус.: | Рекомендации по проектированию инженерных коммуникаций, прокладываемых в торфах и илистых грунтах (в условиях г. Архангельска и других аналогичных условиях) |
| Дата добавления в базу: | 12.02.2016 |
| Дата актуализации: | 01.01.2021 |
| Область применения: | В рекомендациях приведены специфические особенности прокладки сетей водоснабжения, канализации, теплоснабжения, газопроводов, сетей связи (телефон, радио), водостоков и дренажей особенности конструкции оснований под трубопроводы, колодцы и камеры; способы защиты от гниения элементов деревянных конструкций инженерных коммуникаций. Рекомендации предназначены для проектировщиков коммуникаций и инженерно-технических работников строительного профиля. |
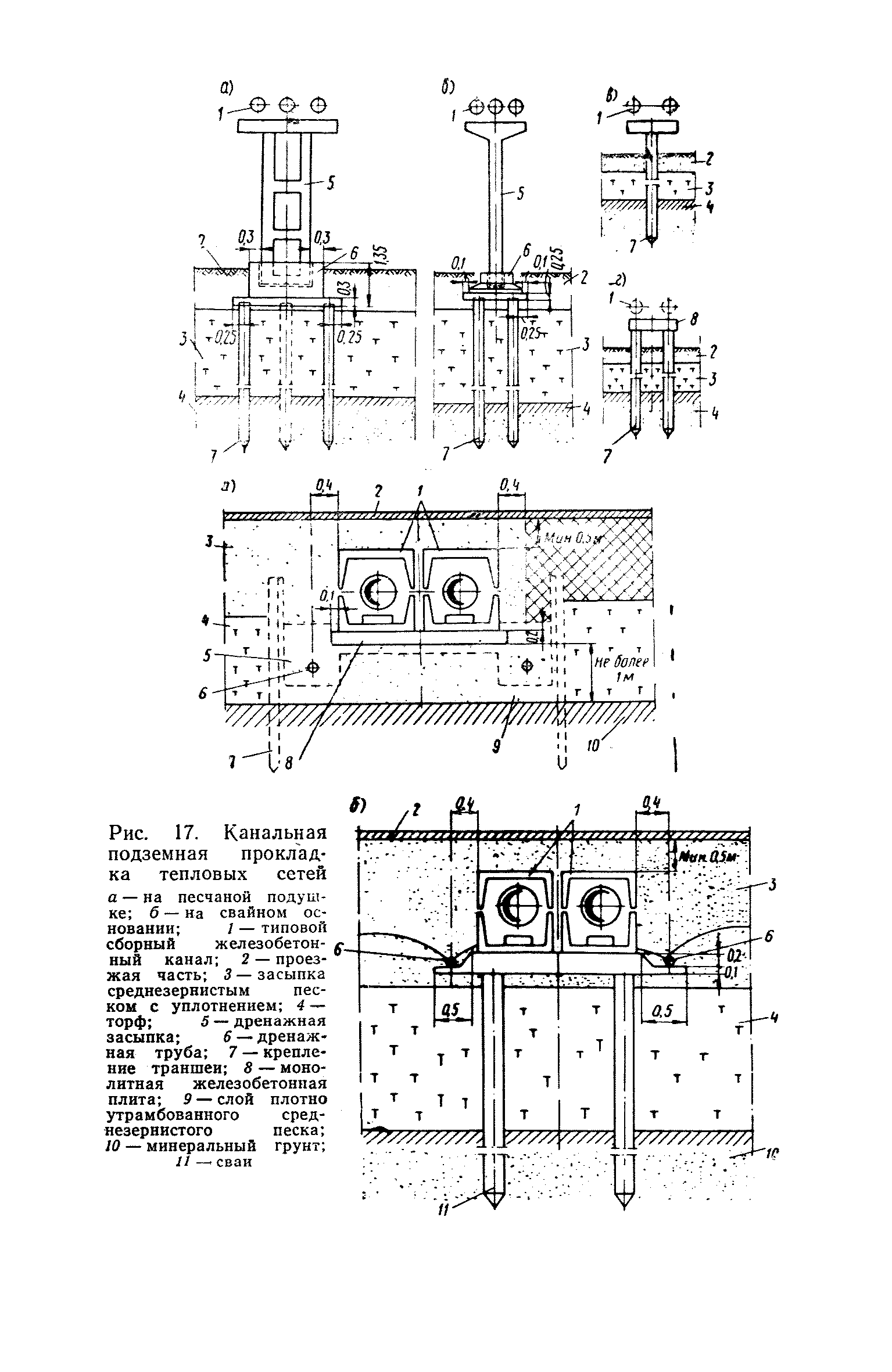
| Оглавление: | 1. Общие положения 2. Физико-механические свойства грунтов 3. Размещение инженерных подземных коммуникаций Основные требования Размещение инженерных коммуникаций в районах новой застройки Размещение инженерных коммуникаций в реконструируемых районах Горизонтальные расстояния между инженерными сетями 4. Нагрузки на трубы и коллекторы Основные положения Расчетные нагрузки от давления грунта Расчетные нагрузки от воздействия транспорта и равномерно распределенной нагрузки на поверхности засыпки 5. Конструкции оснований инженерных коммуникаций водоснабжения и канализации Мероприятия по защите подземных коммуникаций от повреждений при деформациях торфа Конструкции оснований инженерных коммуникаций Проектирование свайных фундаментов подземных трубопроводов 6. Крепление траншей 7. Особенности прокладки отдельных видов инженерных коммуникаций Водостоки Дренажи Газопроводы Тепловые сети Трассы радио- и телефонных кабелей 8. Стыковые соединения труб 9. Защита от гниения деревянных элементов в конструкциях подземных коммуникаций 10. Антикоррозионная защита строительных конструкций 11. Особенности забивки свай вблизи фундаментов существующих зданий Приложение 1. Краткие сведения о геологических условиях г. Архангельска Приложение 2. Зависимость относительной деформации торфов от давления и степени разложения в процентах при компрессионных испытаниях Приложение 3. Рекомендуемые типы конструкций устройства Приложение 4. Рекомендуемые типы креплений траншей Приложение 5. Рекомендуемые типы стыковых соединений труб |
| Разработан: | ВНИИ ВОДГЕО Госстроя СССР |
| Утверждён: | ВНИИ ВОДГЕО Госстроя СССР (VNII VODGEO, USSR Gosstroy ) |
| Издан: | Издательство литературы по строительству (1972 г. ) |
| Нормативные ссылки: |
|





























































