Скачать ГОСТ 33011-2014 Котлы газовые центрального отопления. Котлы типа С с номинальной теплопроизводительностью более 70 кВт, но не более 1000 кВт. Классификация, требования, методы испытаний и маркировкаДата актуализации: 01.01.2021
|
| Обозначение: | ГОСТ 33011-2014 |
| Обозначение англ: | GOST 33011-2014 |
| Статус: | введен впервые |
| Название рус.: | Котлы газовые центрального отопления. Котлы типа С с номинальной теплопроизводительностью более 70 кВт, но не более 1000 кВт. Классификация, требования, методы испытаний и маркировка |
| Название англ.: | Gas-fired central heating boilers. Type C boilers of nominal heat input exceeding 70 kW, but not exceeding 1000 Kw. Classification, requirements, test methods and marking |
| Дата добавления в базу: | 12.02.2016 |
| Дата актуализации: | 01.01.2021 |
| Дата введения: | 01.01.2016 |
| Область применения: | Стандарт определяет конструктивные и эксплуатационные требования, требования безопасности, методы испытаний, требования к маркировке, а также классификацию котлов газовых центрального отопления (далее - котлы), оснащенных атмосферными горелками (с вентиляторами или без вентиляторов) или горелками с полным предварительным смешением. Стандарт распространяется на котлы типа C, рассчитанные на подключение к замкнутым или открытым системам отопления: - которые работают с одним или несколькими горючими газами трех семейств при значениях давления, указанных в таблицах 14 и 15; - которые рассчитаны на номинальную теплопроизводительность более 70 кВт, но не более чем 1000 кВт (включая комбинированные котлы); - у которых в стандартных эксплуатационных условиях температура жидкого теплоносителя не превышает 105 °C; - у которых максимальное рабочее давление в водяном контуре не превышает 0,6 МПа; - у которых в определенных условиях возможно образование конденсата. Стандарт не распространяется на котлы: - которые рассчитаны на установку на открытом воздухе или в жилых помещениях; - которые оснащены двумя и более вытяжными патрубками; - которые принадлежат к типу «конденсационный котел»; - которые должны подключаться к общей системе отвода продуктов сгорания с механическим отводом; - которые относятся к типам C21, C41, C51, C61, C71 и C81; - которые оснащены газовыми автоматическими горелками с принудительной подачей воздуха; - которые производят горячую воду для санитарно-технических нужд. |
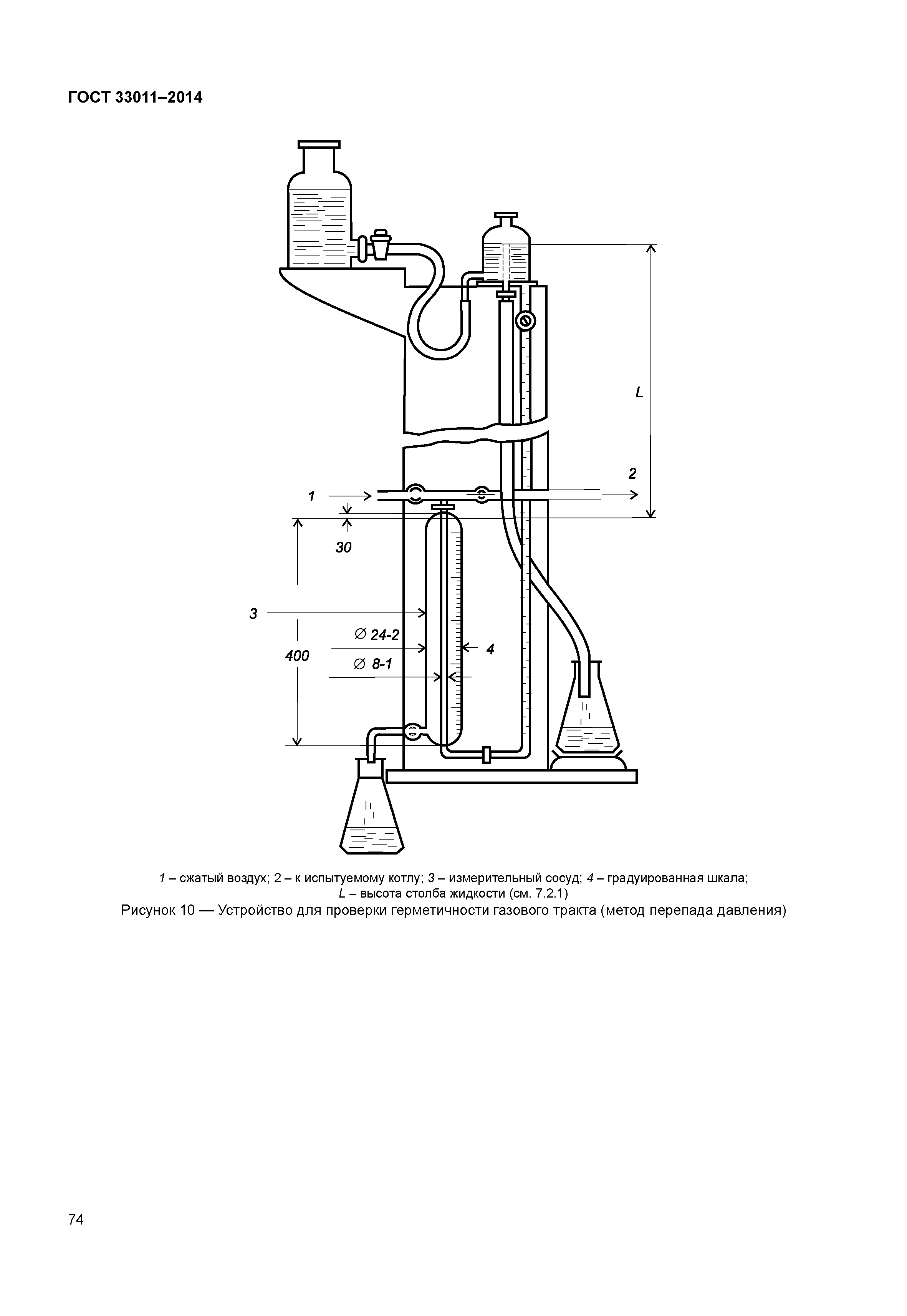
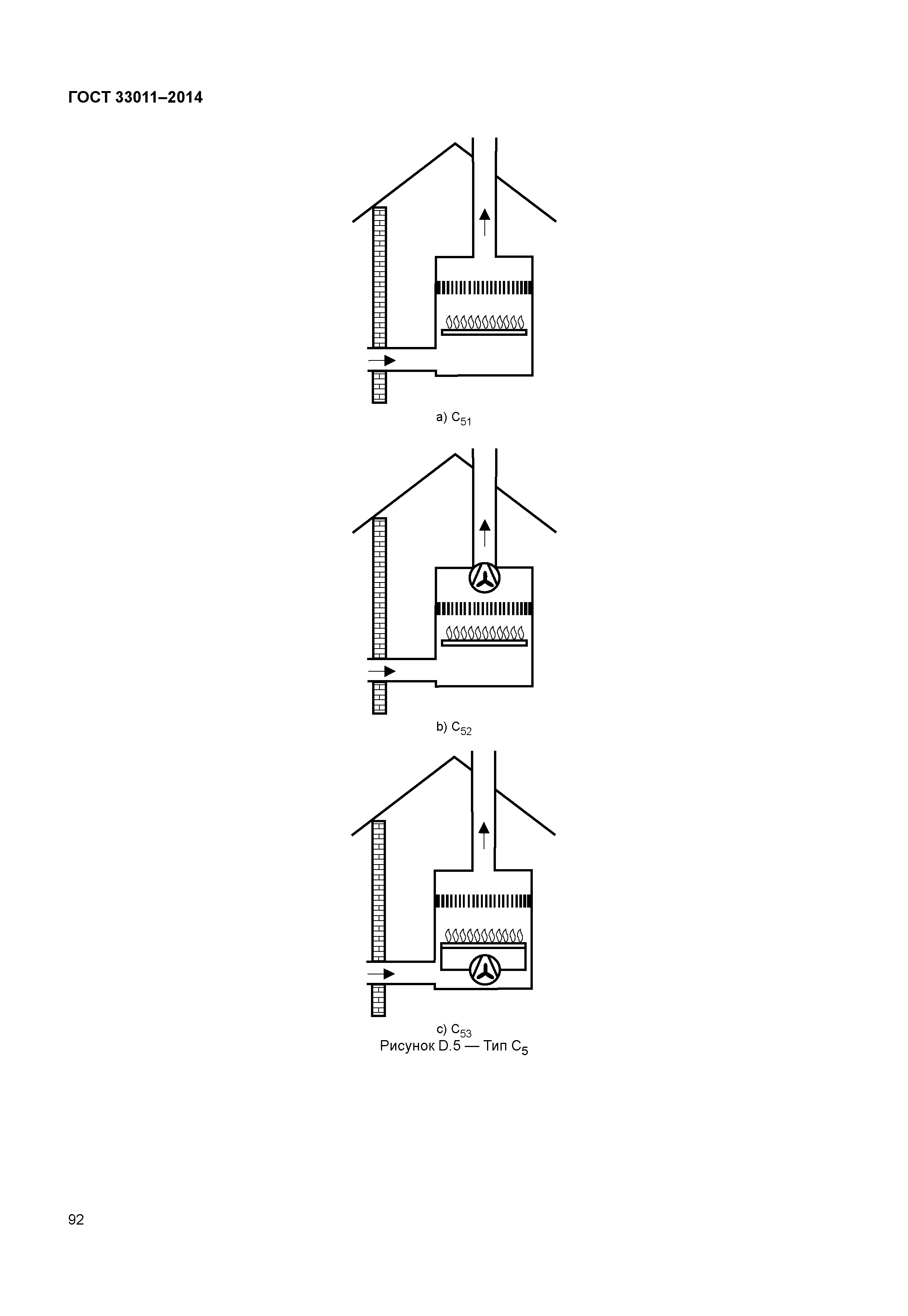
| Оглавление: | 1 Область применения 2 Нормативные ссылки 3 Термины и определения 3.1 Горючие газы 3.2 Компоненты котла 3.3 Эксплуатация котла 3.4 Вспомогательная энергия 3.5 Страна назначения 4 Классификация котлов 4.1 Газы и категории 4.2 Способ подачи воздуха для горения и отвода продуктов сгорания 4.3 Классификация котлов в зависимости от условий эксплуатации 4.4 Модульные котлы 5 Требования к конструкции 5.1 Общие сведения 5.2 Перевод котла на другой газ 5.3 Материалы и методы изготовления 5.4 Трубопровод отвода продуктов сгорания 5.5 Конструкция 5.6 Эксплуатация и техническое обслуживание 5.7 Подключение к газовой и водопроводной сети 5.8 Герметичность 5.9 Подача воздуха для горения и отвод продуктов сгорания 5.10 Контроль режима работы 5.11 Слив 5.12 Электрооборудование 5.13 Эксплуатационная надежность при отказе подачи резервного питания 5.14 Требования к устройствам настройки, регулирования, управления и безопасности 5.15 Горелки 5.16 Штуцеры для измерения давления 5.17 Химический состав конденсата 6 Эксплуатационные требования 6.1 Общие сведения 6.2 Герметичность 6.3 Подводимая тепловая мощность и теплопроизводительность 6.4 Безопасность эксплуатации 6.5 Устройства предварительной настройки, регулирования и безопасности 6.6 Горение 6.7 КПД 6.8 Конденсация в продуктах сгорания 6.9 Прочность 6.10 Гидравлическое сопротивление в водяном контуре 6.11 Конденсация в котле 6.12 Регулирующие заслонки в контуре подачи воздуха и отвода продуктов сгорания 7 Методы испытаний 7.1 Общие сведения 7.2 Герметичность 7.3 Подводимые тепловые мощности и теплопроизводительность 7.4 Безопасность эксплуатации 7.5 Устройства регулирования, управления и безопасности 7.6 Горение 7.7 КПД 7.8 Конденсация в дымоходе 7.9 Прочность 7.10 Гидравлическое сопротивление в водяном контуре 7.11 Конденсация в котле 7.12 Регулирующие заслонки в контуре подачи воздуха и отвода продуктов сгорания 8 Маркировка и инструкции 8.1 Маркировка котла 8.2 Инструкции 8.3 Редакционное предложение Приложение А (справочное) Национальные условия Приложение В (справочное) Особые национальные условия Приложение С (справочное) Отклонения "А" от стандарта Приложение D (справочное) Классификация котлов типа С Приложение Е (справочное) Метод калибровки испытательного стенда для определения потерь тепла Dp Приложение F (справочное) Основные применяемые обозначения параметров Приложение G (справочное) Сводная таблица условий испытаний Приложение Н (справочное) Оборудование газового тракта клапанами Приложение I (справочное) Определение потерь тепла испытательного стенда для косвенного метода определения КПД и дополнительного подвода тепла от циркуляционного насоса испытательного стенда Приложение J (справочное) Определение времени работы котла при зажигании с полной нагрузкой Приложение К (справочное) Пример вычисления нагрузочных коэффициентов для котла с несколькими значениями тепловой мощности Приложение L (справочное) Соотношения между единицами измерений содержания NOx Приложение М (обязательное) Испытательный стенд для котлов типа С2 Приложение N (справочное) Требования и методы испытаний для раздельных трубопроводов подачи воздуха для горения/отвода продуктов сгорания в котлах типа С6 Приложение О (справочное) Применение испытательных газов Библиография |
| Разработан: | ФГУП ВНИИНМАШ ООО СИЦ ЭТИГАЗ |
| Утверждён: | 20.10.2014 Межгосударственный Совет по стандартизации, метрологии и сертификации (Inter-Governmental Council on Standardization, Metrology, and Certification 71-П) 09.06.2015 Федеральное агентство по техническому регулированию и метрологии (585-ст) |
| Издан: | Стандартинформ (2015 г. ) |
| Список изменений: |
|
| Нормативные ссылки: |
|























































































































Текстовое изменение Поправка от 18.02.2019