Скачать ГОСТ Р 56790-2015 Композиты полимерные. Метод определения прочности на смятие и трансферной прочности ламинатов, соединенных двумя болтамиДата актуализации: 01.01.2021
|
| Обозначение: | ГОСТ Р 56790-2015 |
| Обозначение англ: | GOST R 56790-2015 |
| Статус: | введен впервые |
| Название рус.: | Композиты полимерные. Метод определения прочности на смятие и трансферной прочности ламинатов, соединенных двумя болтами |
| Название англ.: | Polymer composites. Method for determination of bearing strength and bypass strength of laminates connected to one another by two bolts |
| Дата добавления в базу: | 01.02.2017 |
| Дата актуализации: | 01.01.2021 |
| Дата введения: | 01.01.2017 |
| Область применения: | Стандарт распространяется на полимерные композиты, армированные высокомодульными волокнами, и устанавливает методы определения прочности на смятие и трансферной прочности ламинатов, соединенных двумя болтами, при испытании на двойное смятие при растяжении или сжатии (методы А и В) или на одинарное смятие при растяжении или сжатии (метод Б). |
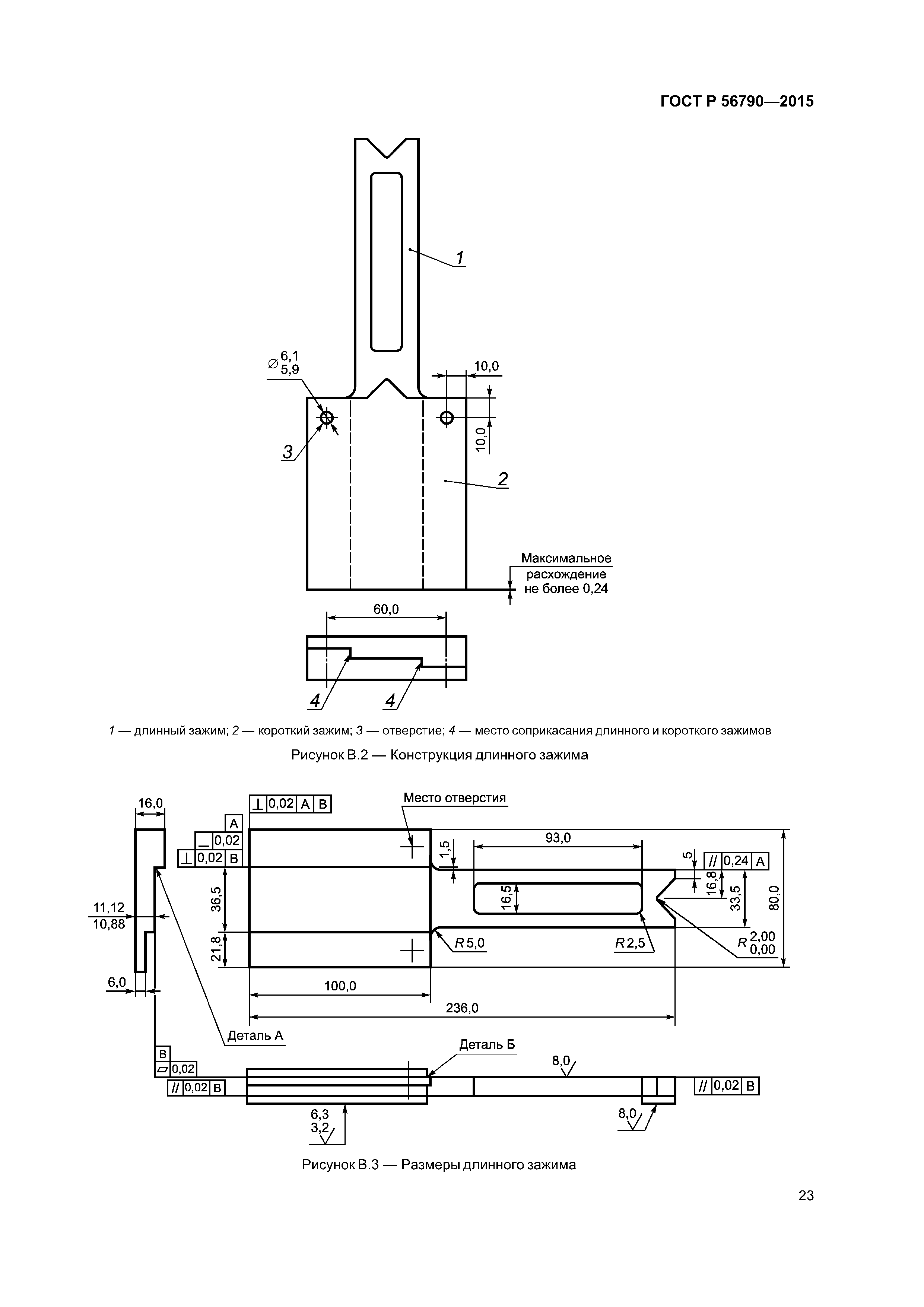
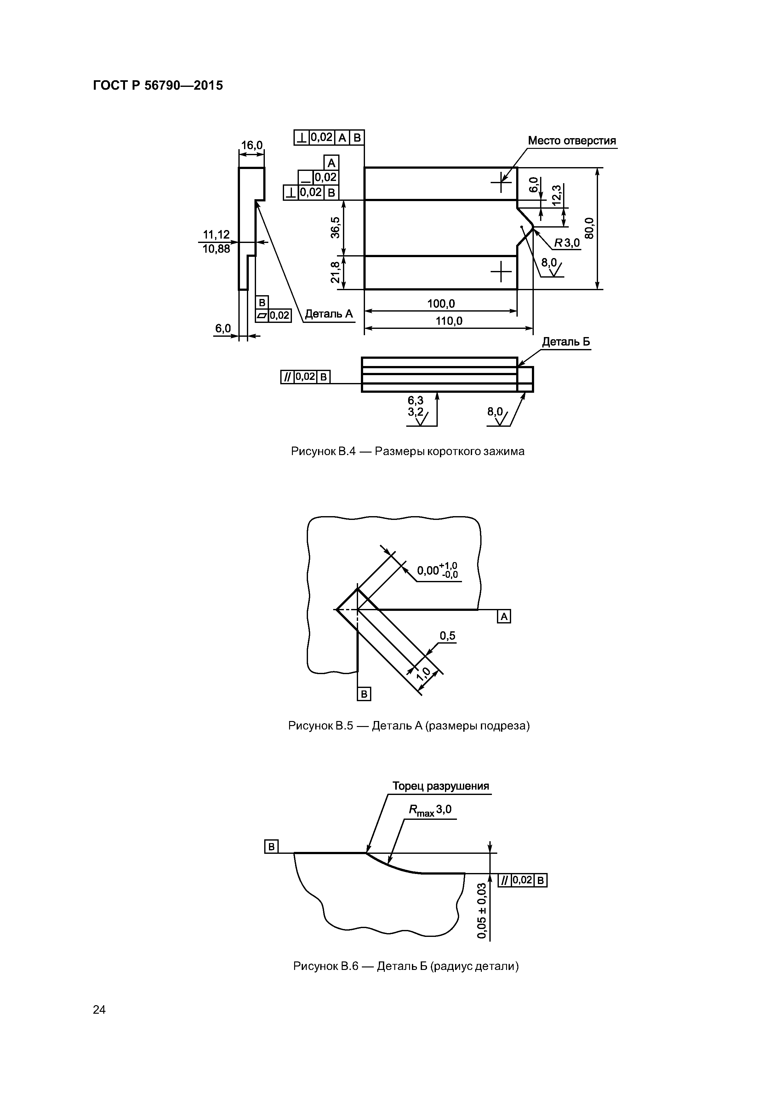
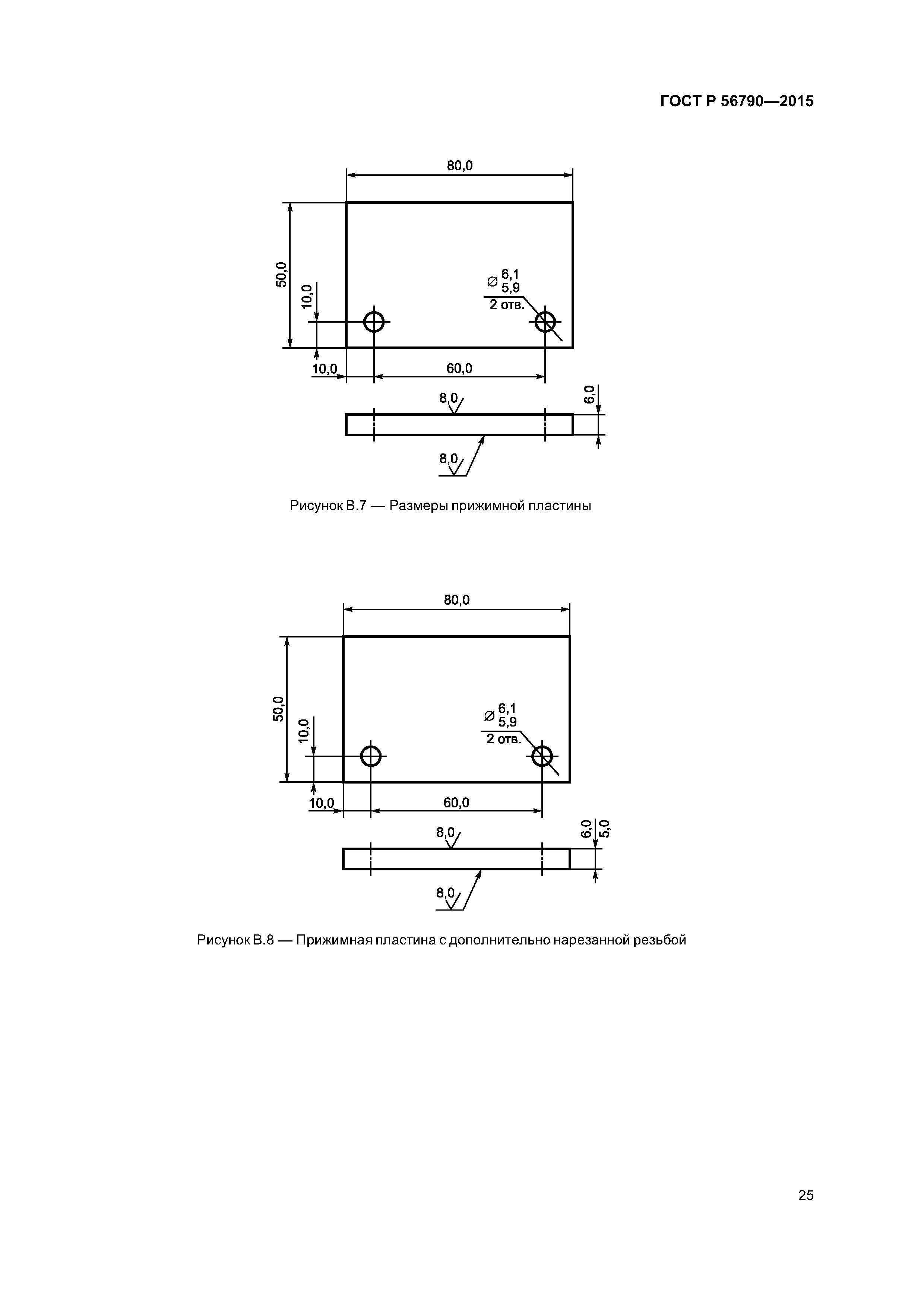
| Оглавление: | 1 Область применения 2 Нормативные ссылки 3 Термины и определения 4 Сущность метода 5 Оборудование 6 Подготовка к проведению испытаний 7 Проведение испытаний 8 Обработка результатов измерений 9 Протокол испытаний Приложение А (рекомендуемое) Приспособление для испытаний по методу А Приложение Б (рекомендуемое) Приспособление для испытания по методу В Приложение В (рекомендуемое) Приспособление для испытания на сжатие (методы Б и В) Приложение Г (рекомендуемое) Примеры разрушений Приложение ДА (справочное) Сопоставление структуры настоящего стандарта со структурой примененного в нем стандарта АСТМ |
| Разработан: | Объединение юридических лиц Союз производителей композитов ОАО НПО Стеклопластик ТК 497 |
| Утверждён: | 27.11.2015 Федеральное агентство по техническому регулированию и метрологии (2047-ст) |
| Издан: | Стандартинформ (2016 г. ) |
| Нормативные ссылки: |
|


































