Скачать ГОСТ 33666-2015 Автомобильные транспортные средства для транспортирования и заправки нефтепродуктов. Технические требованияДата актуализации: 01.01.2021 ГОСТ 33666-2015
Автомобильные транспортные средства для транспортирования и заправки нефтепродуктов. Технические требования| Обозначение: | ГОСТ 33666-2015 | | Обозначение англ: | GOST 33666-2015 | | Статус: | введен впервые | | Название рус.: | Автомобильные транспортные средства для транспортирования и заправки нефтепродуктов. Технические требования | | Название англ.: | Road vehicles for transportation and fueling of petroleum products. Technical requirements | | Дата добавления в базу: | 01.02.2017 | | Дата актуализации: | 01.01.2021 | | Дата введения: | 01.04.2017 | | Область применения: | Стандарт распространяется на автомобильные транспортные средства (далее - АТС), предназначенные для заправки и транспортирования нефтепродуктов (далее - автоцистерны).
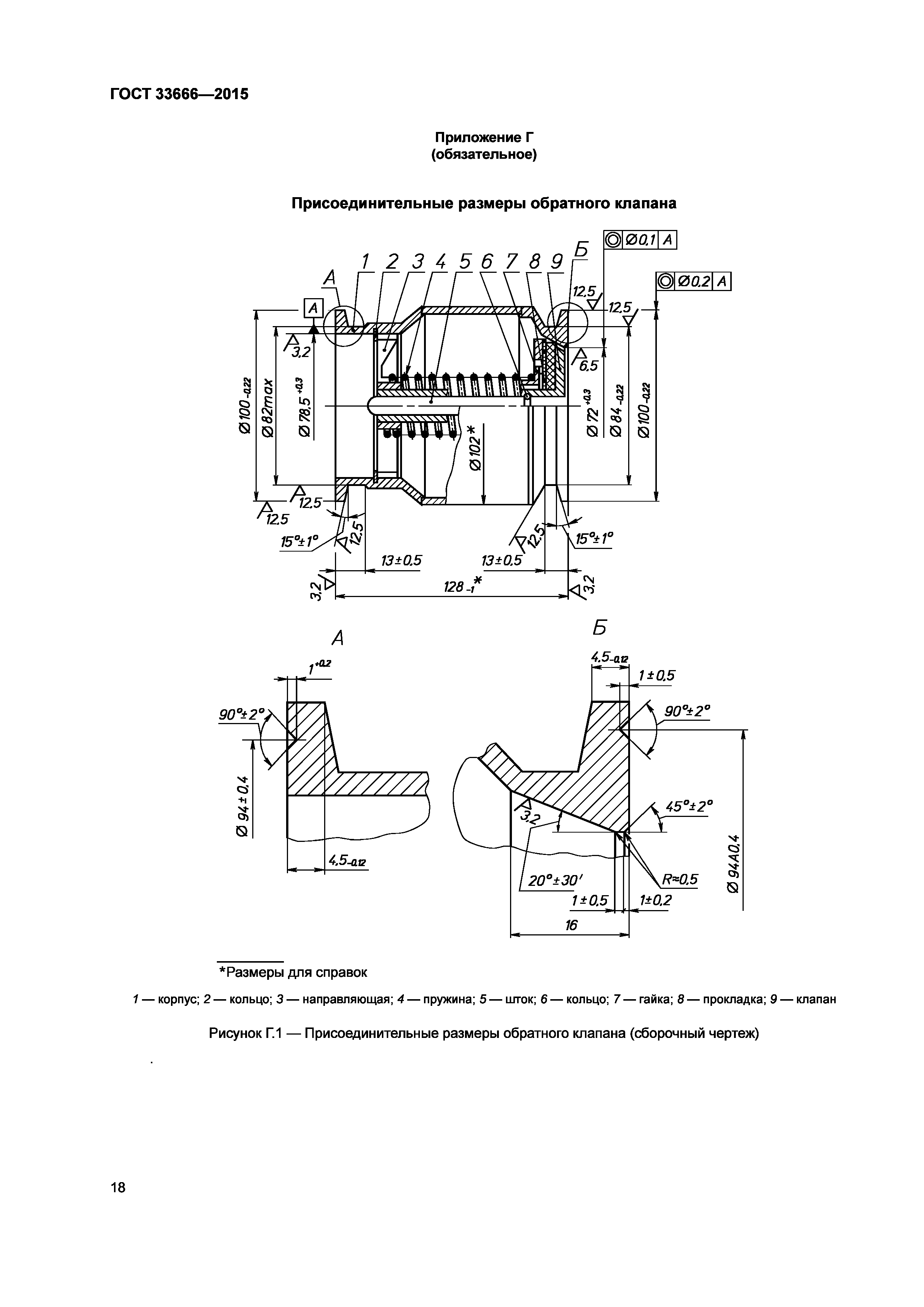
Стандарт не распространяется на автоцистерны, предназначенные для транспортирования сжатых и сжиженных газов и специальных жидкостей, и автотопливозаправщики для наземного обслуживания летательных аппаратов (самолетов и вертолетов) и водного транспорта, а также на передвижные автозаправочные станции для розничной торговли нефтепродуктами. | | Оглавление: | 1 Область применения 2 Нормативные ссылки 3 Термины и определения 4 Типы и основные параметры 5 Общие технические требования 5.1 Характеристики (свойства) 5.2 Требования к материалам и покупным изделиям 5.3 Комплектность 5.4 Маркировка 6 Требования безопасности 7 Указания по эксплуатации Приложение А (рекомендуемое) Принципиальная гидравлическая схема ограничителя наполнения Приложение Б (рекомендуемое) Присоединительные размеры ограничителя наполнения Приложение В (обязательное) Схема подключения контактов розетки сигнализатора верхнего уровня налива Приложение Г (обязательное) Присоединительные размеры обратного клапана Приложение Д (рекомендуемое) Технологическая схема автоцистерны Библиография | | Разработан: | ФГУП НАМИ
| | Утверждён: | 10.12.2015 Межгосударственный Совет по стандартизации, метрологии и сертификации (Inter-Governmental Council on Standardization, Metrology, and Certification 48) 22.06.2016 Федеральное агентство по техническому регулированию и метрологии (657-ст)
| | Издан: | Стандартинформ (2016 г. )
| | Список изменений: | | | Нормативные ссылки: |   ГОСТ 15150-69 «Машины, приборы и другие технические изделия. Исполнения для различных климатических районов. Категории, условия эксплуатации, хранения и транспортирования в части воздействия климатических факторов внешней среды»  ГОСТ 1510-84 «Нефть и нефтепродукты. Маркировка, упаковка, транспортирование и хранение»  ГОСТ 12969-67 «Таблички для машин и приборов. Технические требования»  ГОСТ 12971-67 «Таблички прямоугольные для машин и приборов. Размеры»  ГОСТ 19034-82 «Трубки из поливинилхлоридного пластиката. Технические условия»  ГОСТ 19433-88 «Грузы опасные. Классификация и маркировка»  ГОСТ 20772-81 «Устройства присоединительные для технических средств заправки, перекачки, слива-налива, транспортирования и хранения нефти и нефтепродуктов. Типы. Основные параметры и размеры. Общие технические требования» ГОСТ 21130-75 «Изделия электротехнические. Зажимы заземляющие и знаки заземления. Конструкция и размеры» ГОСТ 23544-84 «Жгуты проводов для автотракторного электрооборудования. Общие технические условия» ГОСТ 25560-82 «Устройства дыхательные цистерн для нефтепродуктов. Технические условия» ГОСТ 26098-84 «Нефтепродукты. Термины и определения»  ГОСТ 8769-75 «Приборы внешние световые автомобилей, автобусов, троллейбусов, тракторов, прицепов и полуприцепов. Количество, расположение, цвет, углы видимости» ГОСТ 9200-76 «Соединения семиконтактные разъемные для автомобилей и тракторов»  ГОСТ Р 52280-2004 «Автомобили грузовые. Общие технические требования»  ГОСТ Р 52281-2004 «Прицепы и полуприцепы автомобильные. Общие технические требования»  ГОСТ Р 52290-2004 «Технические средства организации дорожного движения. Знаки дорожные. Общие технические требования»  ГОСТ 8.600-2011 «Государственная система обеспечения единства измерений. Автоцистерны для жидких нефтепродуктов. Методика поверки»  ГОСТ 2517-2012 «Нефть и нефтепродукты. Методы отбора проб»  ГОСТ 2.601-2013 «Единая система конструкторской документации. Эксплуатационные документы»
|
                         
Текстовое изменение Поправка от 12.02.2020
|