State system for ensuring the uniformity of measurements. Vehicle tanks for oil product liquids. Methods of verification

МЕЖГОСУДАРСТВЕННЫЙ СОВЕТ ПО СТАНДАРТИЗАЦИИ, МЕТРОЛОГИИ И СЕРТИФИКАЦИИ

(МГС)

INTERSTATE COUNCIL FOR STANDARDIZATION, METROLOGY AND CERTIFICATION

(ISC)

МЕЖГОСУДАРСТВЕННЫЙ
СТАНДАРТ

ГОСТ
8.600-2011

Государственная система обеспечения единства
измерений

АВТОЦИСТЕРНЫ ДЛЯ ЖИДКИХ
НЕФТЕПРОДУКТОВ

Методика поверки

Москва

Стандартинформ

2012

Предисловие

Цели, основные принципы и основной порядок проведения работ по межгосударственной стандартизации установлены ГОСТ 1.0-92 «Межгосударственная система стандартизации. Основные положения» и ГОСТ 1.2-2009 «Межгосударственная система стандартизации. Стандарты межгосударственные, правила и рекомендации по межгосударственной стандартизации. Порядок разработки, принятия, применения, обновления и отмены»

Сведения о стандарте

1 РАЗРАБОТАН Федеральным государственным унитарным предприятием Всероссийским научно-исследовательским институтом расходометрии (ФГУП ВНИИР)

2 ВНЕСЕН Федеральным агентством по техническому регулированию и метрологии

3 ПРИНЯТ Межгосударственным советом по стандартизации, метрологии и сертификации (протокол № 40-2011 от 29 ноября 2011 г.)

За принятие проголосовали:

Краткое наименование страны по MK (ИСО 3166) 004-97

Код страны по MK (ИСО 3166) 004-97

Сокращенное наименование национального органа по стандартизации

Азербайджан

AZ

Азстандарт

Армения

AM

Минэкономики Республики Армения

Беларусь

BY

Госстандарт Республики Беларусь

Казахстан

KZ

Госстандарт Республики Казахстан

Кыргызстан

KG

Кыргызстандарт

Молдова

MD

Молдова-Стандарт

Российская Федерация

RU

Росстандарт

Таджикистан

TJ

Таджикстандарт

Узбекистан

UZ

Узстандарт

(Поправка).

4 Приказом Федерального агентства по техническому регулированию и метрологии от 13 декабря 2011 г. № 1060-ст межгосударственный стандарт ГОСТ 8.600-2011 введен в действие в качестве национального стандарта Российской Федерации с 1 января 2013 г.

5 ВВЕДЕН ВПЕРВЫЕ

Информация о введении в действие (прекращении действия) настоящего стандарта публикуется в ежемесячно издаваемом указателе «Национальные стандарты».

Информация об изменениях к настоящему стандарту публикуется в ежегодно издаваемом информационном указателе «Национальные стандарты». В случае пересмотра или отмены настоящего стандарта соответствующая информация будет опубликована в информационном указателе «Национальные стандарты»

СОДЕРЖАНИЕ

1 Область применения. 3

2 Нормативные ссылки. 3

3 Термины и определения. 4

4 Требования к нормам погрешности измерений, безопасности и к квалификации поверителей. 5

4.1 Требования к нормам погрешности измерений. 5

4.2 Требования безопасности. 5

4.3 Требования к квалификации поверителей. 6

5 Операции поверки. 6

6 Средства поверки. 6

7 Условия поверки и подготовка к ней. 7

8 Проведение поверки. 8

8.1 Внешний осмотр. 8

8.2 Измерение вместимости ТМ объемным методом с применением мерников. 9

8.3 Измерение вместимости ТМ объемным методом с применением счетчиков жидкости. 10

8.4 Измерение вместимости ТМ массовым методом - взвешиванием ТМ на весах. 12

8.5 Измерение вместимости ТМ массовым методом - взвешиванием вспомогательной тары при сливе поверочной жидкости из ТМ во вспомогательную тару. 13

8.6 Измерение вместимости ТМ массовым методом - взвешиванием вспомогательной тары при сливе поверочной жидкости из вспомогательной тары в ТМ... 14

8.7 Проверка работоспособности воздухоотводящего устройства. 15

8.8 Проверка полноты слива жидкости самотеком из ТМ... 16

8.9 Проверка работоспособности ограничителя наполнения ТМ и системы отключения подачи жидкости в ТМ (при наличии) 16

9 Оформление результатов поверки. 17

Приложение А (обязательное) Основные технические и метрологические требования к горловине ТМ... 17

Приложение Б (рекомендуемое) Измерение вместимости ТМ объемным методом.. 19

Приложение В (обязательное) Форма протокола поверки с применением мерников. 20

Приложение Г (справочное) Значения коэффициентов Nт, No, учитывающих объемные расширения ТМ и эталонных мерников в зависимости от температуры.. 20

Приложение Д (рекомендуемое) Определение расхода поверочной жидкости. 21

Приложение Е (обязательное) Форма протокола поверки ТМ с применением счетчиков жидкости. 22

Приложение Ж (обязательное) Форма протокола поверки ТМ взвешиванием ТМ на весах. 23

Приложение И (обязательное) Значения коэффициента А и пример расчета вместимости ТМ... 23

Приложение К (рекомендуемое) Измерение вместимости ТМ массовым методом.. 24

Приложение Л (обязательное) Форма протокола поверки ТМ взвешиванием ТМ на весах. 24

Приложение М (рекомендуемое) Форма свидетельства о поверке ТМ... 25

Библиография. 26

ГОСТ 8.600-2011

МЕЖГОСУДАРСТВЕННЫЙ СТАНДАРТ

Государственная система обеспечения единства измерений

АВТОЦИСТЕРНЫ ДЛЯ ЖИДКИХ НЕФТЕПРОДУКТОВ

Методика поверки

State system for ensuring the uniformity of measurements. Vehicle tanks for oil product
liquids. Verification procedure

Дата введения - 2013-01-01

1 Область применения

Настоящий стандарт распространяется на автоцистерны, прицепы-цистерны и полуприцепы-цистерны для жидких1) нефтепродуктов по ГОСТ 26098, являющиеся транспортными мерами полной вместимости (далее - ТМ) и служащие для измерения объема нефтепродуктов с погрешностью, не превышающей значения, указанного в эксплуатационной документации на ТМ, и устанавливает методику их поверки.

________

1) При плюсовых и минусовых температурах.

2 Нормативные ссылки

В настоящем стандарте использованы нормативные ссылки на следующие межгосударственные стандарты:

ГОСТ 8.400-80 Государственная система обеспечения единства измерений. Мерники металлические образцовые. Методика поверки

ГОСТ 12.0.004-90 Система стандартов безопасности труда. Организация обучения безопасности труда. Общие положения

ГОСТ 12.1.005-88 Система стандартов безопасности труда. Общие санитарно-гигиенические требования к воздуху рабочей зоны

ГОСТ 12.4.099-80 Комбинезоны женские для защиты от нетоксичной пыли, механических воздействий и общих производственных загрязнений. Технические условия

ГОСТ 12.4.100-80 Комбинезоны мужские для защиты от нетоксичной пыли, механических воздействий и общих производственных загрязнений. Технические условия

ГОСТ 12.4.131-83 Халаты женские. Технические условия

ГОСТ 12.4.132-83 Халаты мужские. Технические условия

ГОСТ 1770-74 Посуда мерная лабораторная стеклянная. Цилиндры, мензурки, колбы, пробирки. Общие технические условия

ГОСТ 2761-84 Источники централизованного хозяйственно-питьевого водоснабжения. Гигиенические, технические требования и правила выбора

ГОСТ 2874-822) Вода питьевая. Гигиенические требования и контроль за качеством

_________

2) На территории Российской Федерации действует ГОСТ Р 51232-98.

ГОСТ 9392-89 Уровни рамные и брусковые. Технические условия

ГОСТ 10528-90 Нивелиры. Общие технические условия

ГОСТ 13844-68 Мерники металлические технические. Методы и средства поверки

ГОСТ 25570-82 Крышки люков цистерн для нефтепродуктов. Типы, основные параметры и размеры

ГОСТ 26098-84 Нефтепродукты. Термины и определения

ГОСТ 28066-89 Счетчики жидкости камерные ГСП. Общие технические условия

ГОСТ 28498-90 Термометры жидкостные стеклянные. Общие технические требования. Методы испытаний

ГОСТ 29329-921) Весы для статического взвешивания. Общие технические требования

________

1) На территории Российской Федерации действует ГОСТ Р 53228-2008.

Примечание - При пользовании настоящим стандартом целесообразно проверить действие ссылочных нормативных документов в информационной системе общего пользования - на официальном сайте Федерального агентства по техническому регулированию и метрологии в сети Интернет или по ежегодно издаваемому информационному указателю «Национальные стандарты», который опубликован по состоянию на 1 января текущего года, и по соответствующим ежемесячно издаваемым информационным указателям, опубликованным в текущем году. Если ссылочный документ заменен (изменен), то при пользовании настоящим стандартом следует руководствоваться заменяющим (измененным) документом. Если ссылочный документ отменен без замены, то положение, в котором дана ссылка на него, применяется в части, не затрагивающей эту ссылку.

3 Термины и определения

В настоящем стандарте применены следующие термины с соответствующими определениями.

3.1 вместимость ТМ: Внутренний объем ТМ, который может быть наполнен нефтепродуктом до уровня, соответствующего указателю уровня налива, установленному в горловине ТМ.

3.2 номинальная вместимость ТМ: Вместимость ТМ, установленная при ее проектировании нормативными документами для ТМ данного типа и указанная на маркировочной табличке ТМ.

3.3 действительная вместимость ТМ, установленная при поверке: Вместимость ТМ, установленная по результатам первичной или периодической поверки.

3.4 действительная вместимость ТМ, указанная на маркировочной табличке ТМ: Вместимость ТМ, установленная по результатам первичной или периодической поверки и указанная в свидетельстве о поверке и на маркировочной табличке ТМ2) (табличке вместимости, укрепленной на горловине ТМ, находящихся в эксплуатации).

________

2) На территории Российской Федерации действует ГОСТ Р 50913-96.

3.5 объемный метод измерения вместимости ТМ: Метод, основанный на результатах измерения объема поверочной жидкости с применением мер вместимости (мерников) или счетчиков жидкости.

3.6 поверочная жидкость: Жидкость, применяемая при поверке ТМ.

Примечания

1 В качестве поверочной жидкости применяют воду по ГОСТ 2761.

2 Качественные показатели воды должны соответствовать требованию ГОСТ 2874.

3.7 массовый метод измерения вместимости ТМ взвешиванием ТМ на весах: Метод, основанный на результатах взвешивания на весах ТМ, наполненной поверочной жидкостью до указателя уровня налива, и ненаполненной ТМ.

3.8 массовый метод измерения вместимости ТМ взвешиванием вспомогательной тары при сливе поверочной жидкости из ТМ во вспомогательную тару: Метод, основанный на результатах взвешивания вспомогательной тары с поверочной жидкостью, слитой из ТМ, наполненной поверочной жидкостью до указателя уровня налива, во вспомогательную тару отдельными дозами, и ненаполненной вспомогательной тары.

3.9 массовый метод измерения вместимости ТМ взвешиванием вспомогательной тары при сливе поверочной жидкости из вспомогательной тары в ТМ: Метод, основанный на результатах взвешивания вспомогательной тары с поверочной жидкостью, наливаемой после взвешивания в ТМ отдельными дозами до указателя уровня налива, и ненаполненной вспомогательной тары.

3.10 рабочая зона: Пространство, ограниченное по высоте 2 м над уровнем пола или площадки, на которой находится место постоянного или непостоянного (временного) пребывания поверителей при поверке ТМ.

3.11 относительная погрешность ТМ: Погрешность ТМ, выраженная отношением абсолютной разности между значением действительной вместимости ТМ, установленным при поверке, и значением действительной вместимости ТМ, указанным в свидетельстве о поверке и на маркировочной табличке ТМ, умноженным на 100, к значению действительной вместимости ТМ, установленному при поверке.

4 Требования к нормам погрешности измерений, безопасности и к квалификации поверителей

4.1 Требования к нормам погрешности измерений

4.1.1 При поверке ТМ определяют ее действительную вместимость.

4.1.2 Разность между номинальной вместимостью ТМ и ее действительной вместимостью, установленной при поверке, должна находиться в пределах, %:

±3,0 - для ТМ номинальной вместимостью до 2 м3;

±2,5       »       »        »                           »            от 2 до 5 м3;

±2,0       »       »        »                           »            от 5 до 10 м3;

±1,5       »       »        »                           »            более 10 м3.

Примечание - При отсутствии данных о номинальной вместимости секции ТМ за номинальную вместимость секции принимают действительную вместимость секции, установленную при первичной поверке ТМ.

4.1.3 Вместимость ТМ при первичной поверке измеряют два раза. За значение действительной вместимости ТМ принимают среднеарифметическое значение результатов двух измерений, округленное до 1 дм3. При этом расхождение между результатами двух измерений не должно превышать ±0,1 % номинальной вместимости ТМ.

При невыполнении этого условия проводят третье измерение вместимости ТМ и определяют среднеарифметическое значение результатов двух измерений, разность между которыми не превышает ±0,1 % номинальной вместимости ТМ.

4.1.4 Вместимость ТМ при периодической поверке измеряют один раз. При этом значение относительной погрешности ТМ должно находиться в пределах ±0,4 %.

При невыполнении этого требования должно быть определено новое значение действительной вместимости ТМ в соответствии с 4.1.3.

4.1.5 Основные технические и метрологические требования к горловине ТМ приведены в приложении А.

4.2 Требования безопасности

4.2.1 К поверке допускают лиц, изучивших описание и инструкции по эксплуатации ТМ, средств измерений, применяемых при поверке ТМ, а также прошедших обучение и инструктаж по технике безопасности труда в соответствии с ГОСТ 12.0.004.

4.2.2 Поверители должны быть в спецодежде: мужчины - в халате по ГОСТ 12.4.132 или комбинезоне по ГОСТ 12.4.100, а женщины - в халате по ГОСТ 12.4.131 или комбинезоне по ГОСТ 12.4.099.

4.2.3 Перед началом поверки ТМ проверяют исправность:

- лестниц или подножек и площадок обслуживания;

- заземления ТМ.

4.2.4 Содержание паров нефтепродуктов в воздухе рабочей зоны не должно быть более предельно допускаемой концентрации (ПДК) их по ГОСТ 12.1.005.

4.3 Требования к квалификации поверителей

4.3.1 ТМ подлежат поверке организациями национальной (государственной) метрологической службы1) или аккредитованными на право поверки метрологическими службами юридических лиц.

________

1) На территории Российской Федерации орган государственной метрологической службы проходит аккредитацию на право поверки ТМ.

4.3.2 Поверку проводит физическое лицо, аттестованное в качестве поверителя в установленном порядке.

5 Операции поверки

5.1 Вместимость ТМ при поверке измеряют объемным или массовым методом.

5.2 При поверке должны быть выполнены операции, указанные в таблице 1.

Таблица 1 - Операции поверки

Наименование операции и номер пункта настоящего стандарта

Необходимость проведения операции при поверке

первичной

периодической

Внешний осмотр

8.1

Да

Да

Измерение вместимости ТМ объемным методом:

- с применением мерников

8.2

Да

Да

- с применением счетчиков жидкости

8.3

Да

Да

Измерение вместимости ТМ массовым методом:

- взвешиванием ТМ на весах

8.4

Да

Да

- взвешиванием вспомогательной тары при сливе поверочной жидкости из ТМ во вспомогательную тару

8.5

Да

Да

- взвешиванием вспомогательной тары при сливе поверочной жидкости из вспомогательной тары в ТМ

8.6

Да

Да

Проверка работоспособности воздухоотводящего устройства

8.7

Да

Да

Проверка полноты слива жидкости самотеком из ТМ

8.8

Да

Нет

Проверка работоспособности ограничителя наполнения ТМ и системы отключения подачи жидкости ТМ (при наличии)

8.9

Да

Да

6 Средства поверки

6.1 Основные средства поверки ТМ следующие.

6.1.1 При измерении вместимости ТМ объемным методом с применением мер вместимости (мерников):

- эталонные мерники 2-го разряда вместимостью 200; 500; 1000; 2000 и 5000 дм3 по ГОСТ 8.400;

- шкальный мерник 1-го класса вместимостью 100 или 200 дм3, ценой деления шкалы 0,5 дм3 по ГОСТ 13844;

- эталонные стеклянные колбы 2-го разряда, измерительные цилиндры по ГОСТ 1770.

6.1.2 При измерении вместимости ТМ объемным методом с применением счетчиков жидкости:

- счетчик жидкости (шестеренчатый, лопастной, турбинный и др.) с непосредственным отсчетом объема воды в кубических дециметрах или с импульсным выходом по ГОСТ 28066. Основная относительная погрешность не более ±0,15 %;

- манометр, пределы допускаемой погрешности которого не более ±0,4 %;

- эталонный мерник 2-го разряда вместимостью не менее 500 или 1000 дм3 по ГОСТ 8.400;

- турбинный преобразователь расхода ТПР 14-2-1 В, пределы допускаемой погрешности которого ±0,4 % [1].

Примечания

1 Турбинный преобразователь расхода (далее - ТПР) применяют для определения расхода поверочной жидкости.

2 Счетчики жидкости перед применением должны быть отградуированы и поверены в соответствии с [2] или [3].

6.1.3 При измерении вместимости ТМ массовым методом:

- весы для статического взвешивания по ГОСТ 29329, пределы допускаемой погрешности измерения которых составляют не более ±0,1 % действительного значения измеряемой массы.

6.1.4 Вспомогательные средства поверки и устройства, применяемые при измерении вместимости ТМ:

- термометр с ценой деления шкалы не более 0,5 °С и диапазоном измерений температуры от 0 °С до плюс 50 °С по ГОСТ 28498;

- секундомер 3-го класса точности с ценой деления шкалы 0,2 с по [4];

- контрольный уровень по ГОСТ 9392 или нивелир с рейкой по ГОСТ 10528;

- воронка;

- вспомогательная тара;

- поверочная жидкость. В качестве поверочной жидкости применяют воду по 3.6;

- микрокалькулятор типа «Электроника»;

- ровная горизонтальная площадка (бетонная, деревянная или металлическая) с углом наклона не более Г;

- ровная наклонная площадка (бетонная, деревянная или металлическая) с углом наклона 3° или подъемные устройства, обеспечивающие угол наклона 3° в обе стороны.

Примечание - Допускается применение переносной наклонной площадки с углом наклона 3°.

6.2 Средства измерений, применяемые при измерении вместимости ТМ и подлежащие поверке организациями национальной (государственной) метрологической службы, должны быть поверены этими организациями.

Весы для статического взвешивания, применяемые при измерении вместимости ТМ, следует поверять не реже одного раза в квартал.

6.3 Допускается применение других средств измерений, в том числе и передвижных поверочных установок, прошедших поверку в установленном порядке и удовлетворяющих по точности требованиям настоящего стандарта.

7 Условия поверки и подготовка к ней

7.1 При поверке должны быть соблюдены следующие условия.

7.1.1 Значение температуры поверочной жидкости и окружающей среды - (20 ± 10) °С.

7.1.2 Значение изменения температуры поверочной жидкости в ТМ и эталонных мерниках во время поверки должно быть не более 2 °С.

7.1.3 Температуру поверочной жидкости измеряют в горловине эталонного мерника и в ТМ на глубине половины высоты ТМ через ее горловину после выдержки термометра на этой глубине и в горловине мерника в течение 1 - 3 мин. При этом показания термометра снимают, удерживая нижнюю часть термометра в поверочной жидкости.

7.1.4 При поверке ТМ с применением счетчика жидкости значение расхода поверочной жидкости должно быть равно значению номинального расхода счетчика, указанному в его паспорте. Допускается отклонение значения расхода поверочной жидкости от значения номинального расхода счетчика не более чем на ±2 %.

7.1.5 Вместимость ТМ измеряют при поверке с учетом вместимости ее отстойника (при наличии).

7.1.6 Вместимость эталонных мерников должна составлять не менее 1/25 вместимости поверяемой ТМ.

7.1.7 При наличии в ТМ отдельных секций каждую из них поверяют как отдельную меру вместимости.

7.1.8 ТМ при поверке устанавливают на ровную горизонтальную площадку с углом наклона не более Г.

7.2 Перед проведением поверки выполняют следующие подготовительные работы.

7.2.1 Подготавливают ровную горизонтальную площадку (бетонную, деревянную или металлическую) с углом наклона не более 1° и размерами, достаточными для установки ТМ при поверке.

7.2.2 Устанавливают ТМ на горизонтальную площадку по 7.2.1.

7.2.3 Подготавливают ТМ к осмотру ее внутренней поверхности.

7.2.4 Проверяют визуально чистоту внутренней поверхности ТМ, она должна быть чистой, без осадков грязи, остатков нефтепродуктов и масел. В случае необходимости ее промывают поверочной жидкостью (водой).

7.2.5 Подготавливают средства поверки к работе согласно технической документации на них, утвержденной в установленном порядке.

8 Проведение поверки

8.1 Внешний осмотр

8.1.1 При первичной поверке ТМ устанавливают соответствие ТМ требованиям технической документации на ТМ1).

________

1) На территории Российской Федерации - требованиям ГОСТ Р 50913-96 (пункты 5.1.1.4, 5.1.4.2, 5.1.6.13, 5.1.6.16, 5.4.1, 6.14).

8.1.2 При периодической поверке ТМ, находящейся в эксплуатации, устанавливают:

- наличие маркировочной таблички и информации на ней в соответствии с 3.2, 3.3 и 3.11, а также места нанесения поверительного клейма;

- отсутствие вмятин и выпучин на стенках и горловине ТМ;

- отсутствие неслитой жидкости и посторонних предметов в ТМ;

- чистоту внутренней поверхности ТМ (визуально);

- исправность резьбовых соединений и уплотнительных прокладок;

- отсутствие повреждений лакокрасочных покрытий.

8.1.3 Проверка герметичности ТМ

8.1.3.1 ТМ наполняют поверочной жидкостью до указателя уровня налива и выдерживают в таком состоянии в течение 15 мин.

8.1.3.2 После выполнения операции по 8.1.3.1 визуально осматривают места соединений, уплотнений и наружную поверхность ТМ.

8.1.3.3 ТМ считают герметичной, если при визуальном осмотре не будет обнаружено в местах соединений, уплотнений и на поверхности ТМ наличие течи (каплепадений), влаги.

8.1.3.4 Сливают поверочную жидкость из ТМ, в том числе из ее отстойника (при наличии) и после слива поверочной жидкости сплошной струей выдерживают краны и нижний (донный клапан) открытыми в течение 1,5 мин на слив капель со стенок ТМ.

Примечания

1 Если процесс наполнения ТМ длился более 30 мин, то выдерживать ее с поверочной жидкостью не обязательно.

2 Герметичность ТМ допускается проверять при выполнении операций по 8.2 - 8.6.

3 Если проверку герметичности совмещают с выполнением операций по 8.2 - 8.6, то необходимо смочить внутреннюю поверхность ТМ поверочной жидкостью и слить ее из ТМ в соответствии с 8.1.3.4.

8.2 Измерение вместимости ТМ объемным методом с применением мерников

8.2.1 Вместимость ТМ измеряют с помощью эталонных мерников 2-го разряда (рисунок Б.1) в последовательности:

а) проверяют, закрыт ли нижний (донный) клапан 7 или сливной кран и кран отстойника (при их наличии). Сливной кран и кран отстойника на рисунке Б.1 не показаны;

б) при отсутствии патрубка подачи нефтепродукта опускают шланг 4 вовнутрь ТМ;

в) заполняют эталонные мерники (далее - мерники) 2, 3 и шкальный мерник 1 поверочной жидкостью;

г) измеряют температуру поверочной жидкости в мерниках 2 и (или) 3 в соответствии с 7.1.3. За начальную температуру поверочной жидкости в ТМ принимают температуру поверочной жидкости в мерниках 2 и (или) 3 при наливе в ТМ первой дозы поверочной жидкости;

д) сливают поверочную жидкость из мерников 2 и (или) 3 в 6 (ТМ);

е) выдерживают открытыми сливные краны мерников 2 и (или) 3 на слив капель в течение полутора минут;

ж) операцию по наполнению мерников 2 и (или) 3 поверочной жидкостью и сливу ее в ТМ повторяют до тех пор, пока уровень поверочной жидкости в ТМ (или секции ТМ) не будет близок к указателю уровня налива;

и) выдерживают ТМ с поверочной жидкостью в течение пяти минут;

к) проверяют уровень поверочной жидкости в горловине ТМ. Если уровень поверочной жидкости будет ниже указателя уровня налива, то с помощью шкального мерника (или эталонных стеклянных колб, или измерительных цилиндров) доливают поверочную жидкость до верхней плоскости полки указателя уровня налива в горловине (далее - до указателя уровня налива).

Действительную вместимость ТМ, установленную при поверке , дм3, вычисляют по формуле

                                                (1)

где V1, V2, V3, ..., Vi - объемы поверочной жидкости, измеренные с помощью эталонных и шкальных мерников или эталонных колб и измерительных цилиндров, дм3;

л) измеряют температуру поверочной жидкости в ТМ в соответствии с 7.1.3. При этом разность температур поверочной жидкости, измеренных в мерниках 2 и(или) 3 и 6 (ТМ), не должна превышать 2 °С;

м) сливают поверочную жидкость из ТМ, в том числе из ее отстойника (при наличии).

Результаты измерений вместимости ТМ по 8.2.1 (перечисление и) и температуры поверочной жидкости по 8.2.1 (перечисление к) вносят в протокол (приложение В).

8.2.2 Значение действительной вместимости ТМ, установленное при поверке по 8.2.1, должно находиться в пределах, указанных в 4.1.2. При этом разность между номинальной и действительной вместимостями ТМ  в процентах номинальной ее вместимости вычисляют по формуле

                                                    (2)

где  - действительная вместимость ТМ, вычисленная по формуле (1), дм3;

Vном - номинальная вместимость ТМ, указанная на маркировочной табличке ТМ, дм3.

8.2.3 Относительную погрешность ТМ , %, вычисляют по формуле

                                                        (3)

где Vд - действительная вместимость ТМ, указанная на маркировочной табличке ТМ, дм3;

 - действительная вместимость ТМ, установленная при поверке по 8.2.1, дм3.

Полученное значение относительной погрешности ТМ не должно превышать указанного в 4.1.4.

8.2.4 Если эталонные мерники и ТМ изготовлены из разных материалов и температура в ТМ при поверке отличается от температуры 20 °С, то вместимость ТМ, приведенную к вместимости при температуре при 20 °С , дм3, вычисляют по формуле

                                                        (4)

где Nт - коэффициент, предназначенный для приведения вместимости ТМ к температуре 20 °С, вычисляемый по формуле

                                                         (5)

Nо - коэффициент, учитывающий изменение вместимости эталонных мерников в зависимости от температуры и вычисляемый по формуле

                                                      (6)

где βт, βм - коэффициенты объемного расширения материалов ТМ и эталонных мерников, 1/°С.

Значения коэффициентов Nт, Nо, определенные по формулам (5) и (6), указаны в таблице Г.1 (приложение Г).

8.2.5 Относительную погрешность ТМ δ2, %, действительная вместимость которой приведена к вместимости при температуре 20 °С в соответствии с 8.2.4, вычисляют по формуле

                                                        (7)

Полученное значение относительной погрешности ТМ не должно превышать значения, указанного в 4.1.4.

8.3 Измерение вместимости ТМ объемным методом с применением счетчиков жидкости

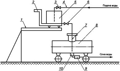
8.3.1 Вместимость ТМ при ее поверке измеряют с помощью счетчика жидкости (рисунок Б.2, приложение Б).

8.3.2 Перед поверкой проводят следующие подготовительные работы:

а) проверяют положение нижнего (донного) клапана 1 или клапана отстойника (при наличии) кранов 5, 6, 11 и вентиля 10. Они должны быть закрыты;

б) ТМ подготовляют к поверке в соответствии с 7.2, а счетчик жидкости 7 и эталонный мерник 12 - в соответствии с техническими документами на них, утвержденными в установленном порядке;

в) систему измерения наполняют поверочной жидкостью, промывают и испытывают ее на герметичность под рабочим давлением. Контроль наполнения осуществляют с помощью воздушного крана 6, установленного на возвышенном месте системы. Систему измерения считают герметичной, если при визуальном осмотре в местах соединений трубопроводов и шлангов не будет обнаружено течи (каплепадений);

г) определяют расход поверочной жидкости в соответствии с приложением Д.

8.3.3 Вместимость ТМ измеряют в последовательности (рисунок Б.2, приложение Б):

а) проверяют, закрыт ли нижний (донный клапан) 1 или кран отстойника (при наличии). Отстойник и его кран на рисунке Б.2 приложения Б не показаны;

б) опускают шланг 4 вовнутрь ТМ в соответствии с 8.2.1 (перечисление б);

в) записывают показание счетчика жидкости 7 (qн) или (Nн);

г) открывают кран 5;

д) наполняют ТМ поверочной жидкостью до указателя уровня налива;

е) закрывают кран 5;

ж) записывают вторично показание счетчика жидкости 7 (qк) или (Nн);

и) записывают показание манометра 8 (Рс);

к) измеряют температуру поверочной жидкости в ТМ в соответствии с 7.1.3.

Показания счетчика жидкости и манометра в соответствии с 8.3.3 (перечисления в), ж), к) вносят в протокол (приложение Е).

8.3.4 Действительную вместимость ТМ, установленную при поверке , дм3, вычисляют по формуле

                                                            (8)

или

                                                           (9)

где Kп - коэффициент преобразования счетчика жидкости, имп/дм3.

8.3.5 Значение действительной вместимости ТМ, вычисленное по формуле (8) или (9), должно находиться в пределах, указанных в 4.1.2. При этом разность между номинальной и действительной вместимостями ТМ  в процентах ее номинальной вместимости вычисляют по формуле

                                                     (10)

где  - действительная вместимость ТМ, установленная при поверке по 8.3.4, дм3;

Vном - номинальная вместимость ТМ, дм3.

8.3.6 Относительную погрешность ТМ δ3, %, вычисляют по формуле

                                                      (11)

где Vд - действительная вместимость ТМ, указанная на маркировочной табличке ТМ.

Полученное значение относительной погрешности ТМ не должно превышать значения, указанного в 4.1.4.

8.3.7 Если температура поверочной жидкости в ТМ отличается от температуры 20 °С, то вместимость ТМ, приведенную к температуре 20 °С , дм3, вычисляют по формуле

                                                          (12)

где Nт - коэффициент, предназначенный для приведения вместимости ТМ к температуре 20 °С. Его значения указаны в приложении Г.

8.3.8 Относительную погрешность ТМ δ4, %, вычисляют по формуле

                                                       (13)

Полученное значение относительной погрешности ТМ не должно превышать значения, указанного в 4.1.4.

8.4 Измерение вместимости ТМ массовым методом - взвешиванием ТМ на весах

8.4.1 Вместимость ТМ измеряют в последовательности:

а) устанавливают весы на горизонтальную площадку, подготовленную в соответствии с 7.2.1;

б) устанавливают ТМ на платформу весов так, чтобы передняя и задняя оси ТМ находились примерно на одинаковом расстоянии от концов платформы;

в) опускают шланг вовнутрь ТМ в соответствии с 8.2.1 (перечисление б);

г) проверяют герметичность ТМ в соответствии с 8.1.3;

д) взвешивают незаполненную (пустую) ТМ;

е) наполняют ТМ поверочной жидкостью до указателя уровня налива;

ж) взвешивают ТМ, наполненную поверочной жидкостью;

и) измеряют температуру поверочной жидкости в ТМ в соответствии с 7.1.3;

к) открывают нижний (донный) клапан 1 (рисунок Б.2) или кран отстойника (при наличии), сливают сплошной струей поверочную жидкость из ТМ, после чего выдерживают клапан и кран отстойника открытыми в течение 1,5 мин на слив капель со стенок ТМ;

л) закрывают нижний (донный) клапан или клапан отстойника (при наличии).

Результаты измерений массы незаполненной (пустой) и наполненной поверочной жидкостью ТМ в соответствии с 8.4.1 (перечисления д, ж, и)) и температуры поверочной жидкости в ТМ вносят в протокол (приложение Ж).

8.4.2 Действительную вместимость ТМ, установленную при поверке , дм3, вычисляют по формуле

                                                   (14)

где А - коэффициент, учитывающий значение плотности поверочной жидкости в зависимости от температуры и условий взвешивания ТМ в воздухе;

m - масса ТМ с поверочной жидкостью, кг;

mо - масса незаполненной (пустой) ТМ, кг.

Коэффициент А вычисляют по формуле

                                                  (15)

где ρ1 - плотность воздуха, значение которой принято равным 1,2 кг/м3;

ρ2 - плотность поверочной жидкости, кг/м3. Значения коэффициента A приведены в приложении И.

8.4.3 Значение действительной вместимости ТМ, вычисленное по формуле (14), должно находиться в пределах, указанных в 4.1.2. При этом разность между номинальной и действительной вместимостями , %, вычисляют по формуле

                                                    (16)

8.4.4 Относительную погрешность , %, вычисляют по формуле

                                                       (17)

где Vд - действительная вместимость ТМ, указанная на маркировочной табличке ТМ, дм3.

8.4.5 Если температура поверочной жидкости в ТМ отличается от температуры 20 °С, то вместимость ТМ, приведенную к температуре 20 °С, , дм3, вычисляют по формуле

                                                          (18)

где Nт - коэффициент, значения которого указаны в приложении Г.

8.4.6 Относительную погрешность ТМ δ6, %, вычисляют по формуле

                                                     (19)

8.4.7 Значение относительной погрешности ТМ, определенное по формуле (17) или (19), не должно превышать значения, указанного в 4.1.4.

8.5 Измерение вместимости ТМ массовым методом - взвешиванием вспомогательной тары при сливе поверочной жидкости из ТМ во вспомогательную тару

8.5.1 Вместимость вспомогательной тары, в которую сливают поверочную жидкость из ТМ при поверке, должна быть не менее 1/25 номинальной вместимости ТМ.

8.5.2 Вместимость ТМ измеряют в последовательности (рисунок К.1, приложение К):

а) устанавливают ТМ на эстакаду 1, которая должна иметь угол наклона не более 1°;

б) опускают шланг 4 вовнутрь ТМ в соответствии с 8.2.1 (перечисление б);

в) открывают кран 3, наполняют ТМ поверочной жидкостью до указателя уровня налива;

г) подсоединяют шланг 7 к гидросистеме слива 6 и свободный конец шланга опускают во вспомогательную тару 8;

д) проверяют герметичность ТМ в соответствии с 8.1.3;

е) смачивают вспомогательную тару следующим образом: сливают поверочную жидкость из вспомогательной тары сплошной струей, после чего выдерживают кран 10 открытым в течение 1,5 мин на слив капель;

ж) взвешивают незаполненную (пустую) вспомогательную тару на весах 9;

и) наполняют ТМ поверочной жидкостью до указателя уровня налива;

к) измеряют температуру поверочной жидкости в ТМ в соответствии с 7.1.3;

л) открывают нижний (донный) клапан 2, сливают поверочную жидкость из ТМ во вспомогательную тару в количестве, соответствующем верхнему пределу взвешивания весов 9;

м) закрывают клапан 2;

н) взвешивают вспомогательную тару, наполненную поверочной жидкостью;

п) сливают поверочную жидкость из вспомогательной тары, открыв кран 10 в трубопроводе 11;

р) смачивают вспомогательную тару в соответствии с перечислением е);

с) закрывают кран 10 и взвешивают незаполненную (пустую) вспомогательную тару на весах;

т) открывают клапан 2 и сливают вторую дозу поверочной жидкости из ТМ во вспомогательную тару;

у) закрывают клапан 2;

ф) взвешивают вспомогательную тару, наполненную поверочной жидкостью;

х) сливают поверочную жидкость из вспомогательной тары, открыв кран 10, и смачивают вспомогательную тару в соответствии с перечислением е). Повторяя операции перечислений с), т), у), ф), х), измеряют массу третьей, четвертой и т.д. доз поверочной жидкости до полного опорожнения ТМ и ее отстойника (при наличии).

Результаты измерений массы пустой и наполненной вспомогательной тары и температуры поверочной жидкости в ТМ в соответствии с 8.5.2 (перечисления ж), к), н), п), у), ф), х)) вносят в протокол (приложение Л).

8.5.3 Действительную вместимость , дм3, установленную при поверке, вычисляют по формуле

                                              (20)

где А - коэффициент, значения которого указаны в приложении И;

mi - масса вспомогательной тары, наполненной поверочной жидкостью, при i-м измерении, кг;

тoj - масса пустой вспомогательной тары при j-м измерении, кг;

k - число измерений.

8.5.4 Значение действительной вместимости ТМ, вычисленное по формуле (20), должно находиться в пределах, указанных в 4.1.2. При этом разность между номинальной и действительной вместимостями  в процентах ее номинальной вместимости вычисляют по формуле

                                                (21)

8.5.5 Относительную погрешность ТМ δ7, %, вычисляют по формуле

                                                  (22)

где Vд - действительная вместимость ТМ, указанная на маркировочной табличке ТМ, дм3.

8.5.6 Если температура поверочной жидкости в ТМ отличается от температуры 20 °С, то вместимость ТМ, приведенную к температуре 20 °С, , дм3, вычисляют по формуле

                                                        (23)

где Nт - коэффициент, значения которого указаны в приложении Г.

8.5.7 Относительную погрешность ТМ δ8, %, вычисляют по формуле

                                                  (24)

8.5.8 Значения относительной погрешности ТМ, определенные по формулам (22) и (24), должны удовлетворять требованию 4.1.4.

8.6 Измерение вместимости ТМ массовым методом - взвешиванием вспомогательной тары при сливе поверочной жидкости из вспомогательной тары в ТМ

8.6.1 Вместимость вспомогательной тары должна удовлетворять требованию 8.5.1.

8.6.2 Вместимость ТМ измеряют в последовательности (рисунок К.2, приложение К):

а) устанавливают ТМ 8 на горизонтальную площадку и подготавливают ее к поверке в соответствии с 7.2. При этом горловина ТМ должна находиться напротив сливного крана 6 вспомогательной тары 5;

б) опускают шланг 7 вовнутрь ТМ в соответствии с 8.2.1 (перечисление б));

в) смачивают ТМ и вспомогательную тару:

- открывают краны 3 и 6;

- наполняют поверочной жидкостью ТМ до указателя уровня налива и вспомогательную тару до ее полной вместимости;

- закрывают краны 3 и 6 и проверяют ТМ в соответствии с 8.1.3.1 - 8.1.3.3;

- открывают нижний (донный) клапан 10, сливают поверочную жидкость из ТМ и вспомогательной тары через гидросистему слива 9. Сливают поверочную жидкость также из отстойника ТМ, открыв его кран при наличии. Отстойник и его кран на рисунке К.2 не показаны;

- выдерживают нижний клапан 10 в открытом положении на слив капель в течение полутора минут;

- закрывают кран 6 и нижний клапан 10;

г) взвешивают пустую вспомогательную тару;

д) открывают кран 3, наполняют вспомогательную тару поверочной жидкостью в количестве, соответствующем верхнему пределу взвешивания весов 2;

е) закрывают кран 3;

ж) взвешивают вспомогательную тару, наполненную поверочной жидкостью;

и) измеряют температуру поверочной жидкости во вспомогательной таре;

к) открывают кран 6, сливают поверочную жидкость из вспомогательной тары в ТМ, выдерживают кран 6 в открытом положении на слив капель в течение полутора минут;

л) закрывают кран 6;

м) выполняя операции перечислений г), д), е), ж), и), к), л), наливают вторую, третью и т.д. дозу поверочной жидкости из вспомогательной тары в ТМ до указателя ее уровня налива;

н) измеряют температуру поверочной жидкости в ТМ.

При этом значение разности температур поверочной жидкости (воды), измеренных во вспомогательной таре (первой дозы) и ТМ, должно быть не более 2 °С;

п) открывают клапан 10, сливают поверочную жидкость через гидросистему слива 9.

Результаты измерений массы пустой и наполненной вспомогательной тары и температуры поверочной жидкости в ТМ и вспомогательной таре в соответствии с 8.6.2 (перечисления г), ж), н)) вносят в протокол (приложение Л).

8.6.3 Значение вместимости ТМ, вычисленное по формуле (20), должно находиться в пределах, указанных в 4.1.2, а значение относительной погрешности ТМ, вычисленное по формуле (22) или (24), должно удовлетворять требованию 4.1.4.

8.7 Проверка работоспособности воздухоотводящего устройства

Работоспособность воздухоотводящего устройства проверяют в последовательности, приведенной ниже.

8.7.1 Устанавливают незаполненную ТМ на площадке (или на подъемных устройствах, обеспечивающих угол наклона 3° в обе стороны) с углом наклона 3°. Угол наклона проверяют с помощью уровня по ГОСТ 9392 или нивелира с рейкой по ГОСТ 10528.

8.7.2 Наполняют ТМ, установленную на площадку по 8.7.1, поверочной жидкостью до указателя уровня налива.

8.7.3 Устанавливают ТМ, наполненную поверочной жидкостью в соответствии с 8.7.2, на горизонтальную площадку по 7.2.1 и выдерживают ее в течение пяти минут. Проверяют уровень поверочной жидкости в горловине ТМ.

Значение изменения уровня поверочной жидкости h, мм, в горловине ТМ не должно превышать результата вычисления по формулам:

а) для горловин цилиндрической формы

∆h1 = 0,0262 · Dг;                                                       (25)

б) для горловин прямоугольной (квадратной) формы

∆h2 = 0,0262 · lг;                                                         (26)

где Dг - диаметр цилиндрической горловины, мм;

lг - длина стороны прямоугольной горловины, направленной вдоль продольной оси ТМ, мм.

8.7.4 Совершают автопробег по дороге с плохим покрытием в течение пяти минут или проводят три - четыре резких торможения ТМ при скорости 10 - 15 км/ч в течение пяти минут. Устанавливают ТМ на горизонтальную плоскость с углом наклона не более 1° и выдерживают в течение пяти минут. Проверяют уровень поверочной жидкости в горловине ТМ.

Объем поверочной жидкости, соответствующий снижению ее уровня относительно указателя уровня, не должен быть более 0,1 % номинальной вместимости ТМ.

При этом объем поверочной жидкости, доливаемый до указателя уровня, определяют с помощью стеклянных эталонных колб или измерительных цилиндров.

8.8 Проверка полноты слива жидкости самотеком из ТМ

Полноту слива жидкости самотеком из ТМ проверяют в последовательности, приведенной ниже.

8.8.1 Устанавливают ТМ, наполненную поверочной жидкостью до указателя уровня налива, на горизонтальную площадку с углом наклона не более 1°. Открывают нижний (донный) клапан 7 (например, рисунок Б.1, приложение Б) и сливают поверочную жидкость из ТМ, в том числе из ее отстойника (при наличии).

8.8.2 Закрывают нижний (донный) клапан 7.

8.8.3 Устанавливают ТМ на площадке с углом наклона 3° или на подъемных устройствах, обеспечивающих угол наклона 3°.

8.8.4 Открывают нижний (донный) клапан 7, сливают остаток поверочной жидкости из ТМ (в том числе из отстойника) и измеряют объем этого остатка.

Значение объема остатка поверочной жидкости V, дм3, слитого из ТМ, не должно превышать результата вычисления по формуле

∆V = 1,0 · 10-3 · Vном,                                                   (27)

где Vном - номинальная вместимость ТМ, дм3.

8.9 Проверка работоспособности ограничителя наполнения ТМ и системы отключения подачи жидкости в ТМ (при наличии)

Работоспособность ограничителя наполнения ТМ и системы отключения подачи жидкости в ТМ (секции) при ее наполнении проверяют в последовательности:

- устанавливают незаполненную ТМ на площадку с углом наклона не более 1°;

- включают в работу систему для автоматической подачи жидкости;

- наполняют ТМ (секции) поверочной жидкостью до уровня, соответствующего действительной вместимости, установленной при поверке.

При достижении уровня, соответствующего действительной вместимости, установленной при поверке, должны сработать ограничитель наполнения ТМ (секции) и система автоматического отключения подачи жидкости в ТМ (секции).

Значение изменения уровня поверочной жидкости (недолива или перелива) относительно указателя уровня налива в горловине ТМ Δh3, мм, не должно превышать результата вычисления по формуле

                                                  (28)

где Vном - номинальная вместимость ТМ, дм3;

Dг - диаметр горловины ТМ, мм.

9 Оформление результатов поверки

9.1 Результаты поверки ТМ оформляют записью в протоколе (приложения В, Е, Ж, Л). При этом значение действительной вместимости ТМ, установленное при ее поверке объемным методом, округляют до 1 дм3 и значение массы поверочной жидкости, определенное при поверке ТМ массовым методом, - до 1 кг.

9.2 На ТМ, прошедшую поверку с положительными результатами (при выполнении требований 4.1.2, 4.1.4, 8.7 - 8.9), выдают свидетельство о поверке (форма свидетельства о поверке приведена в приложении М), а также наносят оттиск поверительного клейма на маркировочную табличку ТМ и на заклепку, крепящую указатель уровня налива.

9.3 Если расхождение между вместимостью ТМ, установленной при поверке, и вместимостью ТМ, указанной в свидетельстве о поверке, не превышает относительную погрешность ТМ (±0,4 %), то значение вместимости, указанное на маркировочной табличке ТМ и в свидетельстве о поверке, не изменяют. В этом случае на ранее выданном свидетельстве делают надпись:

«Автоцистерна (прицеп) № ________ поверена

______________________________________________________________________________________________________________________________________________________

число, месяц, год

Вместимость соответствует указанной в свидетельстве о поверке и составляет ____ дм3, в том числе (при необходимости): 1-я секция ______ дм3, 2-я секция ___ дм3, ... , n-я секция ____ дм3 (где п - число секций)», - которую заверяет руководитель отдела (группы) Организации национальной (государственной) метрологической службы или метрологической службы юридического лица, аккредитованной на право поверки ТМ, и ставят печать, предназначенную для свидетельств.

На маркировочную табличку ТМ наносят новый оттиск поверительного клейма.

9.4 Если при поверке ТМ установлено, что значение ее действительной вместимости отличается от значения действительной вместимости, указанного на маркировочной табличке ТМ и в свидетельстве о поверке, более чем на ±0,4 %, то обозначение вместимости, нанесенное на маркировочной табличке, удаляют и в соответствии с 4.1.3 и 4.1.4 определяют новое значение действительной вместимости ТМ.

На маркировочной табличке набивают новое обозначение действительной вместимости ТМ, наносят новый оттиск поверительного клейма и выдают новое свидетельство о поверке.

9.5 Межповерочный интервал - два года.

Приложение А
(обязательное)

Основные технические и метрологические требования к горловине ТМ

А.1 В горловине ТМ (рисунок А.1) должен быть установлен указатель уровня налива, изготовленный из стального угольника размерами 50×50 мм. К горизонтальной полке угольника, заподлицо с краем полки, должна быть прикреплена накладная алюминиевая пластинка. Угольник должен быть приварен к горловине и скреплен со стенкой горловины с помощью заклепки из цветного металла. Заклепка должна проходить через полку угольника и стенку горловины и быть приспособленной для нанесения поверительного клейма.

А.2 Значение расстояния по вертикали между верхней образующей ТМ до места установки указателя уровня налива в горловине hу (рисунок А.1) должно быть не менее результата вычисления по формуле

hу = 0,0524 · l,                                                             (А.1)

где l - расстояние от угольника до дальнего днища ТМ, мм;

0,0524 - число, полученное из условия наклона ТМ на 3°.

А.3 Определение предельно допускаемых значений диаметра цилиндрической и сторон прямоугольной горловин

А.3.1 Значение диаметра цилиндрической горловины ТМ Dг, мм, не должно превышать результата вычисления по формуле

                                          (А.2)

где Vном - номинальная вместимость ТМ, м3.

А.3.2 Значение длины стороны прямоугольной горловины, направленной вдоль продольной оси ТМ lг, мм, не должно превышать результата вычисления по формуле

                                           (А.3)

где bг - ширина прямоугольной горловины, м;

Vном - номинальная вместимость ТМ, м3.

В формуле (А.3) значение ширины горловины bг, выбирают из условия оптимального соотношения длины и ширины горловины.

А.4 Высоту части горловины над указателем уровня налива hг (рисунок А.1), мм, рассчитывают по формуле

                                              (А.4)

где Vном - номинальная вместимость ТМ, м3;

S - площадь поперечного сечения горловины ТМ, мм2.

Значение % в формуле (А.2) принимают равным 3,14159.

Значение диаметра горловины, вычисляемое по формуле (А.2), должно быть выбрано в соответствии с ГОСТ 25570 из ряда: 600; 650; 710; 775; 900; 950; 1000; 1120; 1320; 1400; 1500 мм.

Значение площади горловины, длину и ширину которой определяют по формуле (А.4), выбирают из ряда: 282700; 311800; 395900; 471700; 636200; 708800; 785400; 985200; 1368500; 1539400; 1767100 мм2.

А.5 На уровне указателя уровня налива должно быть расположено смотровое окно для контроля полноты налива нефтепродукта. Высота смотрового окна должна быть в пределах изменения уровня налива. Допускается установка стекла «клинкер» вместо указателя уровня налива в горловине и смотрового окна.

А.6 Требования, изложенные в А.1 - А.4, распространяются только на вновь изготовляемые ТМ и не распространяются:

- на ТМ, выпускаемые по сертификату до окончания его срока действия;

- на ТМ, в горловине которых отсутствует указатель уровня наполнения, предусмотренный в А.1.

1 - верхняя образующая ТМ; 2 - горловина ТМ; 3 - указатель уровня наполнения; 4 - крышка горловины

Рисунок А.1 - Схема горловины ТМ

Приложение Б
(рекомендуемое)

Измерение вместимости ТМ объемным методом

1 - шкальный мерник вместимостью 100 дм3;
2, 3 - эталонные мерники 2-го разряда вместимостью 200 или 500 дм3; 4 - шланг; 5 - гидросистема слива;
6 - ТМ; 7 - нижний (донный) клапан

Рисунок Б.1 - Схема измерения вместимости ТМ при поверке объемным методом
с применением мерников

1 - нижний (донный) клапан; 2 - гидросистема слива; 3 - ТМ; 4 - шланг; 5, 6, 11, 13 - краны;
7 - счетчик жидкости; 8 - манометр; 9 - фильтр; 10 - вентиль; 12 - эталонный мерник;
14 - сливной трубопровод

Рисунок Б.2 - Схема измерения вместимости ТМ при поверке объемным методом
с применением счетчика жидкости

Приложение В
(обязательное)

Форма протокола поверки с применением мерников

ПРОТОКОЛ ПОВЕРКИ

_______________________________________________________________________

наименование, номер ТМ

Предприятие-изготовитель __________________________________________________

Дата изготовления _________________________________________________________

Принадлежащий ___________________________________________________________

Номер шасси автомобиля ___________________________________________________

Государственный номерной знак автомобиля __________________________________

Таблица В.1

Дата проверки

Температура воды в ТМ при
проверке t, °С

Вместимость ТМ, дм3

Относительная погрешность

Заключение (годна, забракована, указать причину)

Номер выданного свидетельства о поверке

Vд

δ12)

Примечания

1 Значение  определяют по формуле (1).

2 Значение  определяют по формуле (4).

3 Значение  определяют по формуле (2).

4 Значение δ12) определяют по формулам (3) и (7).

Поверитель ___________                  __________________

подпись                                    инициалы, фамилия

Приложение Г
(справочное)

Значения коэффициентов Nт, No, учитывающих объемные расширения ТМ и
эталонных мерников в зависимости от температуры

Таблица Г.1

Температура воды в TM, t, °C

Значение Nт для ТМ из

Значение No для эталонных мерников из

стали

алюминия

стали

меди

алюминия

10

1,0003

1,0007

0,9997

0,9995

0,9993

11

1,0003

1,0006

0,9997

0,9996

0,9994

12

1,0003

1,0006

0,9997

0,9996

0,9994

13

1,0002

1,0005

0,9998

0,9997

0,9995

14

1,0002

1,0004

0,9998

0,9997

0,9996

15

1,0002

1,0004

0,9998

0,9998

0,9997

16

1,0001

1,0003

0,9999

0,9998

0,9997

17

1,0001

1,0002

0,9999

0,9999

0,9998

18

1,0001

1,0001

0,9999

0,9999

0,9999

19

1,0000

1,0000

1,0000

1,0000

0,9999

20

1,0000

1,0000

1,0000

1,0000

1,0000

21

1,0000

0,9999

1,0000

1,0001

1,0001

22

0,9999

0,9999

1,0001

1,0001

1,0001

23

0,9999

0,9998

1,0001

1,0002

1,0002

24

0,9999

0,9997

1,0001

1,0002

1,0003

25

0,9998

0,9996

1,0002

1,0003

1,0004

26

0,9998

0,9996

1,0002

1,0003

1,0004

27

0,9998

0,9995

1,0002

1,0004

1,0005

28

0,9997

0,9994

1,0003

1,0004

1,0006

29

0,9997

0,9994

1,0003

1,0005

1,0006

30

0,9997

0,9993

1,0003

1,0005

1,0007

Приложение Д
(рекомендуемое)

Определение расхода поверочной жидкости

Д.1 Объем поверочной жидкости, проходящий через счетчик жидкости при определении ее расхода, может быть измерен эталонным мерником (рисунок Б.2, приложение Б) или турбинным преобразователем расхода (рисунок Д.1).

Д.2 В случае применения эталонного мерника (рисунок Б.2, приложение Б):

- открывают вентиль 10 и краны 11, 13, пропускают поверочную жидкость через эталонный мерник 12 и сливают в трубопровод 14;

- измеряют секундомером время, в течение которого стрелка указателя счетчика жидкости сделает не менее одного оборота (ролик счетного механизма счетчика с непосредственным отсчетом объема поверочной жидкости в кубических дециметрах поворачивается на один оборот), или число импульсов, зарегистрированных счетным механизмом, составит не менее 1000 импульсов (для счетчиков жидкости с импульсным выходом);

- выдерживают открытым кран 13 на слив капель в течение полутора минут и после этого кран 13 закрывают.

Расход поверочной жидкости Q, дм3/с, вычисляют по формулам:

а) в случае применения счетчика жидкости, выходным сигналом которого является объем поверочной жидкости, по формуле

                                                      (Д.1)

б) в случае применения счетчика жидкости с импульсным выходом по формуле

                                                       (Д.2)

где qʹк, к - показания счетчика жидкости, соответствующие концу отсчета времени, дм3, имп.;

qʹн, н - показания счетчика жидкости, соответствующие началу отсчета времени, дм3, имп.;

t - время, определенное по секундомеру, с;

Kʹп - коэффициент преобразования счетчика жидкости, значение которого указано на шкале счетного механизма конкретного счетчика жидкости.

При этом значение расхода поверочной жидкости, определенное по формуле (Д.1) или (Д.2), должно удовлетворять условию 7.1.4. Если это условие не выполнено, то с помощью вентиля 10 (рисунок Б.2 приложения Б) изменяют значение расхода поверочной жидкости и, повторяя операции, изложенные выше, устанавливают требуемое значение расхода.

В случае применения турбинного преобразователя расхода (рисунок Д.1):

- турбинный преобразователь расхода (ТПР) включают в работу, настраивают и проверяют на герметичность в соответствии с техническим описанием и инструкцией по эксплуатации на него;

- открывают вентили 1 и 6 и пропускают поверочную жидкость через ТПР и счетчик жидкости 4 в сливной трубопровод 5;

- измеряют секундомером время, в течение которого число импульсов, зарегистрированных счетным механизмом счетчика жидкости 4, составит не менее 1000 импульсов;

- фиксируют показания указателя расхода 3 ТПР;

- закрывают вентили 1 и 6.

При этом значение расхода поверочной жидкости должно удовлетворять условию 7.1.4. Если это условие не выполнено, то, повторяя вышеуказанные операции, регулятором расхода 7 устанавливают значение расхода поверочной жидкости, соответствующее условию 7.1.4.

1, 6 - вентили; 2 - фильтр; 3 - указатель расхода; 4 - счетчик жидкости; 5 - сливной трубопровод;
7 - регулятор расхода; 8 - ТПР

Рисунок Д.1 - Схема определения расхода поверочной жидкости при использовании
ТПР

Приложение Е
(обязательное)

Форма протокола поверки ТМ с применением счетчиков жидкости

ПРОТОКОЛ ПОВЕРКИ

_______________________________________________________________________

наименование, номер ТМ

Предприятие-изготовитель __________________________________________________

Дата изготовления _________________________________________________________

Принадлежащий ___________________________________________________________

Номер шасси автомобиля ___________________________________________________

Государственный номерной знак автомобиля __________________________________

Таблица E.1

Дата поверки

Результат измерения

Результат расчета

Заключение (годна, забракована,
указать причину)

Номер выданного свидетельства

qн, дм3

qк, дм3

Nн, имп.

Nк, имп.

pc, МПА

t, °C

, дм3

, %

δ3 4)

Примечания

1 Значения  определяют по формулам (8) или (9).

2 Значение , определяют по формуле (10).

3 Значения δ34) определяют по формулам (11) и (13).

Поверитель ___________                  __________________

подпись                                    инициалы, фамилия

Приложение Ж
(обязательное)

Форма протокола поверки ТМ взвешиванием ТМ на весах

ПРОТОКОЛ ПОВЕРКИ

_______________________________________________________________________

наименование, номер ТМ

Предприятие-изготовитель __________________________________________________

Дата изготовления _________________________________________________________

Принадлежащий ___________________________________________________________

Номер шасси автомобиля ___________________________________________________

Государственный номерной знак автомобиля __________________________________

Таблица Ж.1

Дата поверки

Температура
воды в ТМ при проверке t, °С

Масса ТМ, кг

Вместимость ТМ, дм3

Относительная
погрешность

Заключение (годна, забракована, указать причину)

Номер выданного свидетельства

mо

m

Vд

δ56)

Примечания

1 Значения ,  определяют по формулам (14) или (18).

2 Значение  определяют по формуле (16).

3 Значения δ56) определяют по формулам (17) и (19).

Поверитель ___________                  __________________

подпись                                    инициалы, фамилия

Приложение И
(обязательное)

Значения коэффициента А и пример расчета вместимости ТМ

Таблица И.1

Температура, °С

Плотность, кг/м3

Коэффициент А

Температура, °С

Плотность, кг/м3

Коэффициент А

10

999,699

1,001500

21

997,992

1,003217

11

999,605

1,001596

22

997,770

1,003440

12

999,486

1,001721

23

997,538

1,003674

13

999,377

1,001825

24

997,296

1,003918

14

999,244

1,001958

25

997,045

1,004171

15

999,099

1,002104

26

996,783

1,004440

16

998,943

1,002210

27

996,513

1,004708

17

998,775

1,002429

28

996,233

1,004990

18

998,595

1,002610

29

995,945

1,005281

19

998,405

1,002801

30

995,647

1,005582

20

998,204

1,003004

Пример - Масса поверочной жидкости (воды) в ТМ, измеренная на весах при температуре 25 °С, равна 3982 кг. Объем поверочной жидкости при температуре 25 °С равен 3982×1,004171 = 3998,6 дм3. Вместимость ТМ, приведенная к температуре 20 °С, равна 3998,6×0,9998 = 3997,8 3998 дм3.

Приложение К
(рекомендуемое)

Измерение вместимости ТМ массовым методом

1 - эстакада; 2 - нижний (донный) клапан; 3 - наливной кран; 4 - шланг; 5 - ТМ; 6 - гидросистема слива;
7 - сливной шланг; 8 - вспомогательная тара; 9 - весы; 10 - сливной кран; 11 - сливной трубопровод

Рисунок К.1 - Схема измерения вместимости ТМ при поверке массовым методом -
взвешиванием вспомогательной тары при сливе поверочной жидкости (воды) из ТМ
во вспомогательную тару

1 - эстакада; 2 - весы; 3 - наливной кран; 4 - наливной трубопровод; 5 - вспомогательная тара; 6 - сливной
кран: 7 - сливной шланг; 8 - ТМ; 9 - гидросистема слива; 10 - нижний (донный) клапан

Рисунок К.2 - Схема измерения вместимости ТМ при поверке массовым методом -
взвешиванием вспомогательной тары при сливе поверочной жидкости (воды)
из вспомогательной тары в ТМ

Приложение Л
(обязательное)

Форма протокола поверки ТМ взвешиванием ТМ на весах

ПРОТОКОЛ ПОВЕРКИ

_______________________________________________________________________

наименование, номер ТМ

Предприятие-изготовитель __________________________________________________

Дата изготовления _________________________________________________________

Принадлежащий ___________________________________________________________

Номер шасси автомобиля ___________________________________________________

Государственный номерной знак автомобиля __________________________________

Таблица Л.1

Дата поверки

Температура
воды в ТМ при проверке t, °С

Масса вспомогательной
тары, кг

Вместимость ТМ, дм3

Относительная
погрешность

Заключение (годна, забракована, указать причину)

Номер выданного свидетельства

mоj

mi

Vд

δ78)

Примечания

1 Значения  определяют по формуле (20).

2 Значение  определяют по формуле (23).

3 Значение  определяют по формуле (21).

4 Значения δ78) определяют по формулам (22) и (24).

Поверитель ___________                  __________________

подпись                                    инициалы, фамилия

Приложение М
(рекомендуемое)

Форма свидетельства о поверке ТМ

ГЕРБ СТРАНЫ СНГ

___________________________________________________________________________

наименование органа Национальной (государственной) метрологической службы или метрологической службы юридического лица

СВИДЕТЕЛЬСТВО О ПОВЕРКЕ № __________

Автоцистерна (прицеп-цистерна, полуприцеп-цистерна) _________________________

тип _______________________________________________________________________

номер _____________________________________________________________________

принадлежащая _____________________________________________________________

На основании результатов первичной (периодической) поверки признана годной и допущена к применению.

Оттиск
поверительного клейма
или печати (штампа)

Дата следующей поверки
(срок действия свидетельства)

 

Руководитель отдела (группы)

____________________________

подпись

_______________________________

инициалы, фамилия

Поверитель

____________________________

подпись

_______________________________

инициалы, фамилия

 

 

 

«___» ______ 200 __ г.

Руководитель

___________________________

наименование юридического лица

Физическое лицо

_____________________________

подпись

_______________________________

инициалы, фамилия

_____________________________

подпись

_______________________________

инициалы, фамилия

Форма обратной стороны свидетельства

РЕЗУЛЬТАТЫ ПОВЕРКИ

Вместимость автоцистерны (прицепа-цистерны, полуприцепа-цистерны) измерена _________ методом и равна _____ дм3

В том числе:

1-я секция _______________________ дм3 ______________________ дм3

прописью                                                        цифры

2-я секция _______________________ дм3 ______________________ дм3

прописью                                                       цифры

...

i-я секция ________________________ дм3 ______________________ дм3

прописью                                                       цифры

начиная от кабины водителя.

Поверитель

_______________________________

подпись

____________________________________

инициалы, фамилия

Дата поверки

_______________________________

число, месяц, год

Библиография

[1]

Технические условия 4Е2.833.031 ТУ

Турбинный преобразователь расхода ТПР 14-2-1В

[2]

Рекомендация по метрологии МИ 1974-95

Государственная система обеспечения единства измерений. Преобразователи расхода турбинные. Методика поверки

[3]

Рекомендация по метрологии МИ 583-84

Государственная система обеспечения единства измерений. Преобразователи расхода роторные образцовые. Методика поверки

[4]

Технические условия ТУ 25-1819.0021-90

Секундомеры

 

Ключевые слова: автоцистерна, вместимость, взвешивание, поверка, средства поверки, погрешность, прицеп, полуприцеп, мерник, счетчик, весы, вода, операция, цистерна, расширение, количество, температура, платформа, наполнение, слив, капля