Скачать ГОСТ 33689-2015 Контейнеры и контрейлеры автономные автоматические изотермические. Технические требования и методы испытанийДата актуализации: 01.01.2021
|
| Обозначение: | ГОСТ 33689-2015 |
| Обозначение англ: | GOST 33689-2015 |
| Статус: | введен впервые |
| Название рус.: | Контейнеры и контрейлеры автономные автоматические изотермические. Технические требования и методы испытаний |
| Название англ.: | Autonomic automatical isothermal containers and contrailers. Technical requirements and test methods |
| Дата добавления в базу: | 01.02.2017 |
| Дата актуализации: | 01.01.2021 |
| Дата введения: | 01.03.2017 |
| Область применения: | Стандарт устанавливает технические требования и методы испытаний автономных автоматических изотермических контейнеров, предназначенных для перевозки грузов железнодорожным, морским и автомобильным транспортом на полуприцепе (контрейлеры) как в прямом, так и в смешанном сообщении. Требования стандарта являются минимальными в части минимальной и максимальной расчетной наружной температуры, при которой контейнер сохраняет свои эксплуатационные качества. |
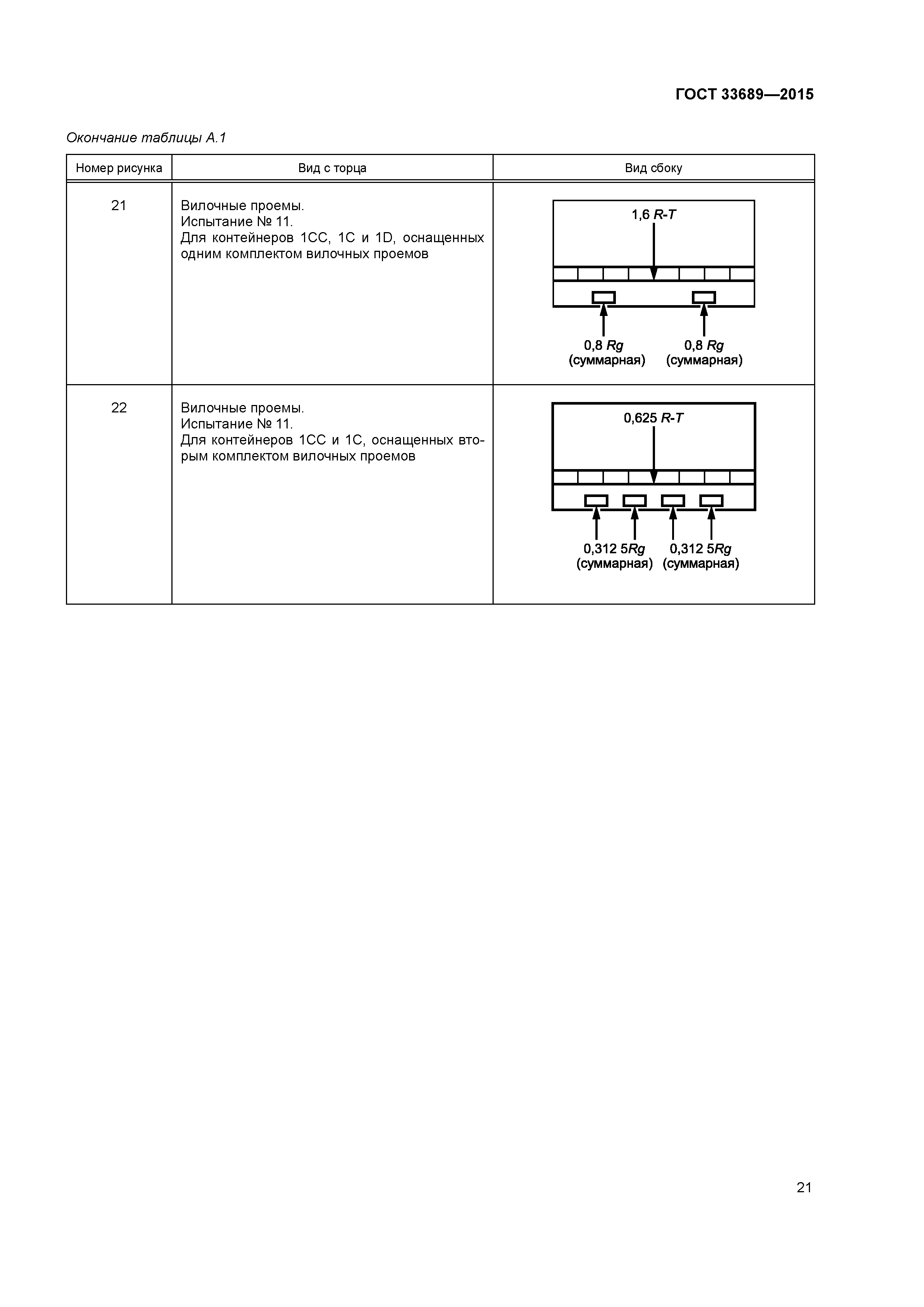
| Оглавление: | 1 Область применения 2 Нормативные ссылки 3 Термины и определения 4 Размеры и максимальная масса брутто 5 Технические требования 6 Методы испытаний 7 Электротехническое оборудование изотермических контейнеров Приложение А (обязательное) Схематическое изображение мест приложения и значений сил для проверки прочности и жесткости конструкций контейнеров всех типов группового кода BU (за исключением особо обусловленных случаев) Приложение Б (обязательное) Размеры паза для полуприцепа "гусиная шея" (при наличии) Приложение В (обязательное) Впускные и выходные устройства системы воздухообмена и крепления дизель-генератора к торцу контейнера Приложение Г (обязательное) Расположение фаз в вилках и розетках контейнера. Четырехполюсная электрическая вилка и розетка Приложение Д (справочное) Источники электропитания для изотермических контейнеров |
| Разработан: | ЗАО ПромтрансНИИпроект |
| Утверждён: | 12.11.2015 Межгосударственный Совет по стандартизации, метрологии и сертификации (Inter-Governmental Council on Standardization, Metrology, and Certification 82-П) 02.06.2016 Федеральное агентство по техническому регулированию и метрологии (499-ст) |
| Издан: | Стандартинформ (2016 г. ) Стандартинформ (2019 г. ) |
| Нормативные ссылки: |


































