Скачать ГОСТ 20527-82 Фитинги угловые крупнотоннажных контейнеров. Конструкция и размерыДата актуализации: 01.01.2021
|
| Обозначение: | ГОСТ 20527-82 |
| Обозначение англ: | GOST 20527-82 |
| Статус: | взамен |
| Название рус.: | Фитинги угловые крупнотоннажных контейнеров. Конструкция и размеры |
| Название англ.: | Angle fittings for gross weight freigt containers. Desing and dimensions |
| Дата добавления в базу: | 01.09.2013 |
| Дата актуализации: | 01.01.2021 |
| Дата введения: | 01.01.1983 |
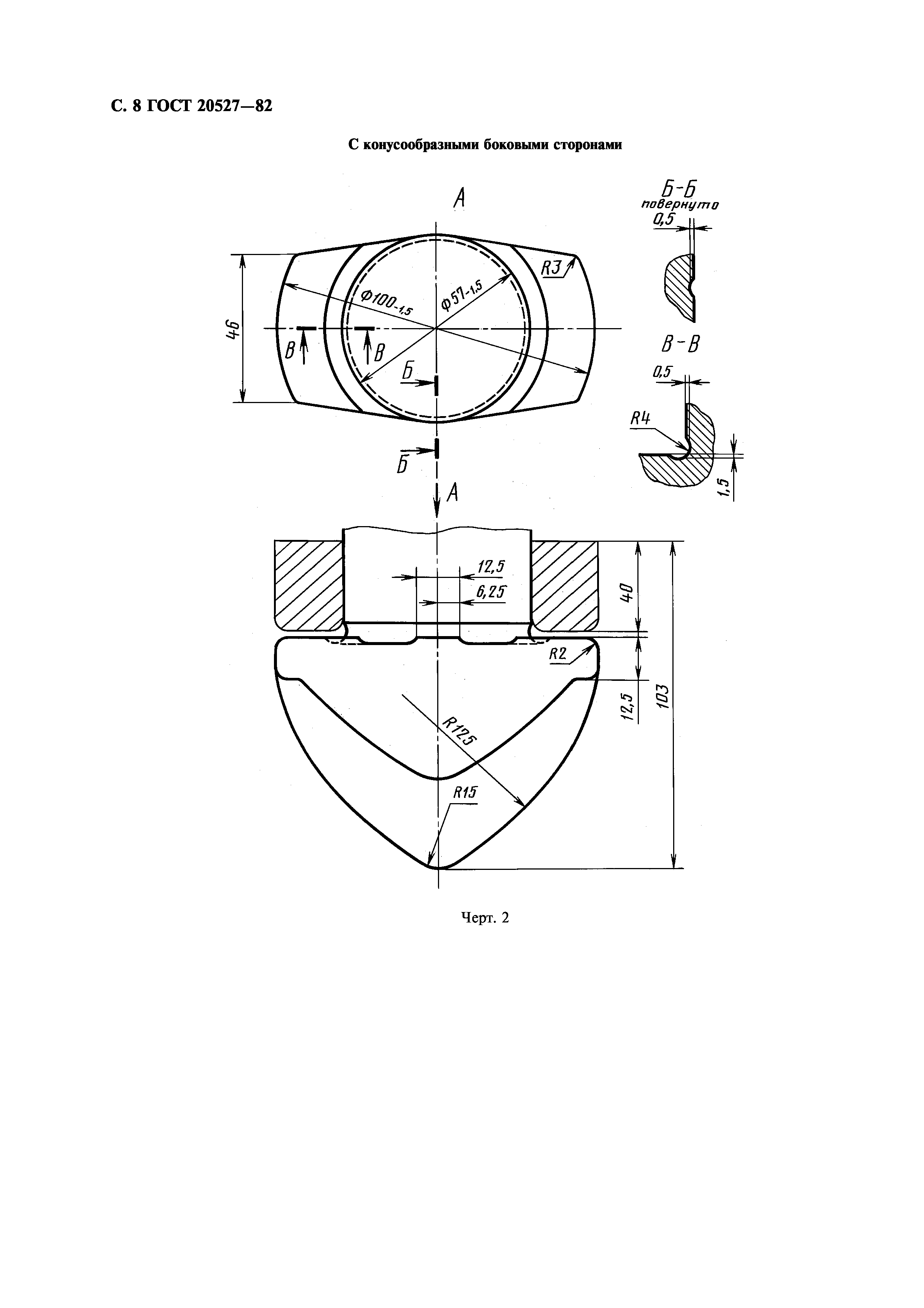
| Область применения: | Стандарт распространяется на угловые фитинги крупнотоннажных контейнеров. Стандарт не распространяется на фитинги авиационных контейнеров |
| Оглавление: | Приложение 1 (обязательное) Расположение фитингов на контейнере Приложение 2 (справочное) Замки поворотные |
| Разработан: | Министерство тяжелого и транспортного машиностроения |
| Утверждён: | 31.03.1982 Государственный комитет СССР по стандартам (USSR National Committee on Standards 1365) |
| Издан: | Издательство стандартов (1982 г. ) ИПК Издательство стандартов (2004 г. ) |
| Заменяет собой: |
|
| Нормативные ссылки: |
|









