Скачать ГОСТ Р 56944-2016 Краны грузоподъемные. Пути рельсовые крановые надземные. Общие технические условия

Дата актуализации: 01.01.2021

ГОСТ Р 56944-2016

Краны грузоподъемные. Пути рельсовые крановые надземные. Общие технические условия

Обозначение: ГОСТ Р 56944-2016
Обозначение англ: GOST R 56944-2016
Статус:введен впервые
Название рус.:Краны грузоподъемные. Пути рельсовые крановые надземные. Общие технические условия
Название англ.:Cranes. Overhead crane railway. General specifications
Дата добавления в базу:01.02.2017
Дата актуализации:01.01.2021
Дата введения:01.04.2017
Область применения:Стандарт распространяется на надземные рельсовые крановые пути, предназначенные для передвижения во время эксплуатации внутри цехов и на эстакадах грузоподъемных мостовых кранов (включая опорные и подвесные), полукозловых и полупортальных кранов, передвижных консольных кранов, монорельсовых грузовых тележек, а также электрических и ручных талей. Стандарт устанавливает требования к проектированию, изготовлению, монтажу, ремонту и безопасной эксплуатации указанных надземных рельсовых путей, а также требования по обеспечению безопасности при эксплуатации кранов на надземных рельсовых путях.
Оглавление:1 Область применения
2 Нормативные ссылки
3 Термины и определения
4 Обозначения
5 Основные положения
   5.1 Общие технические требования
   5.2 Требования к проектированию и изготовлению элементов конструкций
   5.3 Требования к стальным и железобетонным подкрановым балкам
   5.4 Указания по монтажу
   5.5 Приемо-сдаточные испытания
   5.6 Эксплуатация
   5.7 Надежность и гарантии
Приложение А (справочное) Стыки рельсов и рельсовые скрепления
Приложение Б (справочное) Варианты узла крепления рельса к подкрановой балке и иным строительным конструкциям
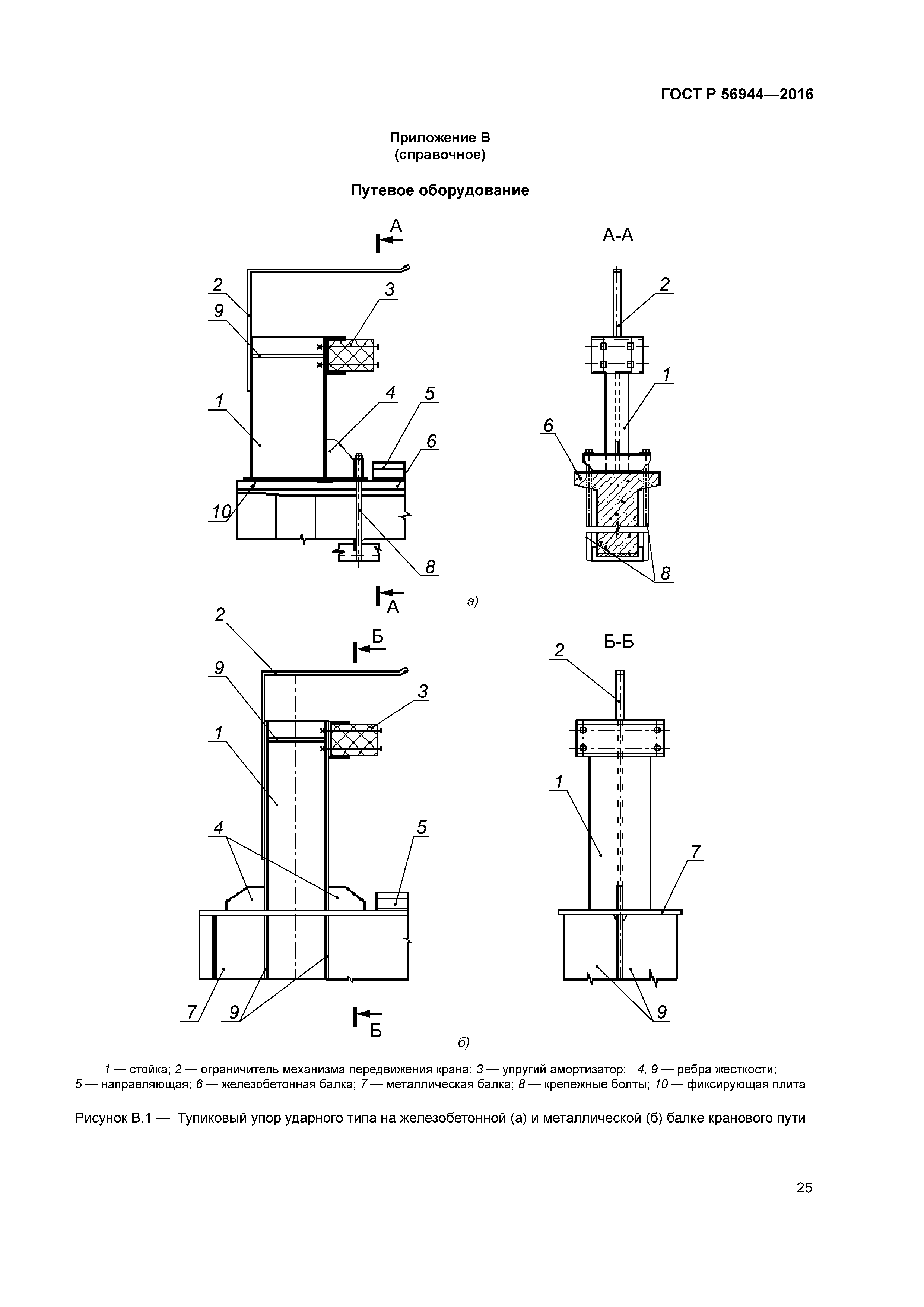
Приложение В (справочное) Путевое оборудование
Приложение Г (обязательное) Предельные величины отклонений от проектного положения и износа элементов надземных рельсовых крановых путей
Приложение Д (рекомендуемое) Форма акта сдачи-приемки надземного рельсового кранового пути в эксплуатацию
Приложение Е (рекомендуемое) Форма паспорта надземного рельсового кранового пути
Библиография
Разработан: МАрхИ
АО РАТТЕ
Утверждён:01.06.2016 Федеральное агентство по техническому регулированию и метрологии (463-ст)
Издан: Стандартинформ (2016 г. )
Нормативные ссылки:
ГОСТ Р 56944-2016ГОСТ Р 56944-2016ГОСТ Р 56944-2016ГОСТ Р 56944-2016ГОСТ Р 56944-2016ГОСТ Р 56944-2016ГОСТ Р 56944-2016ГОСТ Р 56944-2016ГОСТ Р 56944-2016ГОСТ Р 56944-2016ГОСТ Р 56944-2016ГОСТ Р 56944-2016ГОСТ Р 56944-2016ГОСТ Р 56944-2016ГОСТ Р 56944-2016ГОСТ Р 56944-2016ГОСТ Р 56944-2016ГОСТ Р 56944-2016ГОСТ Р 56944-2016ГОСТ Р 56944-2016ГОСТ Р 56944-2016ГОСТ Р 56944-2016ГОСТ Р 56944-2016ГОСТ Р 56944-2016ГОСТ Р 56944-2016ГОСТ Р 56944-2016ГОСТ Р 56944-2016ГОСТ Р 56944-2016ГОСТ Р 56944-2016ГОСТ Р 56944-2016ГОСТ Р 56944-2016ГОСТ Р 56944-2016ГОСТ Р 56944-2016ГОСТ Р 56944-2016ГОСТ Р 56944-2016ГОСТ Р 56944-2016ГОСТ Р 56944-2016ГОСТ Р 56944-2016ГОСТ Р 56944-2016ГОСТ Р 56944-2016ГОСТ Р 56944-2016ГОСТ Р 56944-2016ГОСТ Р 56944-2016ГОСТ Р 56944-2016ГОСТ Р 56944-2016ГОСТ Р 56944-2016ГОСТ Р 56944-2016ГОСТ Р 56944-2016ГОСТ Р 56944-2016