Скачать ВСН 381-77 Инструкция о составе и оформлении электротехнических рабочих чертежей для промышленного строительства

Дата актуализации: 01.01.2021

ВСН 381-77

Инструкция о составе и оформлении электротехнических рабочих чертежей для промышленного строительства

Обозначение: ВСН 381-77
Обозначение англ: VSN 381-77
Статус:заменен
Название рус.:Инструкция о составе и оформлении электротехнических рабочих чертежей для промышленного строительства
Название англ.:Electrical Construction Documents - General Requirements and Guidelines on Composition and Format
Дата добавления в базу:01.01.2019
Дата актуализации:01.01.2021
Дата введения:15.09.1977
Дата окончания срока действия:01.01.1986
Область применения:Инструкция устанавливает состав и правила оформления рабочих чертежей электротехнической части проектов для промышленного строительства
Оглавление:1 Область применения
2 Состав рабочих чертежей
3 Комплектование рабочих чертежей
4 Состав заказных спецификаций
5 Обозначение рабочих чертежей
6 Основные надписи
7 Оформление чертежей
8 Оформление текстовых документов
9 Условные обозначения
Приложение 1. Стандарты ЕСКД, подлежащие учету при выполнении электротехнических рабочих чертежей для промышленного строительства
Приложение 2. Состав основных комплектов рабочих чертежей по видам проектных работ
Приложение 3. Рекомендуемые масштабы изображений на рабочих чертежах
Приложение 4. Спецификация на электротехническом рабочем чертеже (порядок составления и примеры формулировок текста)
Приложение 5. Дополнительные условные обозначения, применяемые в чертежах (не вошедшие в действующие ГОСТ)
   Формы 1а, 2в, 2г, 3 - 22
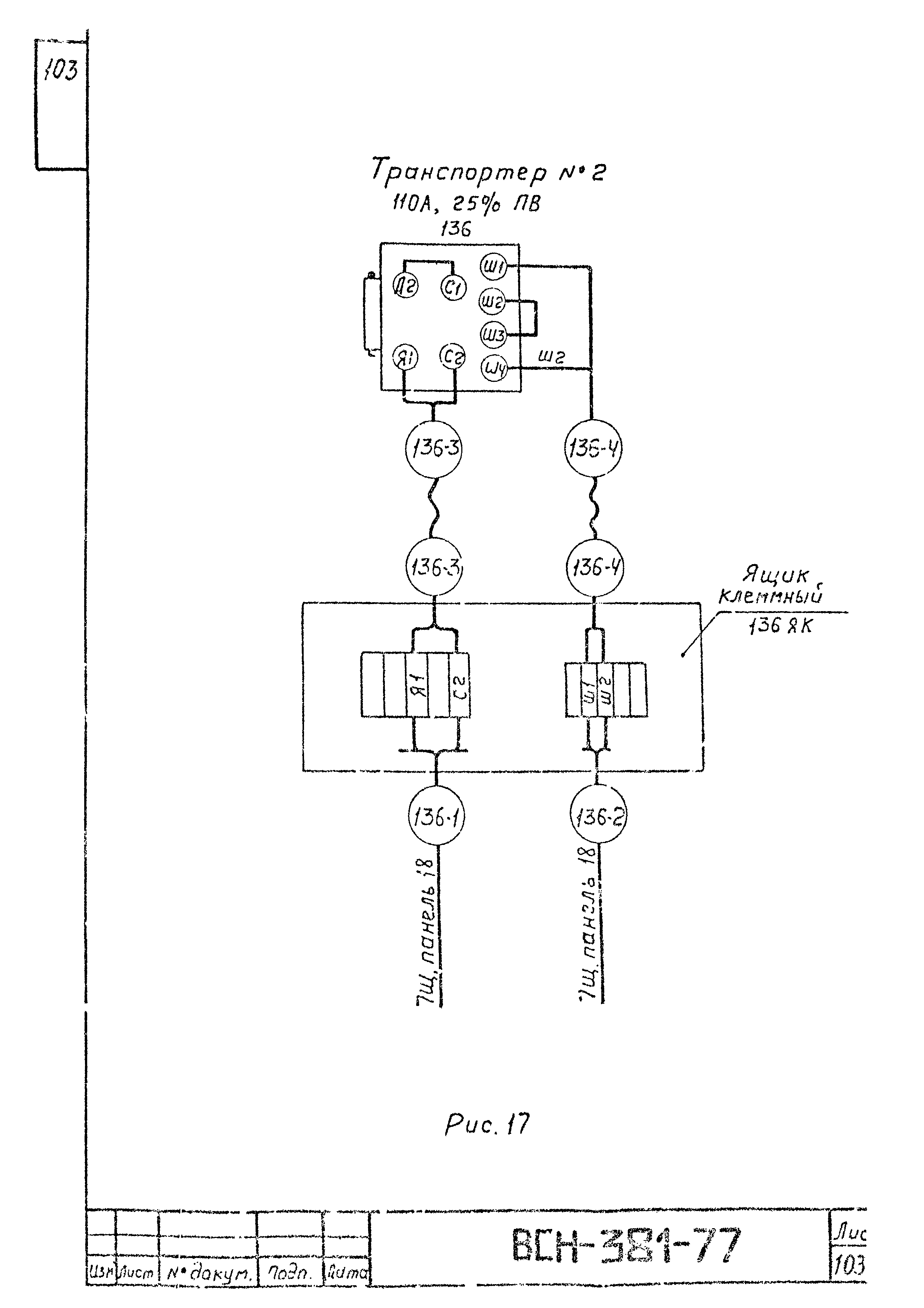
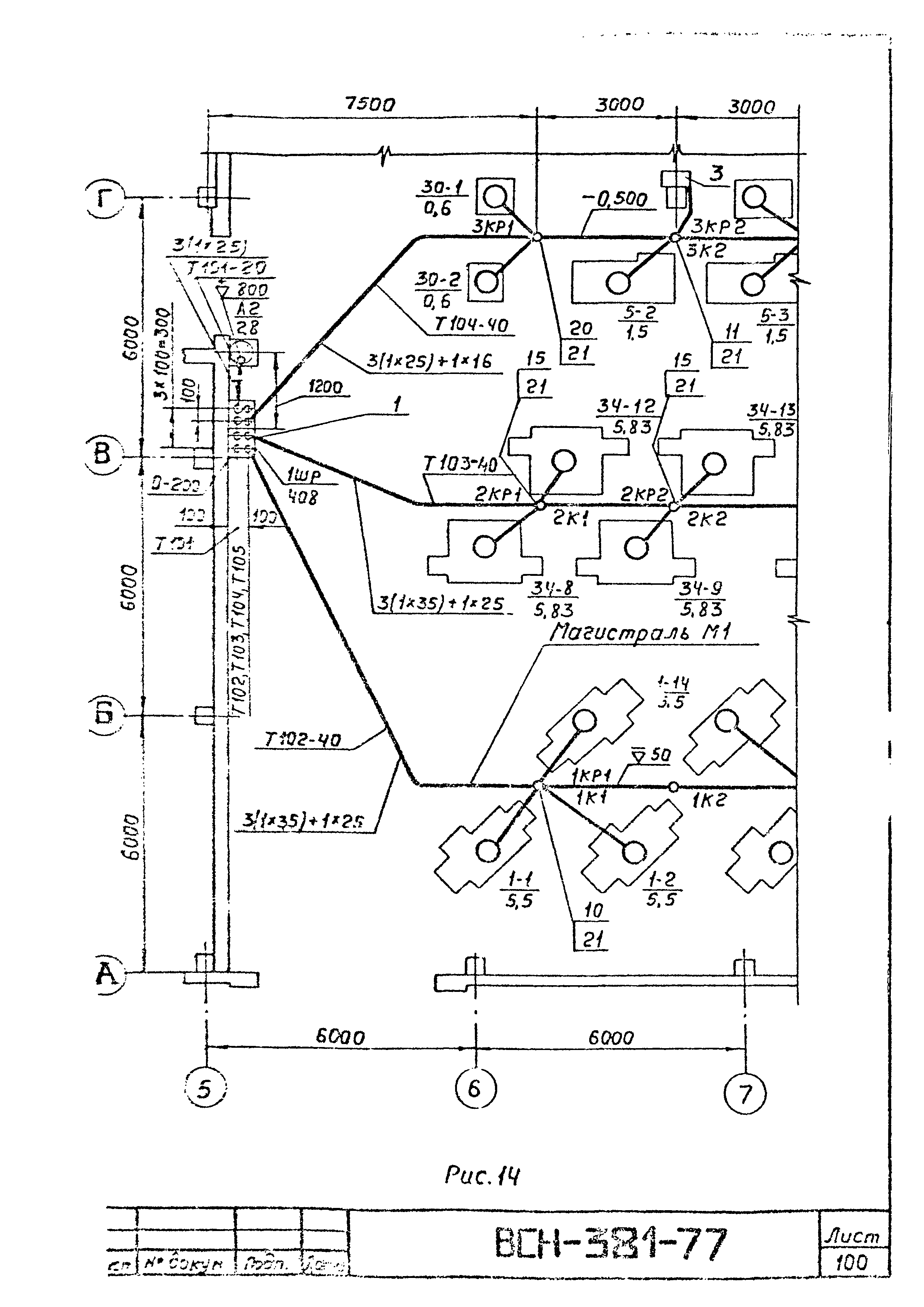
   Рисунки 1 - 19
Разработан: ГПИ Тяжпромэлектропроект Минмонтажспецстроя СССР
Утверждён:23.05.1977 Министерство монтажных и специальных строительных работ СССР (USSR Ministry of Industrial Installations and Military Construction )
Принят:31.03.1977 Государственный комитет Совета Министров СССР по делам строительства
Заменяет собой:
  • ВСН 381-77/ММСС СССР «Инструкция о составе и оформлении электротехнических рабочих чертежей для промышленного строительства»
Нормативные ссылки:
ВСН 381-77ВСН 381-77ВСН 381-77ВСН 381-77ВСН 381-77ВСН 381-77ВСН 381-77ВСН 381-77ВСН 381-77ВСН 381-77ВСН 381-77ВСН 381-77ВСН 381-77ВСН 381-77ВСН 381-77ВСН 381-77ВСН 381-77ВСН 381-77ВСН 381-77ВСН 381-77ВСН 381-77ВСН 381-77ВСН 381-77ВСН 381-77ВСН 381-77ВСН 381-77ВСН 381-77ВСН 381-77ВСН 381-77ВСН 381-77ВСН 381-77ВСН 381-77ВСН 381-77ВСН 381-77ВСН 381-77ВСН 381-77ВСН 381-77ВСН 381-77ВСН 381-77ВСН 381-77ВСН 381-77ВСН 381-77ВСН 381-77ВСН 381-77ВСН 381-77ВСН 381-77ВСН 381-77ВСН 381-77ВСН 381-77ВСН 381-77ВСН 381-77ВСН 381-77ВСН 381-77ВСН 381-77ВСН 381-77ВСН 381-77ВСН 381-77ВСН 381-77ВСН 381-77ВСН 381-77ВСН 381-77ВСН 381-77ВСН 381-77ВСН 381-77ВСН 381-77ВСН 381-77ВСН 381-77ВСН 381-77ВСН 381-77ВСН 381-77ВСН 381-77ВСН 381-77ВСН 381-77ВСН 381-77ВСН 381-77ВСН 381-77ВСН 381-77ВСН 381-77ВСН 381-77ВСН 381-77ВСН 381-77ВСН 381-77ВСН 381-77ВСН 381-77ВСН 381-77ВСН 381-77ВСН 381-77ВСН 381-77ВСН 381-77ВСН 381-77ВСН 381-77ВСН 381-77ВСН 381-77ВСН 381-77ВСН 381-77ВСН 381-77ВСН 381-77ВСН 381-77ВСН 381-77ВСН 381-77ВСН 381-77ВСН 381-77ВСН 381-77ВСН 381-77ВСН 381-77ВСН 381-77